指南生活
首页
美食营养
手工爱好
生活家居
返回
指南生活
首页
美食营养
游戏数码
手工爱好
生活家居
健康养生
运动户外
职场理财
情感交际
母婴教育
时尚美容
知识问答
搜索
Preliminary TM57ML40 8位微型控制器使用手册:[5]
2025-11-21 23:44:58
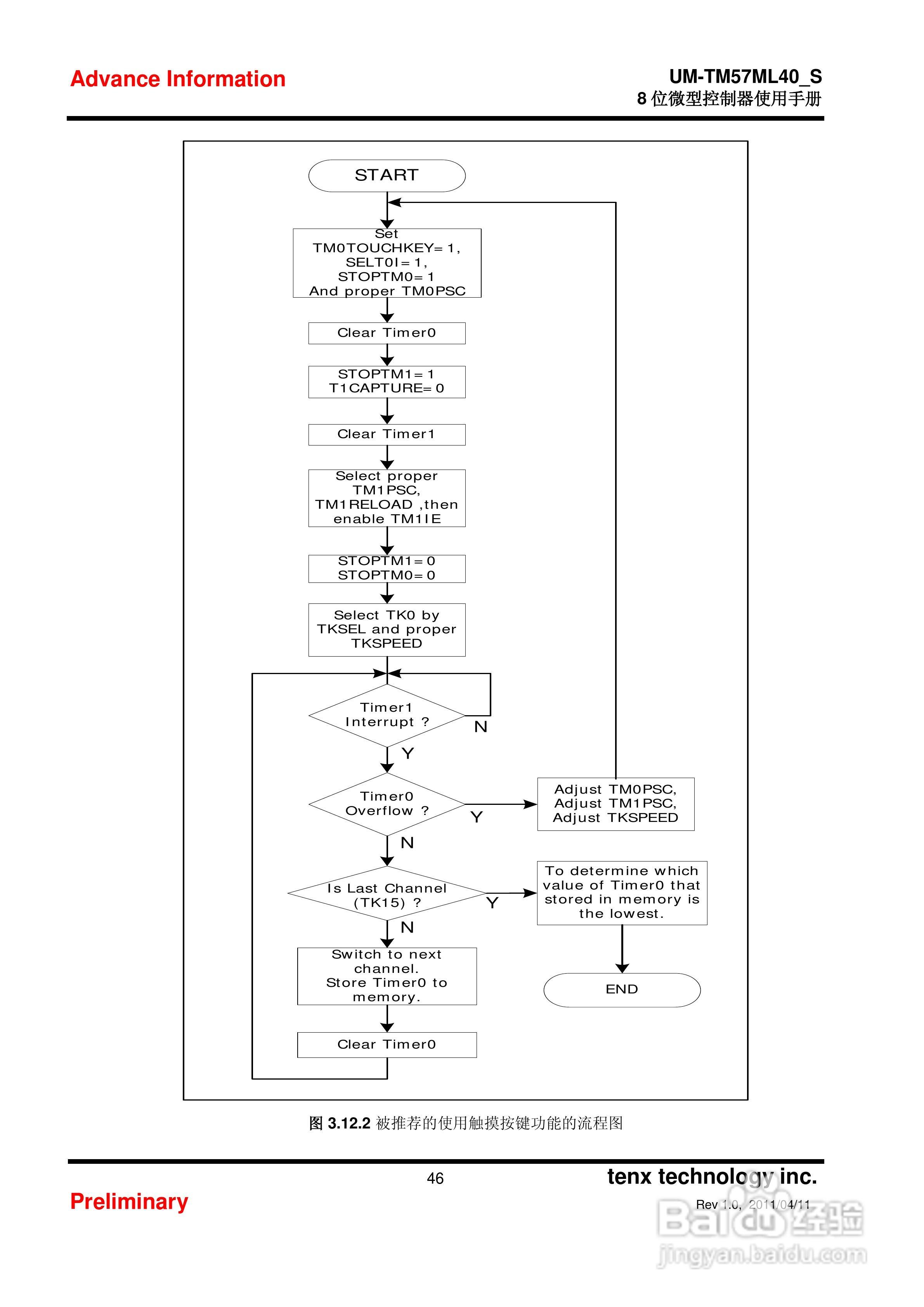
本篇为《Preliminary TM57ML40 8位微型控制器使用手册》,主要介绍该产品的使用方法以及常见故障解决方案。
(共篇)
上一篇:
|
下一篇:
声明:
本网站引用、摘录或转载内容仅供网站访问者交流或参考,不代表本站立场,如存在版权或非法内容,请联系站长删除,联系邮箱:site.kefu@qq.com。
相关推荐
NTP网络时间服务器DNTS-8使用方法
阅读量:159
佳能LV-X5投影仪使用说明书:[2]
阅读量:72
四信F8614 IP MODEM使用说明书:[3]
阅读量:38
斐雪派克OR61S8CEWSW2多功能电炉说明书:[1]
阅读量:131
一指禅指JZA3001纹门禁(考勤)多功能一体机说明书:[4]
阅读量:172
猜你喜欢
快乐生活
高考怎么查成绩
python是什么意思
手机死机怎么刷机
千眼菩提子怎么变绿
7日年化收益率是什么意思
极简生活
如何清洗油烟机
真皮沙发如何保养
乐生活
猜你喜欢
如何做好党建工作
如何做一名优秀的员工
武汉城市职业学院怎么样
如何更新显卡驱动
如何把视频导入ipad
骨性关节炎如何治疗
杰克棋牌怎么样
怎么办网银
cdr是什么软件
如何缓解考前压力