指南生活
首页
美食营养
手工爱好
生活家居
返回
指南生活
首页
美食营养
游戏数码
手工爱好
生活家居
健康养生
运动户外
职场理财
情感交际
母婴教育
时尚美容
知识问答
生活知识
搜索
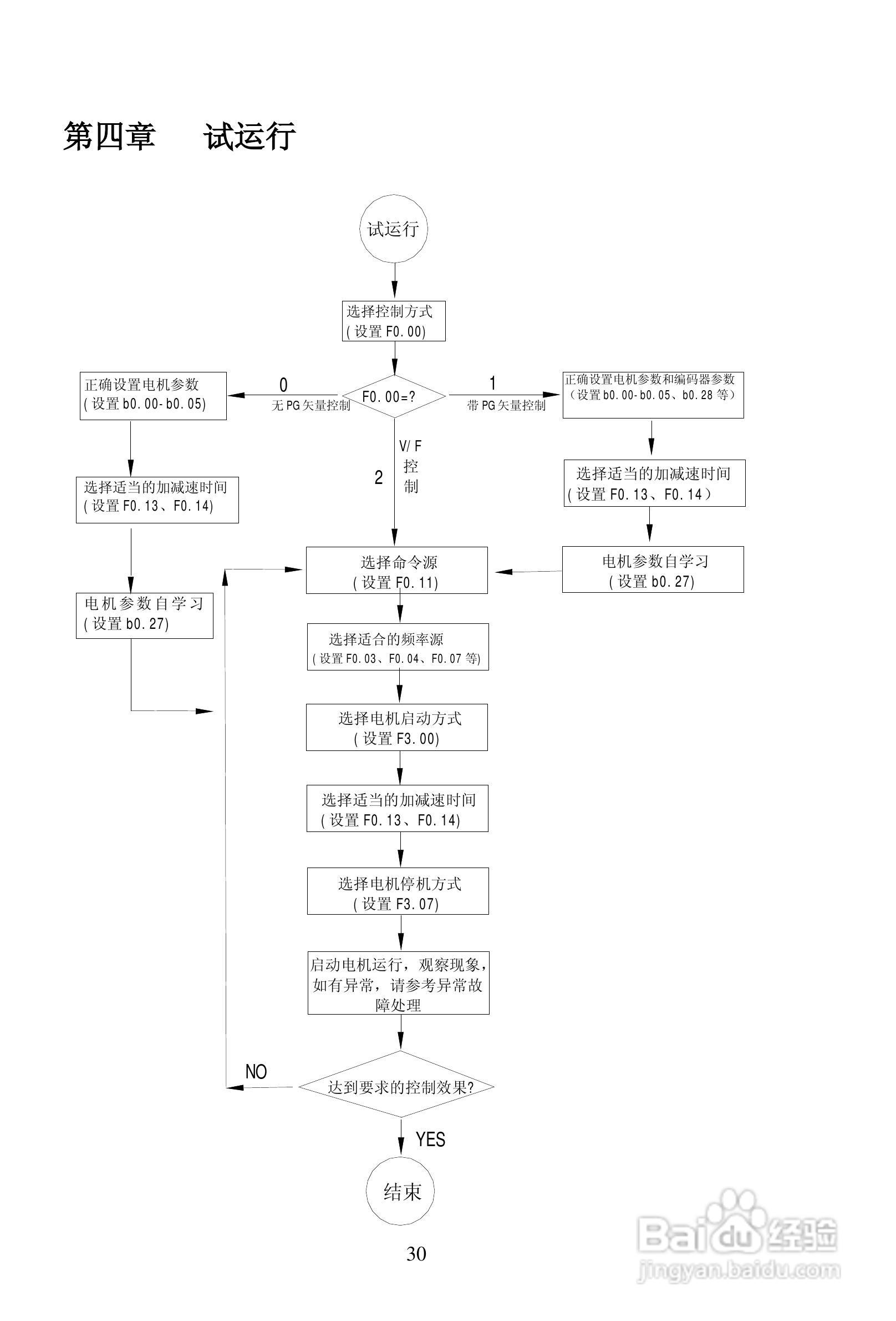
普传PI9200-075G2变频器使用说明书:[4]
2025-12-29 16:16:52
本篇为《普传PI9200-075G2变频器使用说明书》,主要介绍该产品的使用方法以及常见故障解决方案。
(共篇)
上一篇:
|
下一篇:
声明:
本网站引用、摘录或转载内容仅供网站访问者交流或参考,不代表本站立场,如存在版权或非法内容,请联系站长删除,联系邮箱:site.kefu@qq.com。
相关推荐
目前u盘启动盘制作工具哪一个最好
阅读量:31
取消Win2012/Win2003/Win2008系统关机事件跟踪
阅读量:28
Server 2016如何打开事件查看器?
阅读量:191
怎么关闭windows server2012 R2自动更新服务
阅读量:49
如何更改H3C系列MSR3640路由器的Telnet端口
阅读量:190
猜你喜欢
birthday是什么意思
内分泌失调是什么原因
宁缺毋滥什么意思
什么是干细胞
3m是什么意思
顶到子宫是什么感觉
rainbow是什么意思
脚跟痛是什么原因
polo衫配什么裤子
伊是什么意思
猜你喜欢
独立法人是什么意思
xxx是什么意思
临空墙是什么意思
京东用什么支付
味精是什么做的
长沙有什么好玩的
科学发展观的核心是什么
梦见婴儿是什么意思
cucumber是什么意思
谷歌是什么