指南生活
首页
美食营养
手工爱好
生活家居
返回
指南生活
首页
美食营养
游戏数码
手工爱好
生活家居
健康养生
运动户外
职场理财
情感交际
母婴教育
时尚美容
知识问答
生活知识
搜索
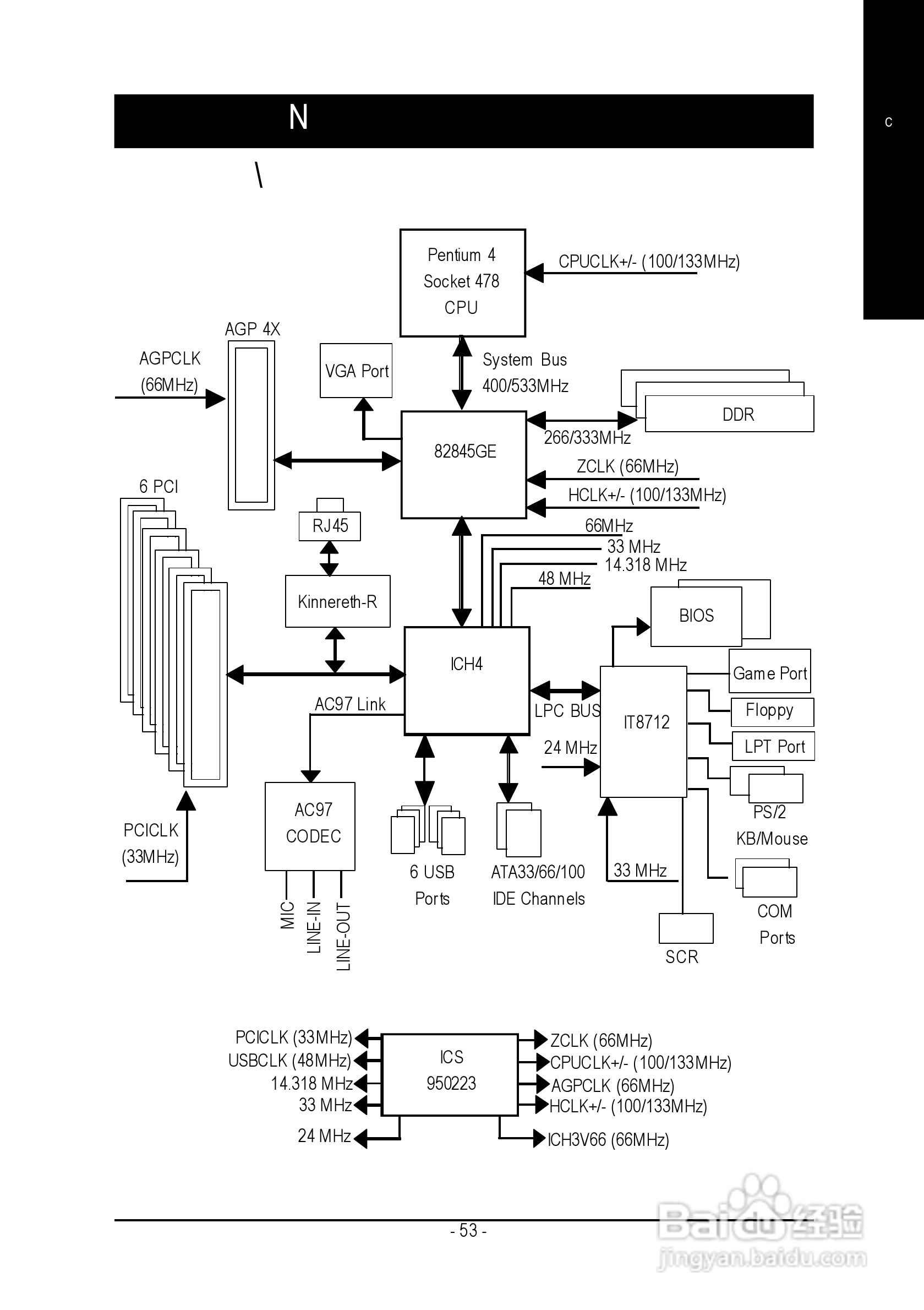
技嘉GA-8GE667 Pro型主板说明书:[6]
2025-12-29 21:31:45
本篇为《技嘉GA-8GE667 Pro型主板说明书》,主要介绍该产品的使用方法以及常见故障解决方案。
(共篇)
上一篇:
|
下一篇:
声明:
本网站引用、摘录或转载内容仅供网站访问者交流或参考,不代表本站立场,如存在版权或非法内容,请联系站长删除,联系邮箱:site.kefu@qq.com。
相关推荐
技嘉GA-8GE667 Pro型主板说明书:[7]
阅读量:89
技嘉GA-8GE667 Pro型主板说明书:[2]
阅读量:177
技嘉主板怎么进bios
阅读量:28
技嘉主板bios升级教程
阅读量:164
技嘉主板如何设置内存频率
阅读量:91
猜你喜欢
刮痧方法
智能手机大全
农村别墅设计图纸及效果图大全
众泰汽车怎么样
仿写句子大全及答案
萝卜干的腌制方法大全
哈士奇怎么养
娃娃菜的家常做法
flash怎么下载
笑话用英语怎么说
猜你喜欢
鲈鱼怎么做好吃
广州白云山怎么去
儿歌视频大全连续播放
乳腺炎的治疗方法
家常豆腐的做法大全
相声小品搞笑大全
挽回爱情的方法
增大压强的方法
颈椎病的自我治疗方法
多人做人爱视频大全