指南生活
首页
美食营养
手工爱好
生活家居
返回
指南生活
首页
美食营养
游戏数码
手工爱好
生活家居
健康养生
运动户外
职场理财
情感交际
母婴教育
时尚美容
知识问答
生活知识
生活百科
搜索
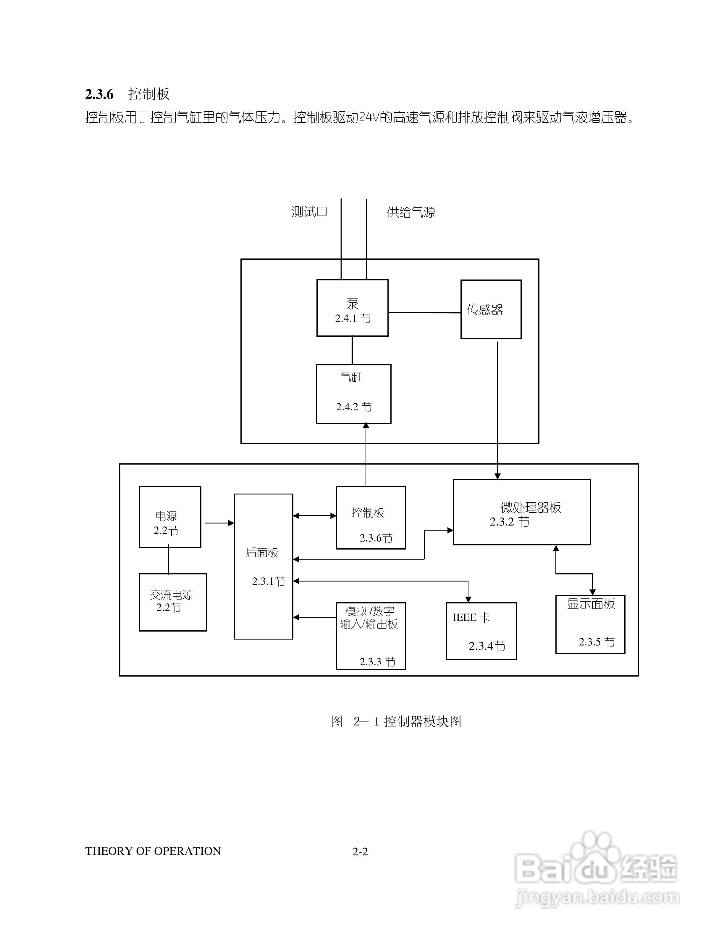
GE 数字压力控制器7615型用户手册:[1]
2026-05-10 06:19:10
本篇为《GE 数字压力控制器7615型用户手册》,主要介绍该产品的使用方法以及常见故障解决方案。
(共篇)
下一篇:
声明:
本网站引用、摘录或转载内容仅供网站访问者交流或参考,不代表本站立场,如存在版权或非法内容,请联系站长删除,联系邮箱:site.kefu@qq.com。
相关推荐
启用wapi是什么意思
阅读量:89
视频监控系统中常见干扰问题的解决办法
阅读量:168
thinkpad x60升级SSD攻略
阅读量:98
如何在Windows7电脑上使用两个显示屏
阅读量:67
怎样查看苹果5s操作系统ios版本
阅读量:34
猜你喜欢
木瓜是什么意思
什么桌面软件好用
圣诞祝福语
search是什么意思
互通有无的意思
先见之明是什么意思
包容的意思
融资买入额是什么意思
drinks是什么意思
祝福话
猜你喜欢
恣意的意思
列车停运什么意思
光彩夺目意思
spare是什么意思
牵挂的意思
notatall什么意思
韩国旅游买什么最值
人而无信不知其可的意思
不耻下问是什么意思
英文祝福语