Gfk2057 PACSystem 12位电压电流模拟量输出模块使用手:[4]

2026-04-18 02:39:54

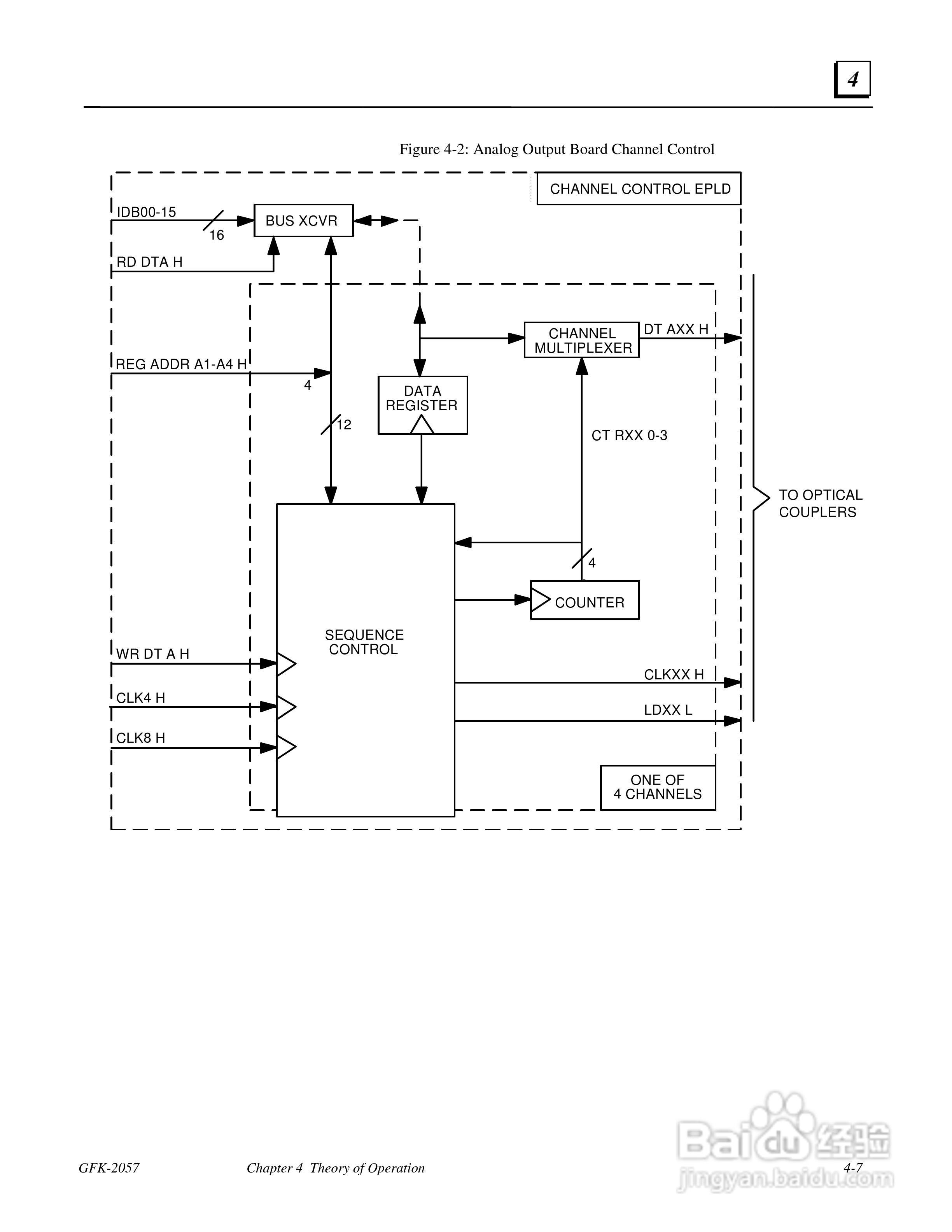
本篇为《Gfk2057 PACSystem 12位电压电流模拟量输出模块使用手》,主要介绍该产品的使用方法以及常见故障解决方案。


Gfk2057 PACSystem 12位电压电流模拟量输出模块使用手:[4]

Gfk2057 PACSystem 12位电压电流模拟量输出模块使用手:[4]

Gfk2057 PACSystem 12位电压电流模拟量输出模块使用手:[4]

Gfk2057 PACSystem 12位电压电流模拟量输出模块使用手:[4]

Gfk2057 PACSystem 12位电压电流模拟量输出模块使用手:[4]

Gfk2057 PACSystem 12位电压电流模拟量输出模块使用手:[4]

Gfk2057 PACSystem 12位电压电流模拟量输出模块使用手:[4]

Gfk2057 PACSystem 12位电压电流模拟量输出模块使用手:[4]

Gfk2057 PACSystem 12位电压电流模拟量输出模块使用手:[4]

Gfk2057 PACSystem 12位电压电流模拟量输出模块使用手:[4]

(共篇)上一篇:
声明:本网站引用、摘录或转载内容仅供网站访问者交流或参考,不代表本站立场,如存在版权或非法内容,请联系站长删除,联系邮箱:site.kefu@qq.com。
猜你喜欢