碳硫分析仪电弧炉构造
碳硫分析仪电弧炉构造
1、本电弧炉要使用高纯氧气助燃,使用氧气必须按照使用氧气的安全操作规程作业。
2、连接好电源线后,必须用试电笔检测坩埚座及壳体是否带电,坩埚座若带电应将电源之相、中线互换后再用试电笔检测;若壳体有极微弱的带电,应接好地线。一定要确认本电弧炉坩埚座和壳体不带电后,才能对本电弧炉进行操作。
3、电弧炉工作后,炉体、坩埚和坩埚座的温度较高,不要用手去触摸它们,以免烫伤。在按引弧按钮的瞬间,不得触及燃烧系统!
4、本炉使用时应根据面板上的电流表,调节电极棒端部对坩埚内试样间隙(4——8mm)。如按动“引弧”按钮,电流表读数极小或无读数,这说明极棒对试样间隙过大,这时应将图1所示之电极(图中序号9)向下拉一点。发现电流表读数过大或超出极限范围。说明极棒对试样间隙为零(即极棒与试样已短路),这时应把极棒往上调整。
5、本炉在正常使用情况下,需要引弧时,只要将(图2)“引弧”按钮瞬间按动一下,即可松手,就能高速点燃试样。若数次按动,不能点燃,应检查极棒对试样的间隙。严禁长时间按“引弧”按钮,以免烧坏电器元件。

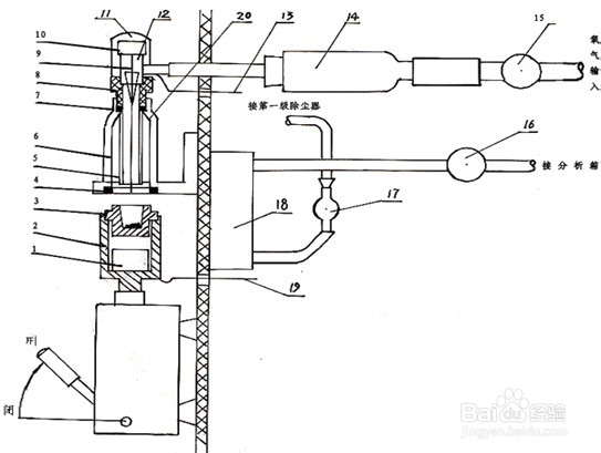
1 磁铁2 坩埚座3 坩埚4 密封圈5 石英玻璃管6 炉体7 密封圈
8 炉体接头9 电极10 螺栓11 防护罩12 三通13 引弧火线14 干燥管
15前氧阀16 后控阀17单元管18流量计19电源中线20铜丝网
声明:本网站引用、摘录或转载内容仅供网站访问者交流或参考,不代表本站立场,如存在版权或非法内容,请联系站长删除,联系邮箱:site.kefu@qq.com。