指南生活
首页
美食营养
手工爱好
生活家居
返回
指南生活
首页
美食营养
游戏数码
手工爱好
生活家居
健康养生
运动户外
职场理财
情感交际
母婴教育
时尚美容
搜索
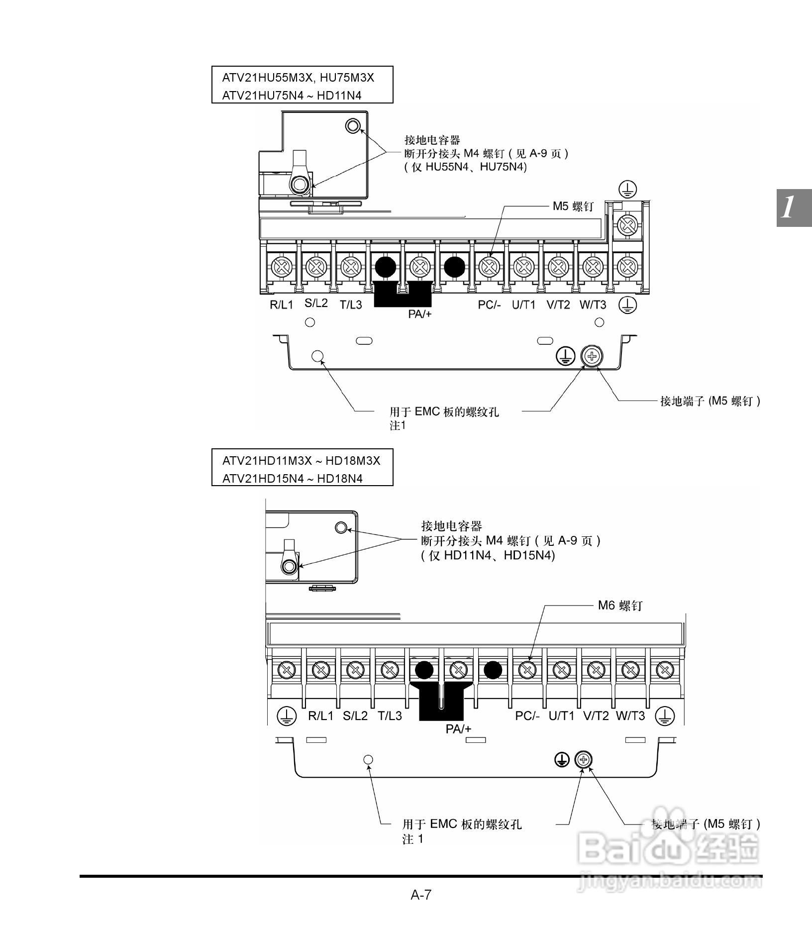
施耐德变频器ATV21HD30N4用户手册:[2]
2025-10-19 21:16:05
本篇为《施耐德变频器ATV21HD30N4用户手册》,主要介绍该产品的使用方法以及常见故障解决方案。
(共篇)
上一篇:
|
下一篇:
声明:
本网站引用、摘录或转载内容仅供网站访问者交流或参考,不代表本站立场,如存在版权或非法内容,请联系站长删除,联系邮箱:site.kefu@qq.com。
相关推荐
电厂锅炉水压试验前需要检查什么
阅读量:164
食补养生芹菜墨鱼的做法
阅读量:82
如何判断炒股软件报错问题
阅读量:156
西门子SIMATIC HMI操作设备KTP400 Basic操作说明书:[5]
阅读量:161
如何做花式鱿鱼?
阅读量:43
猜你喜欢
inspiration是什么意思
什么车最省油
火把节是什么时候
妮子是什么意思
color是什么意思
四书五经指的是什么
最近有什么好听的歌
叮咛的近义词是什么
我知道你去年夏天干了什么
lamb是什么意思
猜你喜欢
英语四级成绩什么时候出来
蚝油是什么
pm2.5是什么意思
什么什么不什么成语
失足女是什么意思
activity是什么意思
私募是什么意思
盐水洗脸有什么好处
什么是诗歌
am什么意思