指南生活
首页
美食营养
手工爱好
生活家居
返回
指南生活
首页
美食营养
游戏数码
手工爱好
生活家居
健康养生
运动户外
职场理财
情感交际
母婴教育
时尚美容
知识问答
生活知识
生活百科
搜索
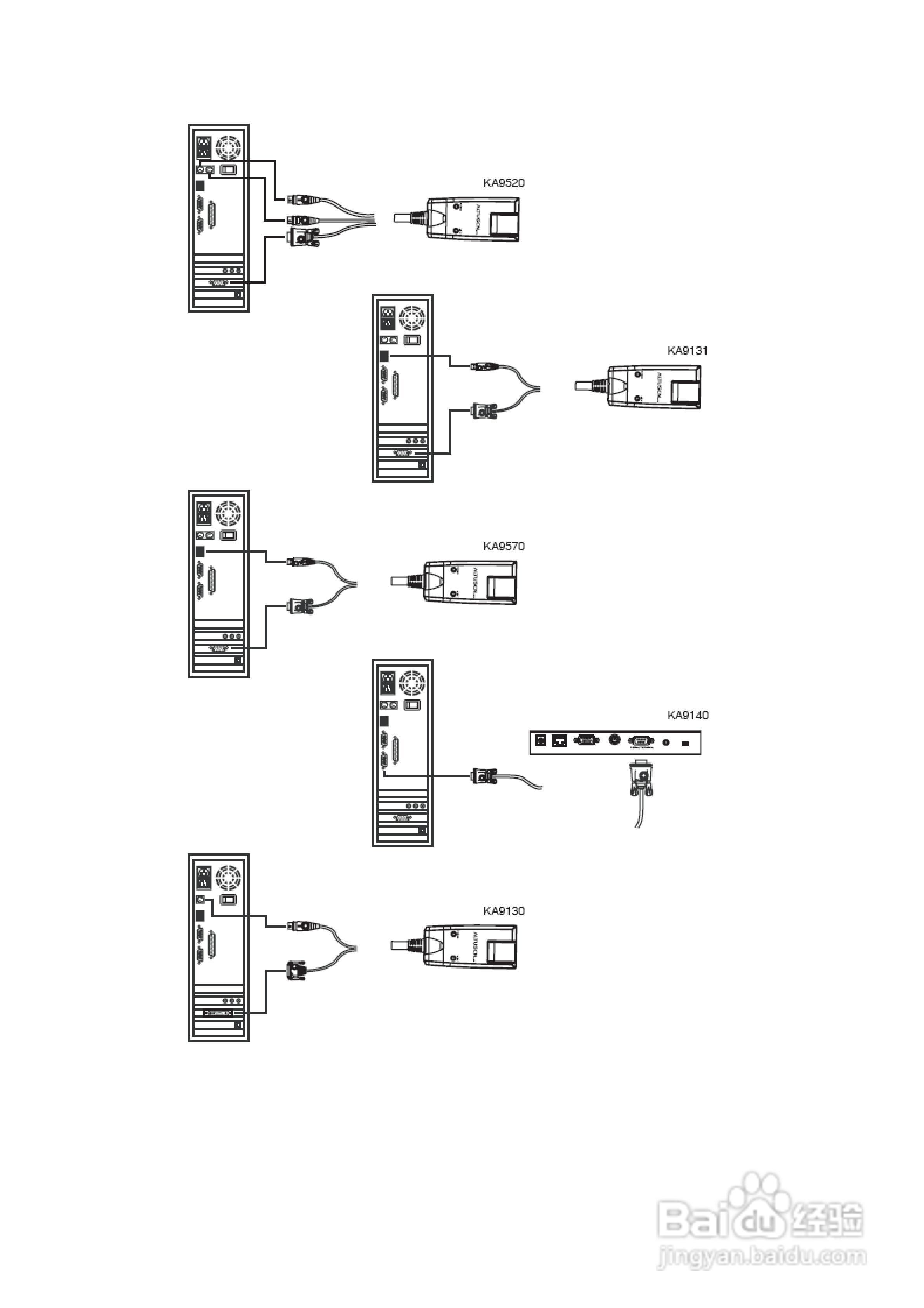
Cat 5 高密度KVM 切换器KH-1508/KH-1516 用户手册:[3]
2026-03-23 04:00:22
本篇为《Cat 5 高密度KVM 切换器KH-1508/KH-1516 用户手册》,主要介绍该产品的使用方法以及常见故障解决方案。
(共篇)
上一篇:
|
下一篇:
声明:
本网站引用、摘录或转载内容仅供网站访问者交流或参考,不代表本站立场,如存在版权或非法内容,请联系站长删除,联系邮箱:site.kefu@qq.com。
相关推荐
Cat 5 高密度KVM 切换器KH-1508/KH-1516 用户手册:[5]
阅读量:20
Cat 5 高密度KVM 切换器KH-1508/KH-1516 用户手册:[2]
阅读量:127
Lenovo AB1508/1516 KVM切换器用户手册:[3]
阅读量:87
Lenovo AB1508/1516 KVM切换器用户手册:[1]
阅读量:62
Lenovo AB1508/1516 KVM切换器用户手册:[2]
阅读量:144
猜你喜欢
梦见情人是什么意思
smart的意思
念念有词是什么意思
股票期权是什么意思
ova是什么意思
乔迁之喜祝福语简单点
7到8万买什么车好
rainy是什么意思中文
古木参天对什么
男士香水什么味道好
猜你喜欢
有什么好看的小说玄幻
马马虎虎的意思
精兵简政的简是什么意思
无缘的意思
银行借记卡是什么意思
text是什么意思
生日祝福语
一如既往是什么意思
神灯治疗仪什么牌子好
第一次坐飞机应该注意什么