指南生活
首页
美食营养
手工爱好
生活家居
返回
指南生活
首页
美食营养
游戏数码
手工爱好
生活家居
健康养生
运动户外
职场理财
情感交际
母婴教育
时尚美容
知识问答
生活知识
生活百科
搜索
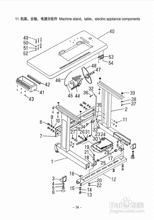
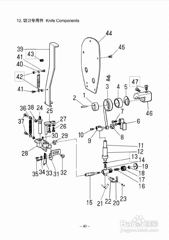
JK-5559W型侧切刀高速平缝机使用说明:[4]
2026-04-21 09:33:16
本篇为《JK-5559W型侧切刀高速平缝机使用说明》,主要介绍该产品的使用方法以及常见故障解决方案。
(共篇)
上一篇:
声明:
本网站引用、摘录或转载内容仅供网站访问者交流或参考,不代表本站立场,如存在版权或非法内容,请联系站长删除,联系邮箱:site.kefu@qq.com。
相关推荐
JK-5559W型侧切刀高速平缝机使用说明:[3]
阅读量:166
JK-795 768型高速包缝机使用说明:[4]
阅读量:111
JK-795 768型高速包缝机使用说明:[5]
阅读量:156
JK-795 768型高速包缝机使用说明:[3]
阅读量:145
工业平缝机交流伺服系统YSZ系列使用说明书:[4]
阅读量:116
猜你喜欢
什么是雷锋精神
下巴反复长痘痘是什么原因
打嗝是什么原因引起的
幕墙是什么
声卡是什么
息税前利润是什么意思
卡其色是什么颜色
白玫瑰代表什么意思
about是什么意思
bt是什么意思
猜你喜欢
当兵有什么好处
一什么就什么造句
furla是什么牌子
股票停牌意味着什么
瓦特发明了什么
蜻蜓点水是什么意思
东莞有什么好玩的地方
氤氲是什么意思
什么是什么
2月9日是什么星座