指南生活
首页
美食营养
手工爱好
生活家居
返回
指南生活
首页
美食营养
游戏数码
手工爱好
生活家居
健康养生
运动户外
职场理财
情感交际
母婴教育
时尚美容
知识问答
生活知识
生活百科
搜索
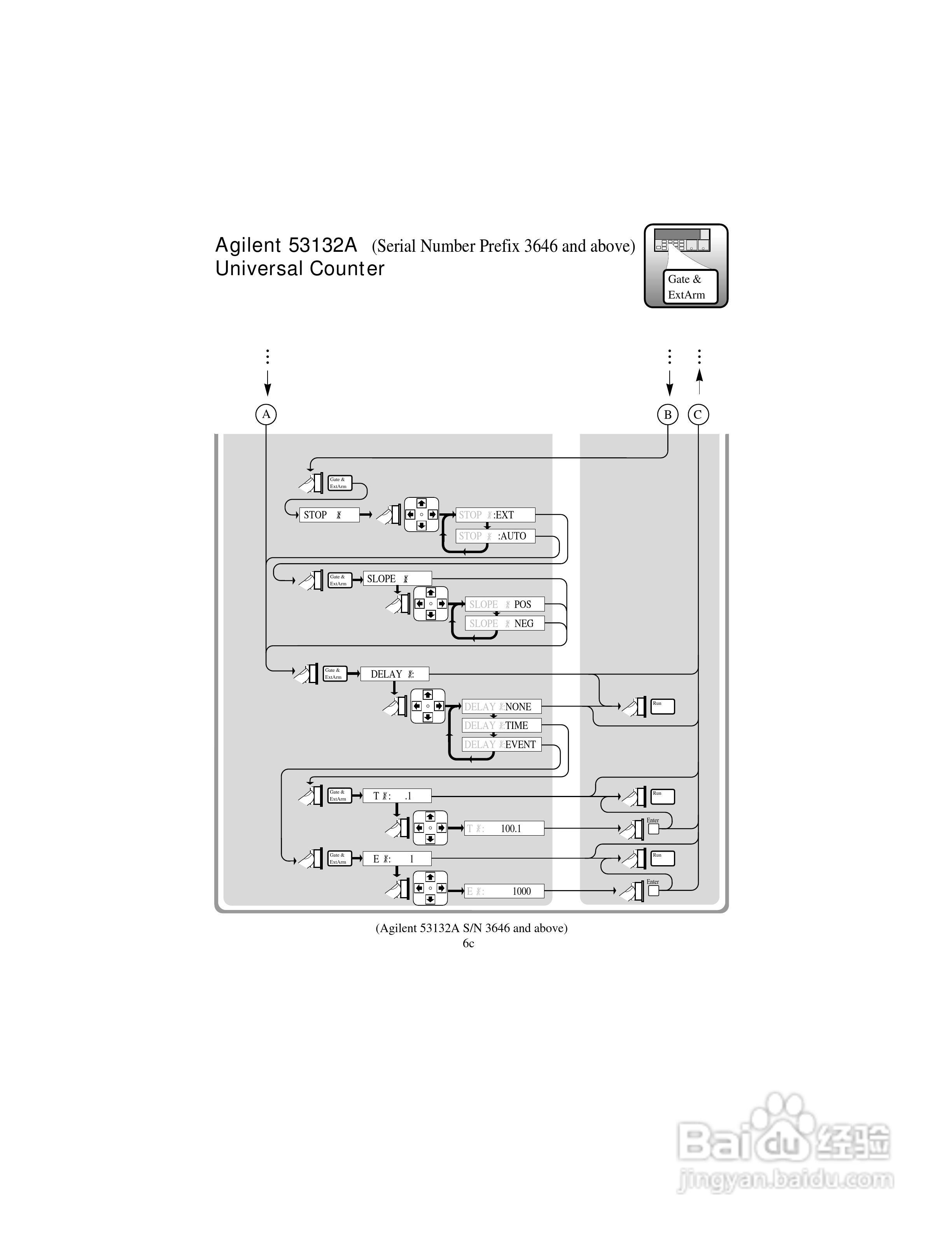
53181ARF计频器操作手册:[4]
2026-05-10 04:22:58
本篇为《53181ARF计频器操作手册》,主要介绍该产品的使用方法以及常见故障解决方案。
(共篇)
上一篇:
|
下一篇:
声明:
本网站引用、摘录或转载内容仅供网站访问者交流或参考,不代表本站立场,如存在版权或非法内容,请联系站长删除,联系邮箱:site.kefu@qq.com。
相关推荐
53181ARF计频器操作手册:[18]
阅读量:159
53181ARF计频器操作手册:[12]
阅读量:187
53181ARF计频器操作手册:[17]
阅读量:173
53181ARF计频器操作手册:[13]
阅读量:39
53181ARF计频器操作手册:[20]
阅读量:153
猜你喜欢
牛樟芝功效与作用
汉口有什么好玩的地方
什么是集合竞价
my heart will go on什么意思
image什么意思
艾叶的功效与作用
苦瓜汁的功效与作用
知识竞赛软件
普洱茶功效与作用禁忌
什么是房产税
猜你喜欢
生姜的功效与作用
运动袜
僵蚕的功效与作用
眼霜作用
元胡的功效与作用
知柏地黄丸的作用与功效
红豆薏米粉功效与作用
什么是二手房
黑豆汤的功效与作用
天然气灶什么牌子好