电脑系统漏洞太多怎么修复
1、 针对电脑的系统漏洞修复的话,首先可以点击进入到电脑的开始菜单中,然后打开。

2、 然后找到控制面板的功能按钮,点击进入到控制面板中后,点击进入到相关的页面。

3、 找到控制面板中的安全系统功能按钮,然后点击打开进入到相关的页面即可帮助我们提高电脑安全系数。

4、 在控制面板中可以找到控制面板\系统和安全\Windows 防火墙,在防火墙的页面中进行防护。

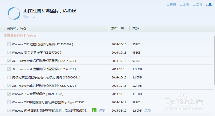
5、如果需要修复系统漏洞的话,点击进入到电脑中的腾讯电脑管家的功能页面,进入工具箱,点击修复。

6、 在进入到系统漏洞的检测和修复功能页面后,可以帮助我们来完成系统漏洞的修复。

声明:本网站引用、摘录或转载内容仅供网站访问者交流或参考,不代表本站立场,如存在版权或非法内容,请联系站长删除,联系邮箱:site.kefu@qq.com。
阅读量:146
阅读量:84
阅读量:99
阅读量:188
阅读量:107