指南生活
首页
美食营养
手工爱好
生活家居
返回
指南生活
首页
美食营养
游戏数码
手工爱好
生活家居
健康养生
运动户外
职场理财
情感交际
母婴教育
时尚美容
知识问答
生活知识
生活百科
搜索
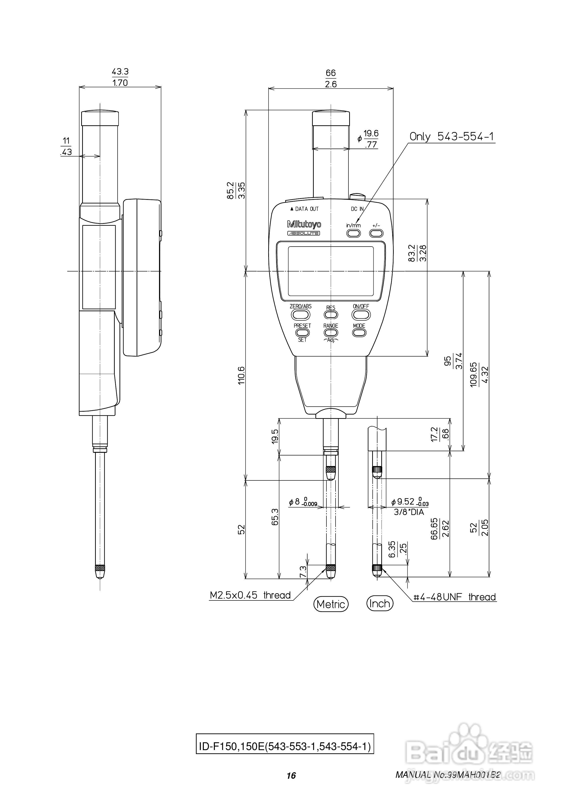
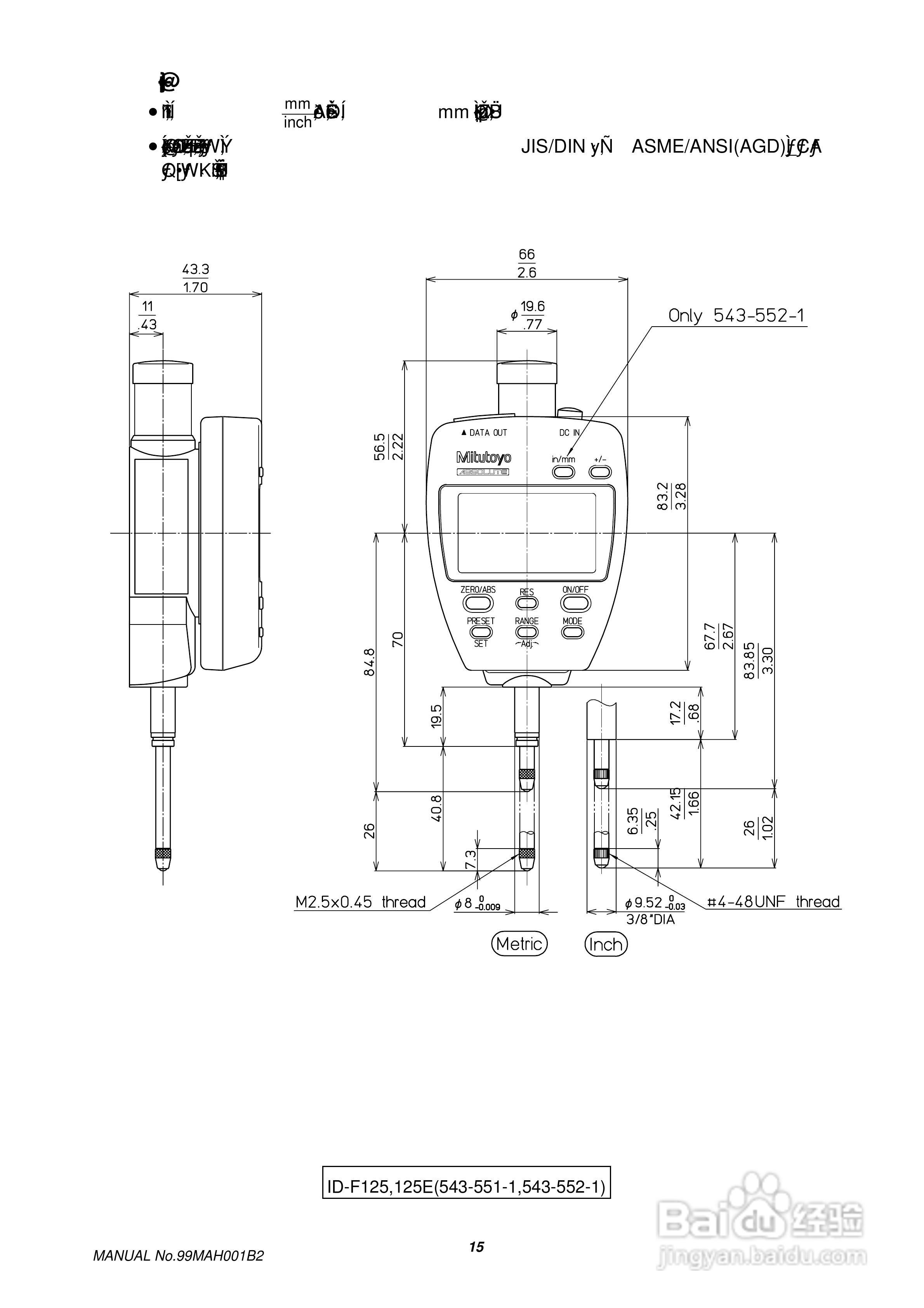
三丰ID-F系列千分表使用说明书:[3]
2026-04-30 14:12:01
本篇为《三丰ID-F系列千分表使用说明书》,主要介绍该产品的使用方法以及常见故障解决方案。
(共篇)
上一篇:
|
下一篇:
声明:
本网站引用、摘录或转载内容仅供网站访问者交流或参考,不代表本站立场,如存在版权或非法内容,请联系站长删除,联系邮箱:site.kefu@qq.com。
相关推荐
阴阳师双蛇阵容怎么玩
阅读量:89
阴阳师 SR治疗式神 惠比寿
阅读量:164
阴阳师久次良解析
阅读量:176
阴阳师百鬼夜行怎么更高概率得到碎片
阅读量:116
阴阳师手游技巧分享
阅读量:134
猜你喜欢
胸口中间疼是怎么回事
火锅的做法视频
烹怎么读
发烧怎么办怎样退烧快
告诉我为什么
芋头怎么做好吃
清蒸梭子蟹的做法
生煎包的做法视频
胸胀痛是怎么回事
花呗怎么提前还款
猜你喜欢
为什么qq空间打不开
苹果手机通话怎么录音
油烟机怎么清洗
为什么喝牛奶拉肚子
润肤露怎么用
怎么查询社保卡余额
j怎么读
油炸汤圆的做法
清蒸鲈鱼正宗做法
杂烩菜的家常做法