指南生活
首页
美食营养
手工爱好
生活家居
返回
指南生活
首页
美食营养
游戏数码
手工爱好
生活家居
健康养生
运动户外
职场理财
情感交际
母婴教育
时尚美容
知识问答
生活知识
生活百科
搜索
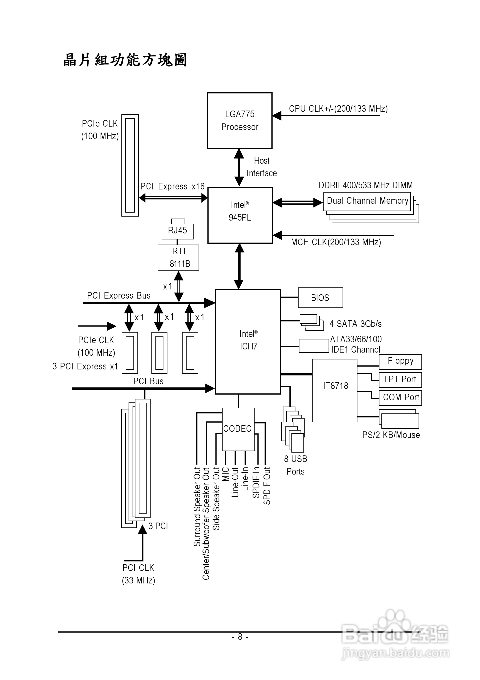
技嘉GA-945PL-S3 (rev. 2.0)型主板说明书:[1]
2026-05-13 20:17:50
本篇为《技嘉GA-945PL-S3 (rev. 2.0)型主板说明书》,主要介绍该产品的使用方法以及常见故障解决方案。
(共篇)
下一篇:
声明:
本网站引用、摘录或转载内容仅供网站访问者交流或参考,不代表本站立场,如存在版权或非法内容,请联系站长删除,联系邮箱:site.kefu@qq.com。
相关推荐
技嘉GA-945PL-DS3 (rev. 2.0)型主板说明书:[1]
阅读量:177
技嘉GA-945PL-DS3 (rev. 2.0)型主板说明书:[3]
阅读量:117
技嘉GA-945PL-DS3 (rev. 2.0)型主板说明书:[8]
阅读量:56
技嘉主板bios升级教程
阅读量:117
技嘉主板如何设置内存频率
阅读量:26
猜你喜欢
100万左右买什么车好
双开单控是什么意思
脱肛是什么意思
有点意思
如懿传什么时候播出
什么什么为什么成语
闻过则喜的意思
打新股是什么意思
维持的意思
兼容性是什么意思
猜你喜欢
控规是什么意思
载歌载舞的载是什么意思
pwr是什么意思
白带是什么样的图片
空投是什么意思
清明的意思
smell是什么意思
适宜的意思
若有所失的意思
博大精深的意思