指南生活
首页
美食营养
手工爱好
生活家居
返回
指南生活
首页
美食营养
游戏数码
手工爱好
生活家居
健康养生
运动户外
职场理财
情感交际
母婴教育
时尚美容
知识问答
生活知识
搜索
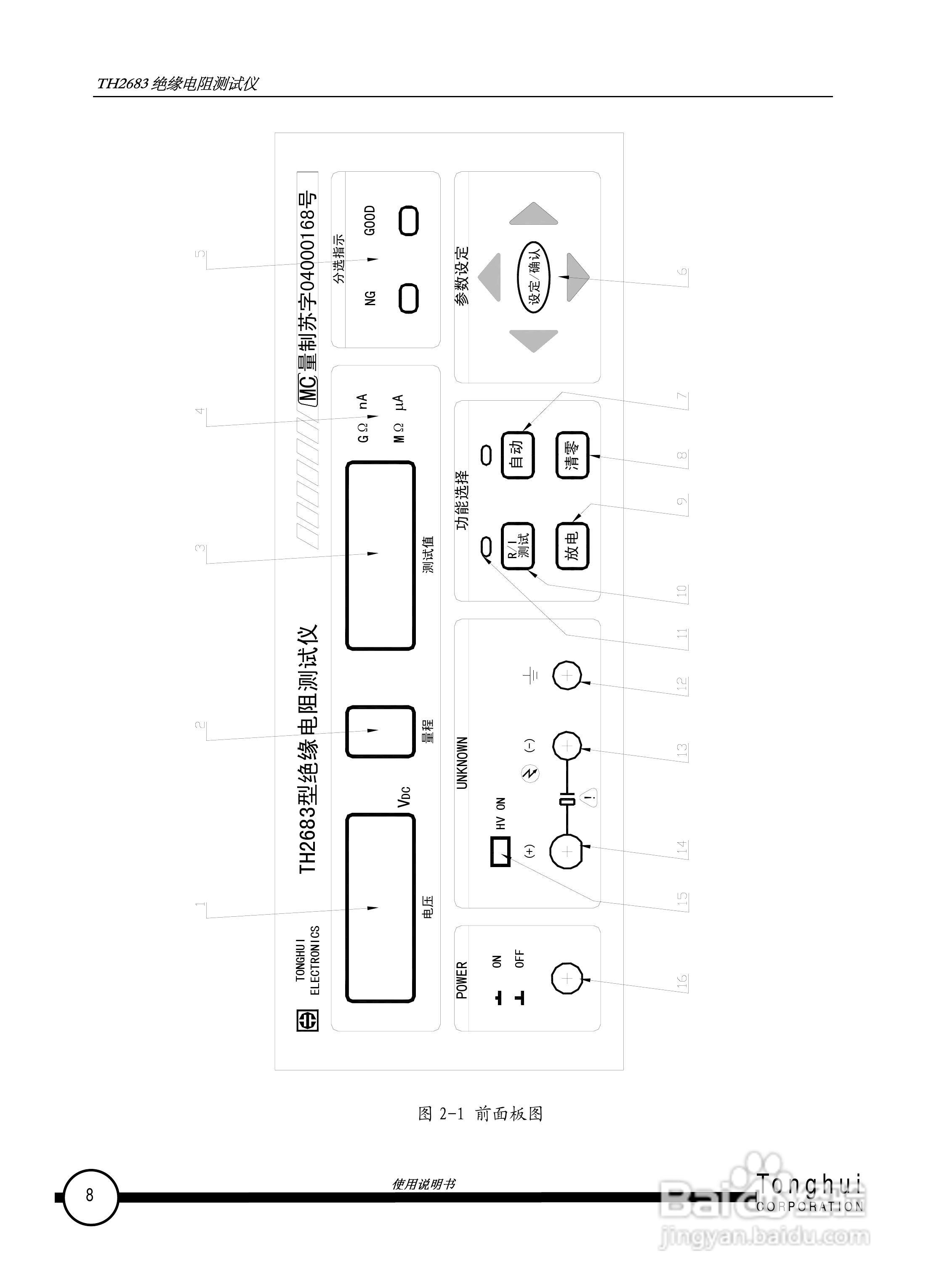
常州同惠TH2683绝缘电阻测试仪说明书:[1]
2026-01-04 12:53:48
本篇为《常州同惠TH2683绝缘电阻测试仪说明书》,主要介绍该产品的使用方法以及常见故障解决方案。
(共篇)
下一篇:
声明:
本网站引用、摘录或转载内容仅供网站访问者交流或参考,不代表本站立场,如存在版权或非法内容,请联系站长删除,联系邮箱:site.kefu@qq.com。
相关推荐
excel日期加减计算方法
阅读量:124
Excel如何计算某列是第几列
阅读量:155
Excel循环怎么实现 如何在Excel中使用循环
阅读量:170
excel 快速选择数据
阅读量:130
如何在Excel中结合使用函数NOW和TEXT
阅读量:57
猜你喜欢
快乐的运动会
介词后加什么
风平浪静什么意思
知柏地黄丸的作用与功效与副作用
达泊西汀的功效与作用
黑糯米酒的功效与作用
全蝎的功效与作用
什么是主板
二极管的作用
运动会秩序册封面
猜你喜欢
有趣的运动会作文
制远志的功效与作用
罗汉果花的功效与作用
炒白术的功效与作用
山狗运动相机
pve什么意思
休闲运动服
拐枣的功效与作用
养什么赚钱
什么是职业化