指南生活
首页
美食营养
手工爱好
生活家居
返回
指南生活
首页
美食营养
游戏数码
手工爱好
生活家居
健康养生
运动户外
职场理财
情感交际
母婴教育
时尚美容
知识问答
生活知识
生活百科
搜索
FATEK FID-E1-004-23变频器使用说明书:[8]
2026-03-30 01:09:07
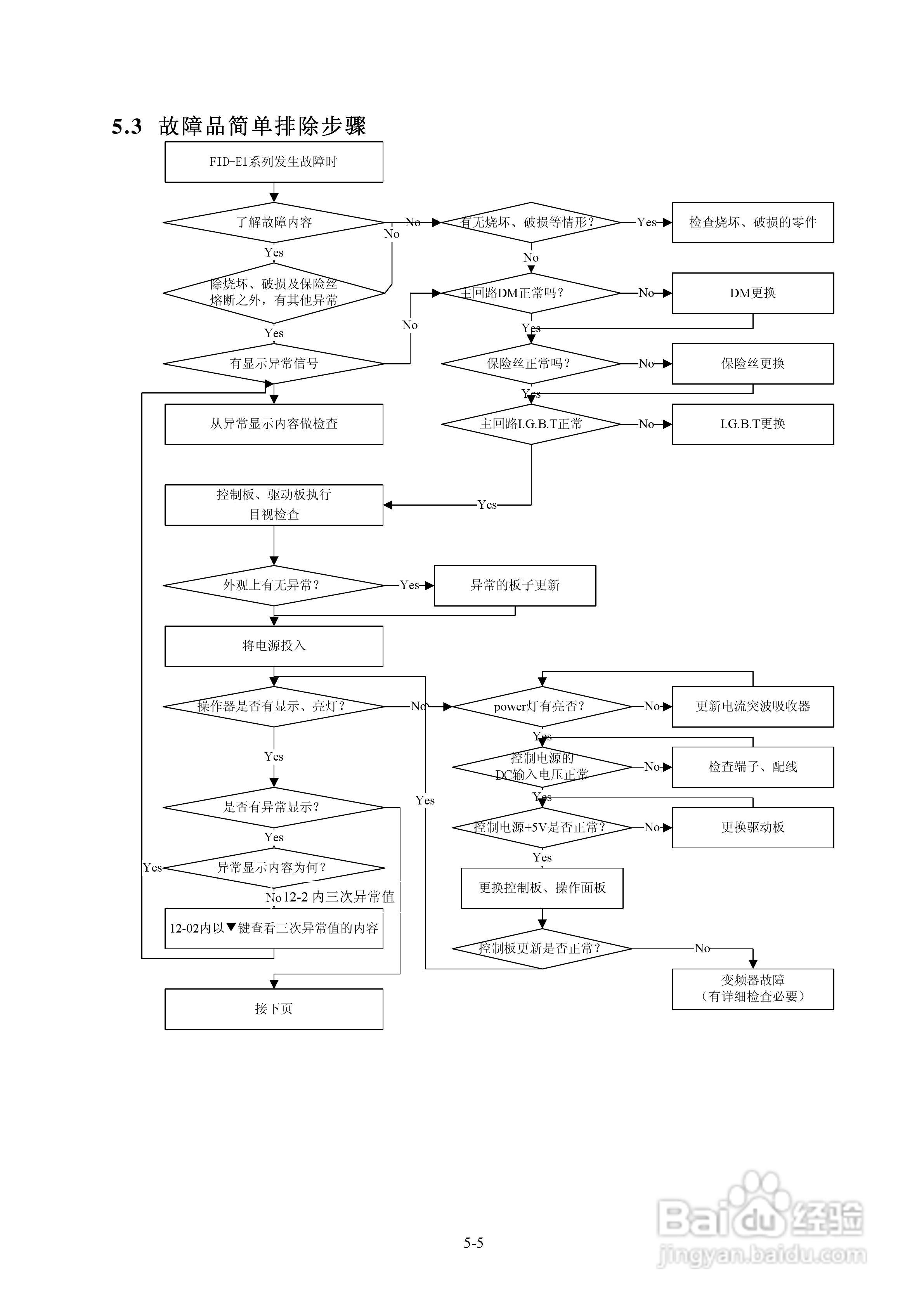
本篇为《FATEK FID-E1-004-23变频器使用说明书》,主要介绍该产品的使用方法以及常见故障解决方案。
(共篇)
上一篇:
|
下一篇:
声明:
本网站引用、摘录或转载内容仅供网站访问者交流或参考,不代表本站立场,如存在版权或非法内容,请联系站长删除,联系邮箱:site.kefu@qq.com。
相关推荐
FATEK FID-E1-004-23变频器使用说明书:[11]
阅读量:178
FATEK FID-S1-015-21变频器使用说明书:[8]
阅读量:96
FATEK FID-S1-015-21变频器使用说明书:[1]
阅读量:28
FATEK FID-N1-550-43X变频器使用说明书:[1]
阅读量:123
FATEK FID-N1-550-43X变频器使用说明书:[11]
阅读量:33
猜你喜欢
牛蒡根的功效与作用
德高望重什么意思
初三物理知识点归纳
金莲花的功效与作用
什么洗发水最好
kitty什么意思
多潘立酮片的作用与功效
空调知识
枳壳的功效与作用
透骨草的功效与作用
猜你喜欢
硫磺皂的作用与功效
继电器的作用
看病人送什么水果
竹叶青酒的功效与作用
心理健康知识
糖皮质激素的作用
幼儿园健康知识
桑葚酒的功效与作用
赞800米运动员
丹参的作用与功效