指南生活
首页
美食营养
手工爱好
生活家居
返回
指南生活
首页
美食营养
游戏数码
手工爱好
生活家居
健康养生
运动户外
职场理财
情感交际
母婴教育
时尚美容
知识问答
生活知识
生活百科
搜索
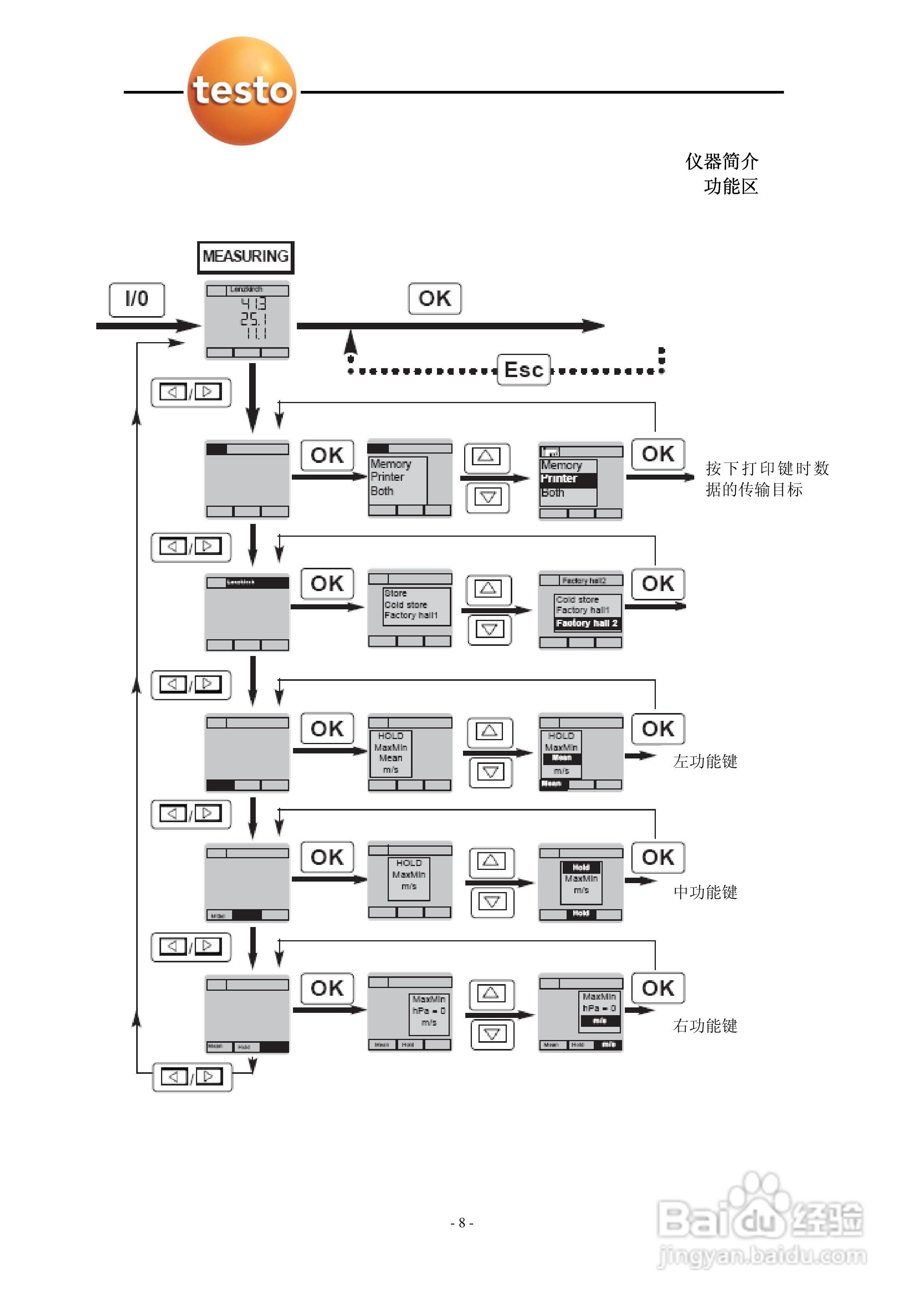
德图testo 950多功能测量仪使用说明书:[1]
2026-04-24 05:29:31
本篇为《德图testo 950多功能测量仪使用说明书》,主要介绍该产品的使用方法以及常见故障解决方案。
(共篇)
下一篇:
声明:
本网站引用、摘录或转载内容仅供网站访问者交流或参考,不代表本站立场,如存在版权或非法内容,请联系站长删除,联系邮箱:site.kefu@qq.com。
相关推荐
德图testo 950多功能测量仪使用说明书:[5]
阅读量:189
德图testo 950多功能测量仪使用说明书:[4]
阅读量:100
德图testo 645多功能测量仪使用说明书:[3]
阅读量:31
德图testo 454多点多参数测量系统使用说明书:[3]
阅读量:100
德图testo 454多点多参数测量系统使用说明书:[2]
阅读量:89
猜你喜欢
怎么下载ps软件
汉武帝简介
北京大学简介
端午节大全简单又漂亮
煲汤食谱大全及做法
穿越古装剧电视剧大全
离职后五险一金怎么办
泰拉瑞亚npc大全
运气差怎么办
qq头像大全
猜你喜欢
用ps怎么抠图
一岁半宝宝食谱大全
日本黄页大全
宽带密码怎么修改
圆形简笔画图片大全
搞笑音乐大全笑死人
天津音乐学院怎么样
奥特曼大全名字
子宫内膜增厚是怎么回事
三字俗语大全