指南生活
首页
美食营养
手工爱好
生活家居
返回
指南生活
首页
美食营养
游戏数码
手工爱好
生活家居
健康养生
运动户外
职场理财
情感交际
母婴教育
时尚美容
知识问答
生活知识
生活百科
搜索
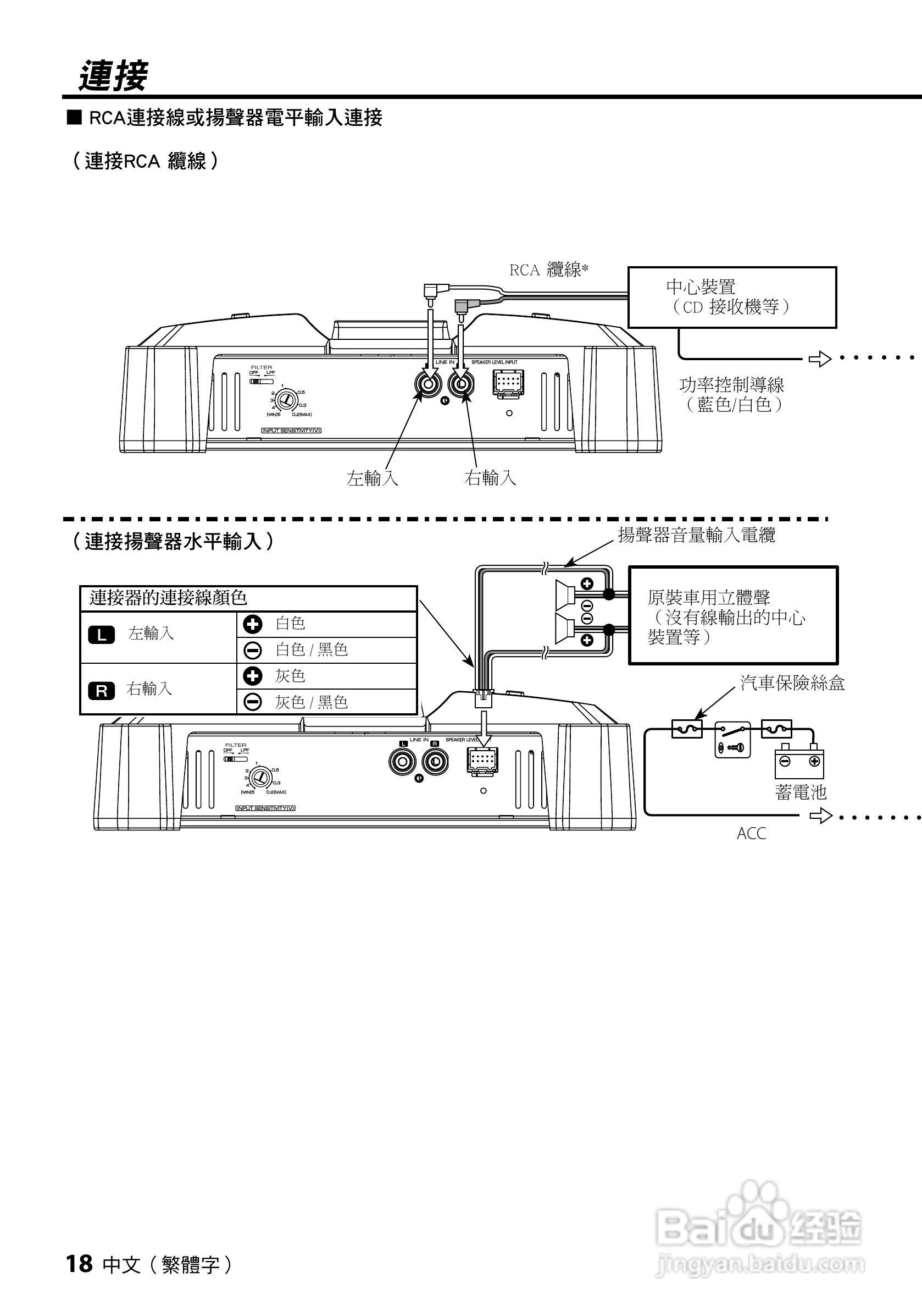
KENWOOD KAC-5203放大器说明书:[2]
2026-03-28 19:18:03
本篇为《KENWOOD KAC-5203放大器说明书》,主要介绍该产品的使用方法以及常见故障解决方案。
(共篇)
上一篇:
|
下一篇:
声明:
本网站引用、摘录或转载内容仅供网站访问者交流或参考,不代表本站立场,如存在版权或非法内容,请联系站长删除,联系邮箱:site.kefu@qq.com。
相关推荐
拳击沙袋哪种好?如何选择拳击沙袋?
阅读量:103
盛放白酒用什么容器比较合适
阅读量:188
高原怎么煮饭
阅读量:66
怎样用精油制作天然驱虫剂?
阅读量:68
东北取暖最佳方案
阅读量:97
猜你喜欢
鼠尾草的功效与作用
麦饭石锅的作用和禁忌
蜂王浆的作用和功效
此去经年什么意思
燕窝有什么功能
湿疹用什么药好
蒸梨的功效与作用
空心菜的功效与作用
木瓜粉的作用与功效
什么炒股软件最好用
猜你喜欢
芝麻的功效与作用
山西有什么旅游景点
绿色和什么颜色搭配
牛肉和什么相克
步兵骑兵什么意思
审车需要什么手续
初二历史下册知识点
黄连素的作用
1928年属什么
如什么如什么成语