指南生活
首页
美食营养
手工爱好
生活家居
返回
指南生活
首页
美食营养
游戏数码
手工爱好
生活家居
健康养生
运动户外
职场理财
情感交际
母婴教育
时尚美容
知识问答
生活知识
生活百科
搜索
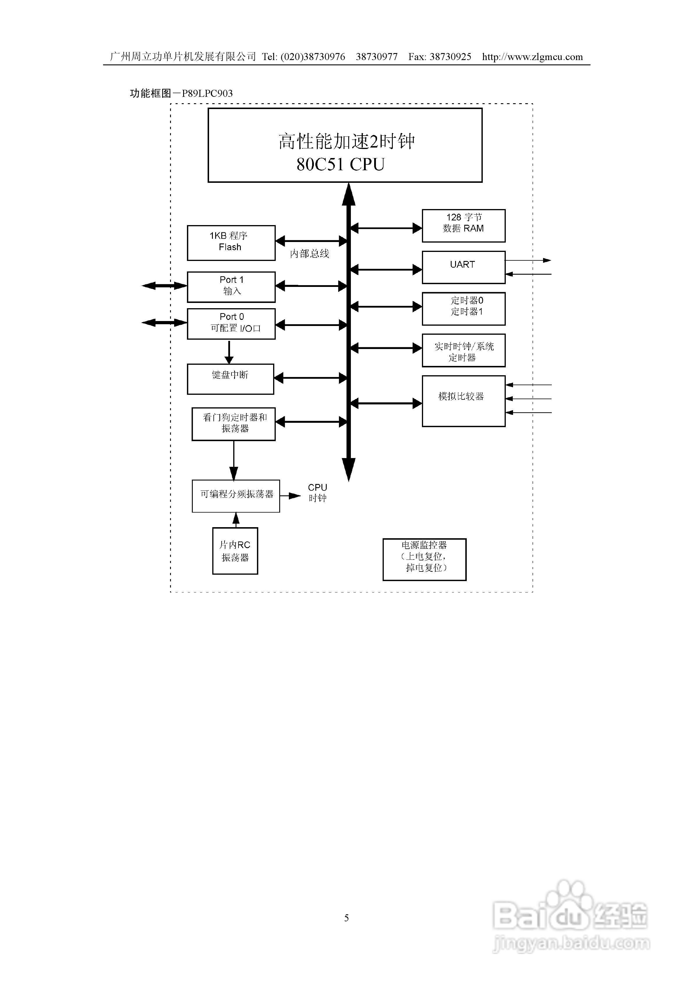
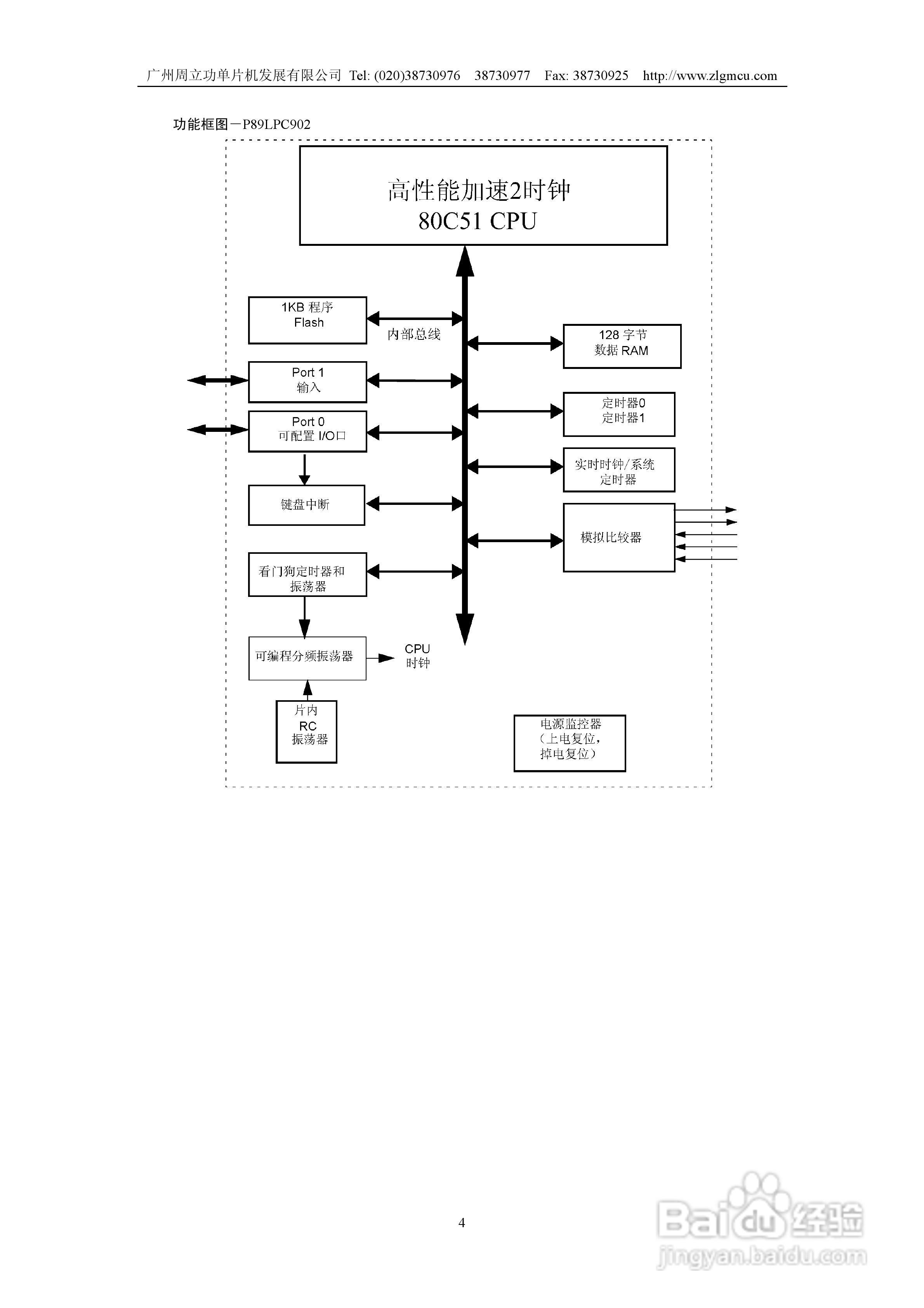
周立功P89LPC901/902/903微控制器使用说明书:[1]
2026-04-23 18:17:48
本篇为《周立功P89LPC901/902/903微控制器使用说明书》,主要介绍该产品的使用方法以及常见故障解决方案。
(共篇)
下一篇:
声明:
本网站引用、摘录或转载内容仅供网站访问者交流或参考,不代表本站立场,如存在版权或非法内容,请联系站长删除,联系邮箱:site.kefu@qq.com。
相关推荐
周立功P89LPC901/902/903微控制器使用说明书:[3]
阅读量:155
周立功LPC2119微控制器使用说明书:[19]
阅读量:169
周立功LPC2292/LPC2294微控制器说明书:[1]
阅读量:86
周立功LPC2292/LPC2294微控制器说明书:[3]
阅读量:129
周立功LPC2292/LPC2294微控制器说明书:[2]
阅读量:76
猜你喜欢
电脑蓝牙怎么打开
字体怎么变大
两个路由器怎么桥接
怎么唱歌好听打开嗓子
有贷款的房子怎么过户
求职目标怎么写
嗓子有痰咳不出咽不下怎么办
电脑怎么玩手机游戏
学习压力大怎么办
信用卡丢了怎么办
猜你喜欢
显卡风扇怎么拆
宝宝满月怎么发朋友圈
航睿导航怎么样
中秋节英语怎么说
卖股票手续费怎么算
怎么样让眼睛变大
雄激素高怎么调理
怎么排版
怎么去痤疮
甘宁怎么死的