指南生活
首页
美食营养
手工爱好
生活家居
返回
指南生活
首页
美食营养
游戏数码
手工爱好
生活家居
健康养生
运动户外
职场理财
情感交际
母婴教育
时尚美容
知识问答
生活知识
生活百科
搜索
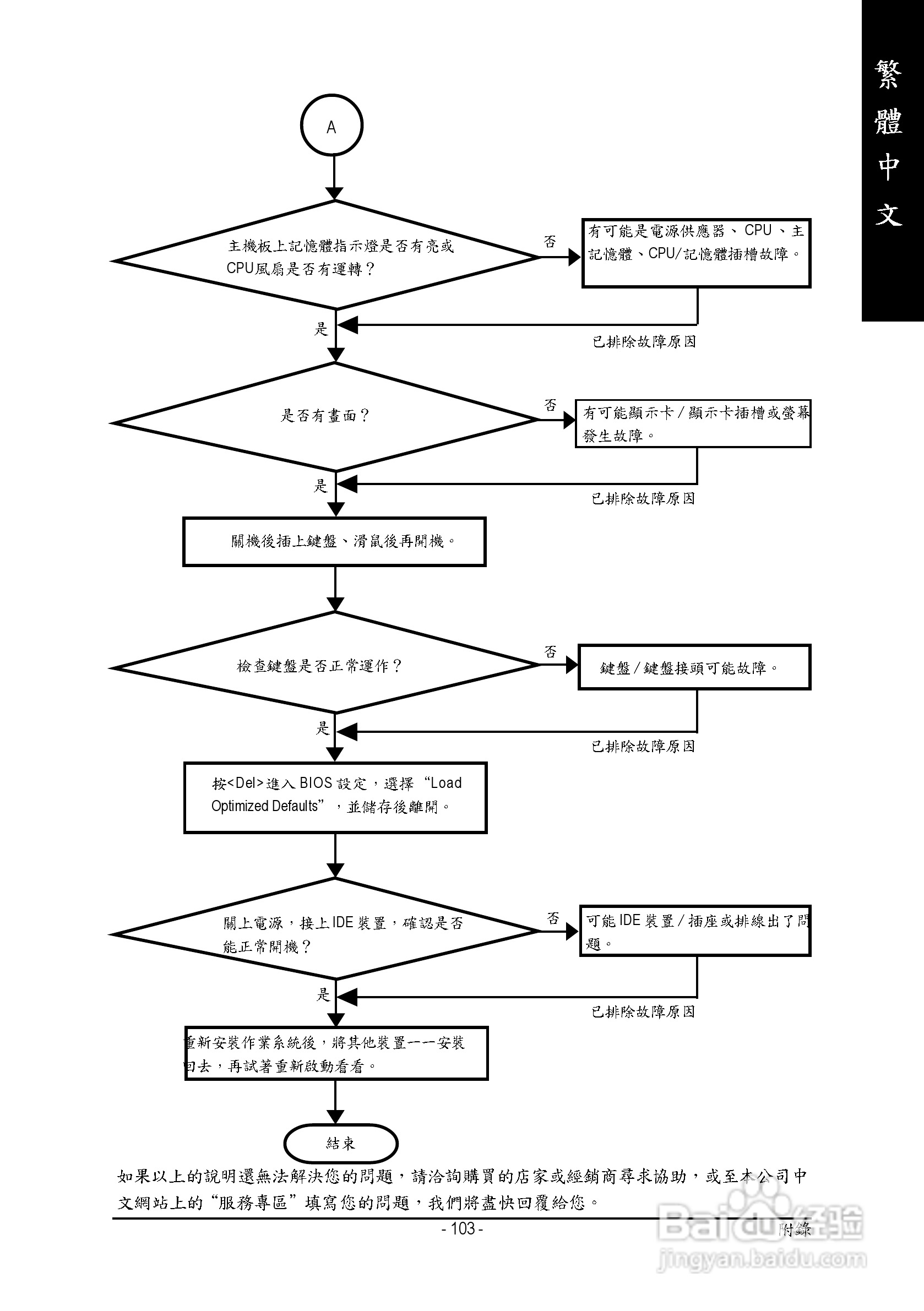
技嘉 GA-K8VT800 (Rev 1.x)主板说明书:[11]
2026-04-22 10:05:30
本篇为《技嘉 GA-K8VT800 (Rev 1.x)主板说明书》,主要介绍该产品的使用方法以及常见故障解决方案。
(共篇)
上一篇:
|
下一篇:
声明:
本网站引用、摘录或转载内容仅供网站访问者交流或参考,不代表本站立场,如存在版权或非法内容,请联系站长删除,联系邮箱:site.kefu@qq.com。
相关推荐
技嘉 GA-K8VT800 (Rev 1.x)主板说明书:[12]
阅读量:187
技嘉 GA-K8VT800 (Rev 1.x)主板说明书:[9]
阅读量:116
技嘉主板bios升级教程
阅读量:156
技嘉主板怎么进bios
阅读量:119
技嘉主板bios设置固态硬盘启动
阅读量:130
猜你喜欢
长高增高的方法
新注册公司名称大全
江西理工大学怎么样
说明方法有哪些及作用
缺铁性贫血怎么办
手相怎么看财运
客厅装修效果图片大全
家常拌面
黄鸟叫声大全
征婚启事怎么写
猜你喜欢
支票大写日期怎么写
买马怎么买
abab式的成语大全
儿童歌曲大全100首连续播放
比喻句大全
科学减肥的最好方法
桂花树的养殖方法和注意事项
清炖猪蹄的家常做法
重铬酸钾怎么读
冬笋怎么做好吃