指南生活
首页
美食营养
手工爱好
生活家居
返回
指南生活
首页
美食营养
游戏数码
手工爱好
生活家居
健康养生
运动户外
职场理财
情感交际
母婴教育
时尚美容
知识问答
生活知识
生活百科
搜索
Pcon PCON-C/CG/CF 控制器定位型使用说明书:[4]
2026-03-28 05:37:50
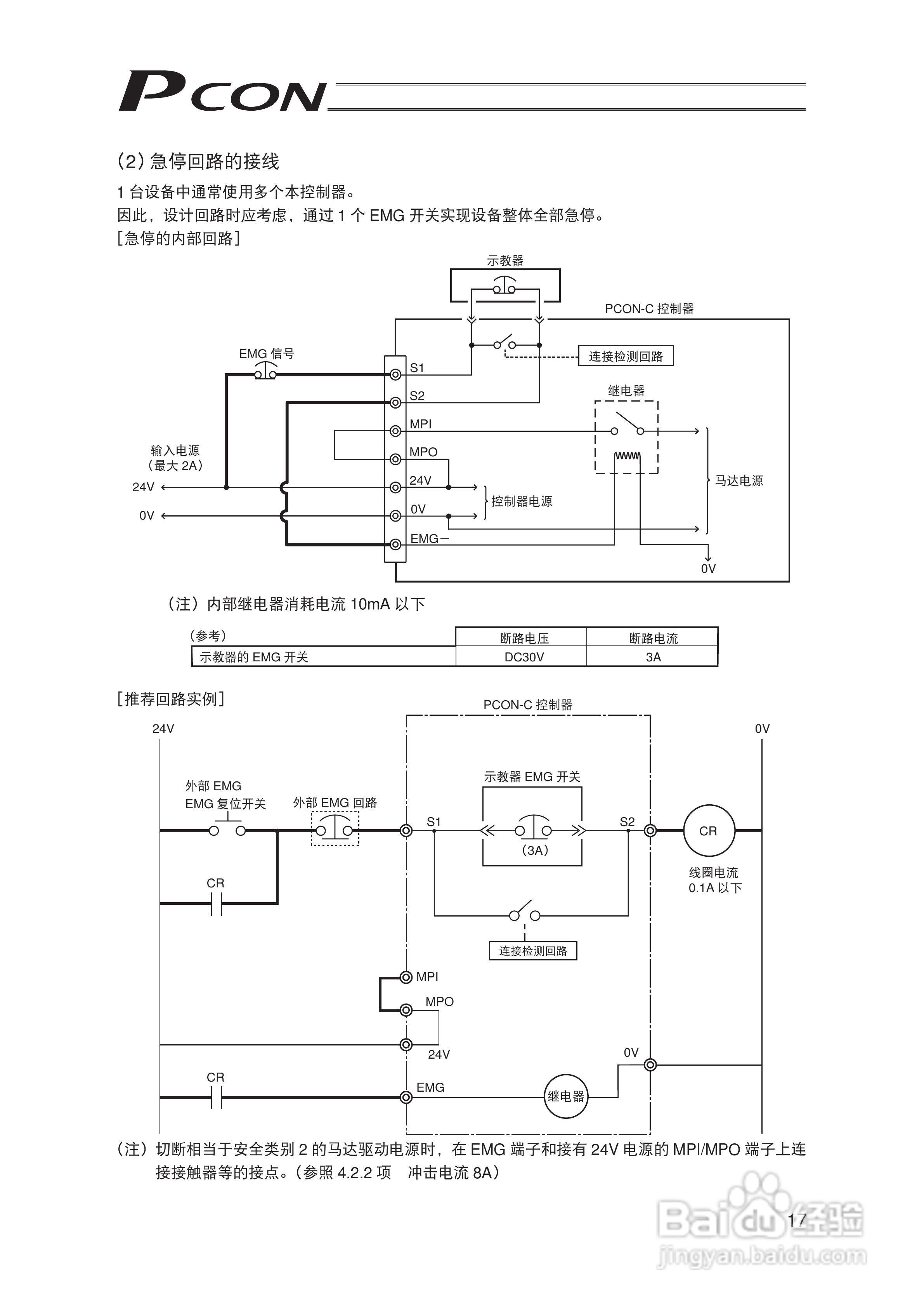
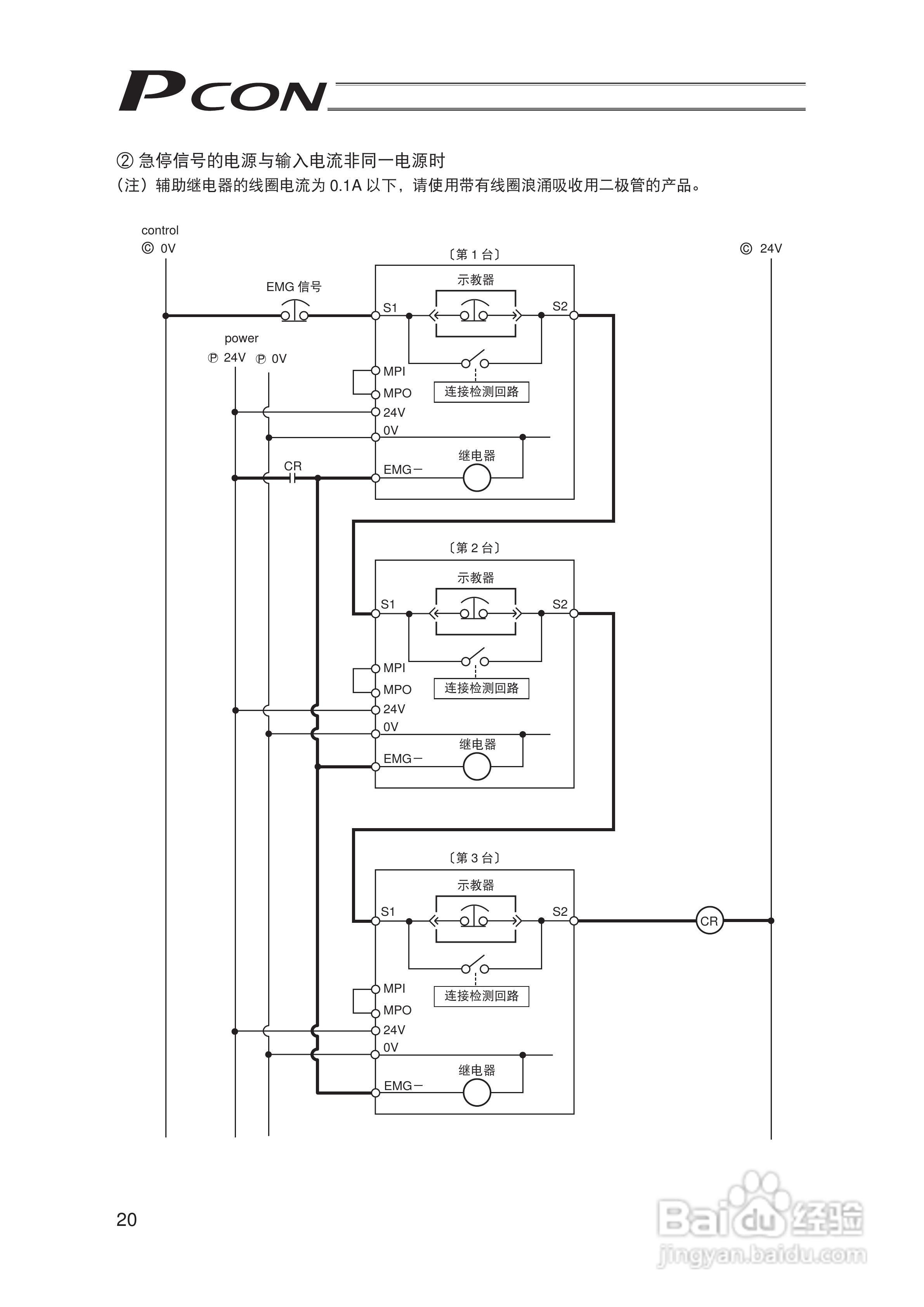
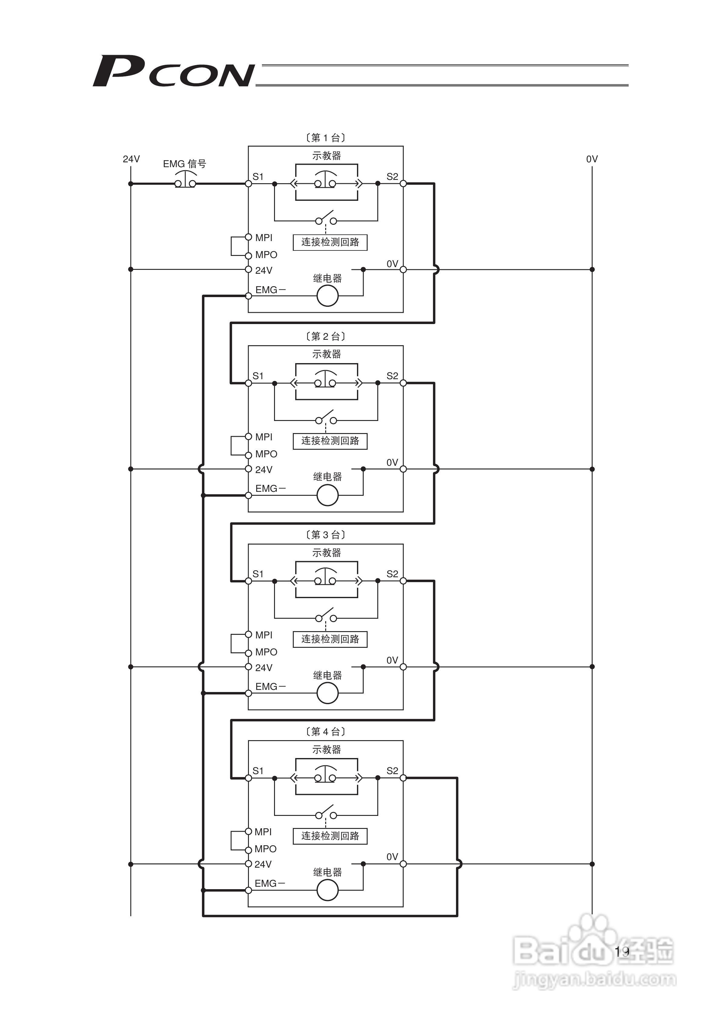
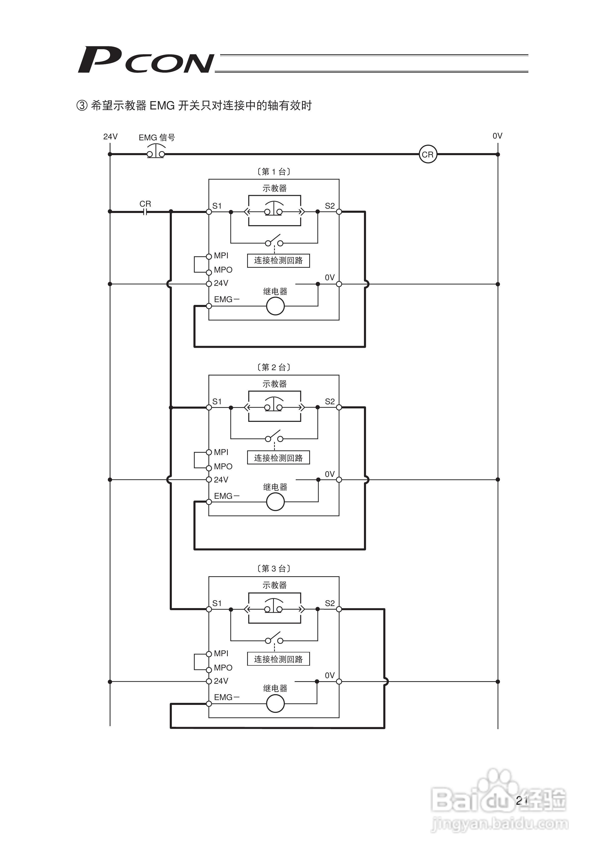
本篇为《Pcon PCON-C/CG/CF 控制器定位型使用说明书》,主要介绍该产品的使用方法以及常见故障解决方案。
(共篇)
上一篇:
|
下一篇:
声明:
本网站引用、摘录或转载内容仅供网站访问者交流或参考,不代表本站立场,如存在版权或非法内容,请联系站长删除,联系邮箱:site.kefu@qq.com。
相关推荐
Pcon PCON-C/CG/CF 控制器定位型使用说明书:[11]
阅读量:196
Pcon PCON-C/CG/CF 控制器定位型使用说明书:[20]
阅读量:154
Pcon PCON-C/CG/CF 控制器定位型使用说明书:[13]
阅读量:70
Pcon PCON-C/CG/CF 控制器定位型使用说明书:[15]
阅读量:126
Pcon PCON-C/CG/CF 控制器定位型使用说明书:[17]
阅读量:196
猜你喜欢
运动视频
枸杞子的功效与作用
东莨菪碱的作用
多巴胺的作用
青少年心理健康知识
lpl什么意思
万人空巷什么意思
初二历史下册知识点
法半夏的功效与作用
狗脊的功效与作用
猜你喜欢
花椒泡脚的功效与作用
古方红糖的功效与作用
红颜祸水什么意思
男生生日送什么礼物好
运动会标志
运动会投稿100字
青果的功效与作用
玉髓的功效与作用
木瓜籽的功效与作用
什么是985和211大学