指南生活
首页
美食营养
手工爱好
生活家居
返回
指南生活
首页
美食营养
游戏数码
手工爱好
生活家居
健康养生
运动户外
职场理财
情感交际
母婴教育
时尚美容
知识问答
生活知识
生活百科
搜索
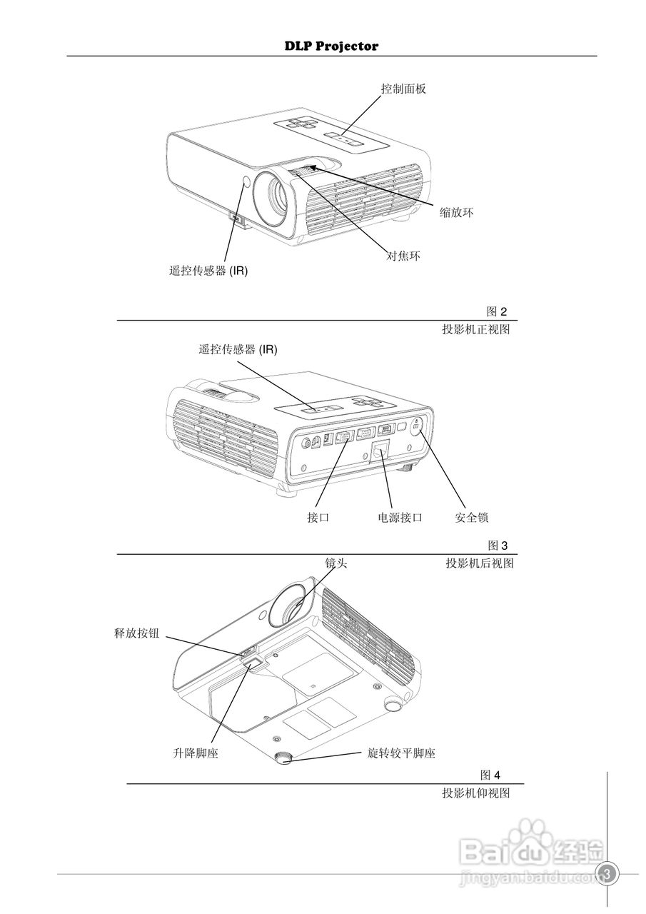
雅图ACTO DX128投影机使用说明书:[1]
2026-04-15 08:41:26
本篇为《雅图ACTO DX128投影机使用说明书》,主要介绍该产品的使用方法以及常见故障解决方案。
(共篇)
下一篇:
声明:
本网站引用、摘录或转载内容仅供网站访问者交流或参考,不代表本站立场,如存在版权或非法内容,请联系站长删除,联系邮箱:site.kefu@qq.com。
相关推荐
雅图ACTO DX128投影机使用说明书:[2]
阅读量:50
雅图ACTO DX125投影机使用说明书:[4]
阅读量:124
投影机怎样连接使用
阅读量:169
投影机的安装与调试
阅读量:27
投影机ip设置
阅读量:182
猜你喜欢
雪莲花的功效与作用
牛初乳的功效与作用
安全小知识顺口溜
节温器的作用
参加运动会
氧氟沙星的作用
点睛之笔的意思什么
红枣泡水的功效与作用
朱砂的作用
冬瓜荷叶茶的功效与作用
猜你喜欢
买房需要什么证件
鱼腥草的功效与作用
知识产权诉讼
2015年什么年
蚯蚓的作用
单相思什么意思
燕山运动
科学家发明了什么
子网掩码的作用
煤矿安全知识