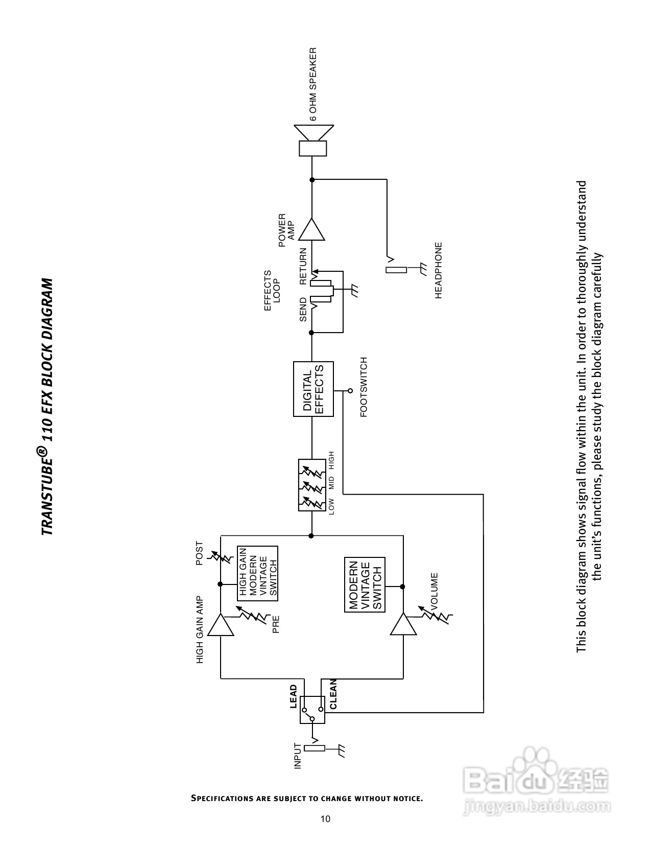
百威Transtube 110 EFX Amp音响说明书:[1]

2026-04-17 23:40:02

百威Transtube 110 EFX Amp音响说明书:[1]

百威Transtube 110 EFX Amp音响说明书:[1]

百威Transtube 110 EFX Amp音响说明书:[1]

百威Transtube 110 EFX Amp音响说明书:[1]

百威Transtube 110 EFX Amp音响说明书:[1]

百威Transtube 110 EFX Amp音响说明书:[1]

百威Transtube 110 EFX Amp音响说明书:[1]

百威Transtube 110 EFX Amp音响说明书:[1]

百威Transtube 110 EFX Amp音响说明书:[1]

百威Transtube 110 EFX Amp音响说明书:[1]

百威Transtube 110 EFX Amp音响说明书:[1]

百威Transtube 110 EFX Amp音响说明书:[1]

百威Transtube 110 EFX Amp音响说明书:[1]

百威Transtube 110 EFX Amp音响说明书:[1]

百威Transtube 110 EFX Amp音响说明书:[1]

百威Transtube 110 EFX Amp音响说明书:[1]

百威Transtube 110 EFX Amp音响说明书:[1]

百威Transtube 110 EFX Amp音响说明书:[1]

百威Transtube 110 EFX Amp音响说明书:[1]

百威Transtube 110 EFX Amp音响说明书:[1]

(共篇)下一篇:
声明:本网站引用、摘录或转载内容仅供网站访问者交流或参考,不代表本站立场,如存在版权或非法内容,请联系站长删除,联系邮箱:site.kefu@qq.com。
猜你喜欢