二次供水水质物联网监测解决方案
1、产品详情
二次供水水质物联网监测应用聚焦水环境治理的重点民生问题,通过部署在居民区二次供水系统内部的物联网水质传感器,采集水体信息,为城市二次供水的工作长效管理、跟踪评价提供坚实的数据基础。二次供水水质物联网监测系统的建设,弥补无法实时获取二次供水水质变化情况,通过获取高时间分辨率、高空间分辨率的水质监测大数据,实时分析水质变化情况,为各级管理部门提供二次供水水质的数据,确保市民用水安全,提高居民的生活保障力度。
系统由应用层、平台层、传输层和感知层构成,其中监测设备通过NB-IoT、LoRa窄带物联技术或者GPRS进行通信,感知数据接入物联网监测平台。

2、1) 监测指标
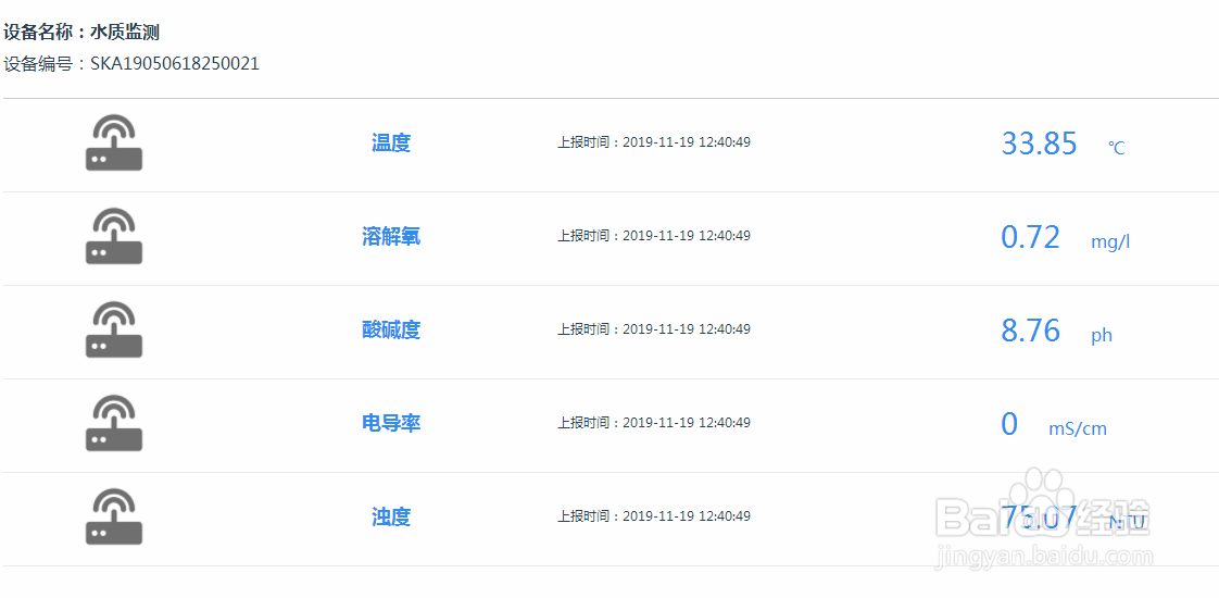
根据《城市供水水质标准》(CJ-T 206-2005)、《生活饮用水卫生标准》(GB5749-2006)、《二次供水设施卫生规范》(GB17051-1997),二次供水选取余氯、浊度等指标来评价水体质量。
(2) 数据传输
监测设备监测数据可通过NB-IoT、LoRa或GPRS等方式进行上传,数据上传频率默认为15min/次(可根据用户需求设定)。
(3) 监测设备
水质物联网监测设备主要包括一体式机柜和传感器两部分
(4) 部署方案
二次供水水质物联网监测是在水箱旁部署专用检测箱,在入户水管处增加三通管,其中一路通往用户,另一路将池水引入检测箱内的检测池中,确保检测的水与入户饮用水同质量。通过部署在检测池内的专用水质传感器监测相关水质数据。水样经由房屋雨水排口排出。测量前会给予一定时间的水流通来清洗检测池。其设备安装示意图如下图所示:

3、应用场景
本方案适用于智慧城市、二次供水、居民饮用水的水质监测。




4、产品亮点
(1) 实时监测
将传统水质监测与新兴物联网技术相结合,实现水箱水质实时监测:高空间分辨率:易于大量部署,形成完善的监测网络; 高时间分辨率:水质数据24小时实时监测;
(2) GIS展示
通过水质数据与GIS系统结合,直观的展现水质变化情况,并提供移动端水质综合信息服务,具体内容包括:通过不同颜色展示各个监测点的水质情况;具有信息面板,展示各个监测点的指标信息;GIS系统的其他基本操作,如:放大/缩小,拖动等。
(3) 超标报警
通过居民区二次供水水质信息的实时分析,推送水质劣化事件。当水质监测值到达预警限值时,发送超标报警。管理人员可及时了解水质超标情况,迅速采取治理措施。