指南生活
首页
美食营养
手工爱好
生活家居
返回
指南生活
首页
美食营养
游戏数码
手工爱好
生活家居
健康养生
运动户外
职场理财
情感交际
母婴教育
时尚美容
知识问答
生活知识
搜索
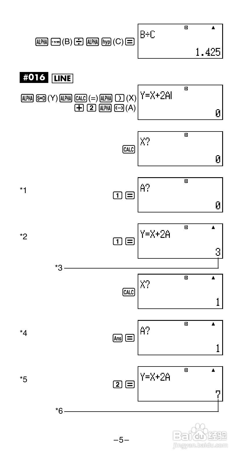
Casio FX-570ES / 991ES 科学计算器说明书:[1]
2025-12-20 15:58:02
本篇为《Casio FX-570ES / 991ES 科学计算器说明书》,主要介绍该产品的使用方法以及常见故障解决方案。
(共篇)
下一篇:
声明:
本网站引用、摘录或转载内容仅供网站访问者交流或参考,不代表本站立场,如存在版权或非法内容,请联系站长删除,联系邮箱:site.kefu@qq.com。
相关推荐
Casio FX-570ES / 991ES 科学计算器说明书:[6]
阅读量:57
Casio FX-570ES型科学计算器说明书:[8]
阅读量:91
Casio FX-570ES型科学计算器说明书:[4]
阅读量:51
如何使用fx-991es plus计算器解方程
阅读量:83
科学计算器基本用法
阅读量:175
猜你喜欢
协议离婚需要什么手续
天津体育学院运动与文化艺术学院
7月1日是什么节
下一次阅兵是什么时候
什么是大保健
tfboys什么意思
运动器械
氯芬黄敏片主治什么
牙龈红肿是什么原因
strength是什么意思
猜你喜欢
荡气回肠是什么意思
人无完人是什么意思
非农数据是什么意思
狂犬疫苗什么时候打
届时什么意思
绿萝的养殖方法
什么显卡性价比高
翔是什么
什么水果含维生素c
肝脏在什么位置