指南生活
首页
美食营养
手工爱好
生活家居
返回
指南生活
首页
美食营养
游戏数码
手工爱好
生活家居
健康养生
运动户外
职场理财
情感交际
母婴教育
时尚美容
知识问答
生活知识
搜索
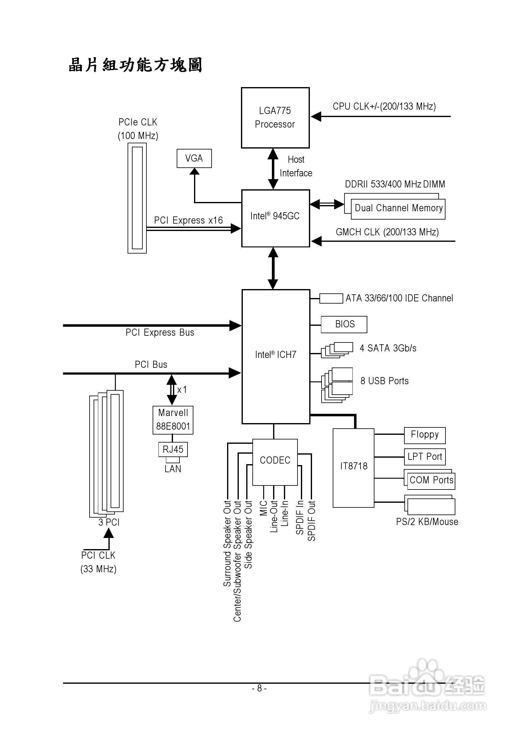
技嘉GA-945GCMX-S2 (rev. 6.6)型主板说明书:[1]
2026-01-08 11:21:07
本篇为《技嘉GA-945GCMX-S2 (rev. 6.6)型主板说明书》,主要介绍该产品的使用方法以及常见故障解决方案。
(共篇)
下一篇:
声明:
本网站引用、摘录或转载内容仅供网站访问者交流或参考,不代表本站立场,如存在版权或非法内容,请联系站长删除,联系邮箱:site.kefu@qq.com。
相关推荐
技嘉GA-945GCMX-S2 (rev. 6.6)型主板说明书:[6]
阅读量:44
技嘉GA-945GCMX-S2 (rev. 6.6)型主板说明书:[5]
阅读量:119
技嘉GA-945GCMX-S2型主板说明书:[7]
阅读量:100
技嘉主板bios升级教程
阅读量:95
技嘉主板怎么进bios
阅读量:73
猜你喜欢
表达方式有哪些及作用
眼药水的作用
达泊西汀的功效与作用及多少钱一盒
念珠菌用什么药
初中语文知识大全
治疗类风湿有什么好办法
中国少年先锋队知识
牛磺酸的功效与作用
注册商标需要什么条件
茴香的功效与作用
猜你喜欢
藕粉的作用与功效
燕窝的作用
胡萝卜的功效与作用
信用卡有什么好处
风靡什么意思
双离合什么意思
运动绷带
落寞什么意思
记录仪什么牌子好
腊八蒜用什么醋