指南生活
首页
美食营养
手工爱好
生活家居
返回
指南生活
首页
美食营养
游戏数码
手工爱好
生活家居
健康养生
运动户外
职场理财
情感交际
母婴教育
时尚美容
知识问答
生活知识
搜索
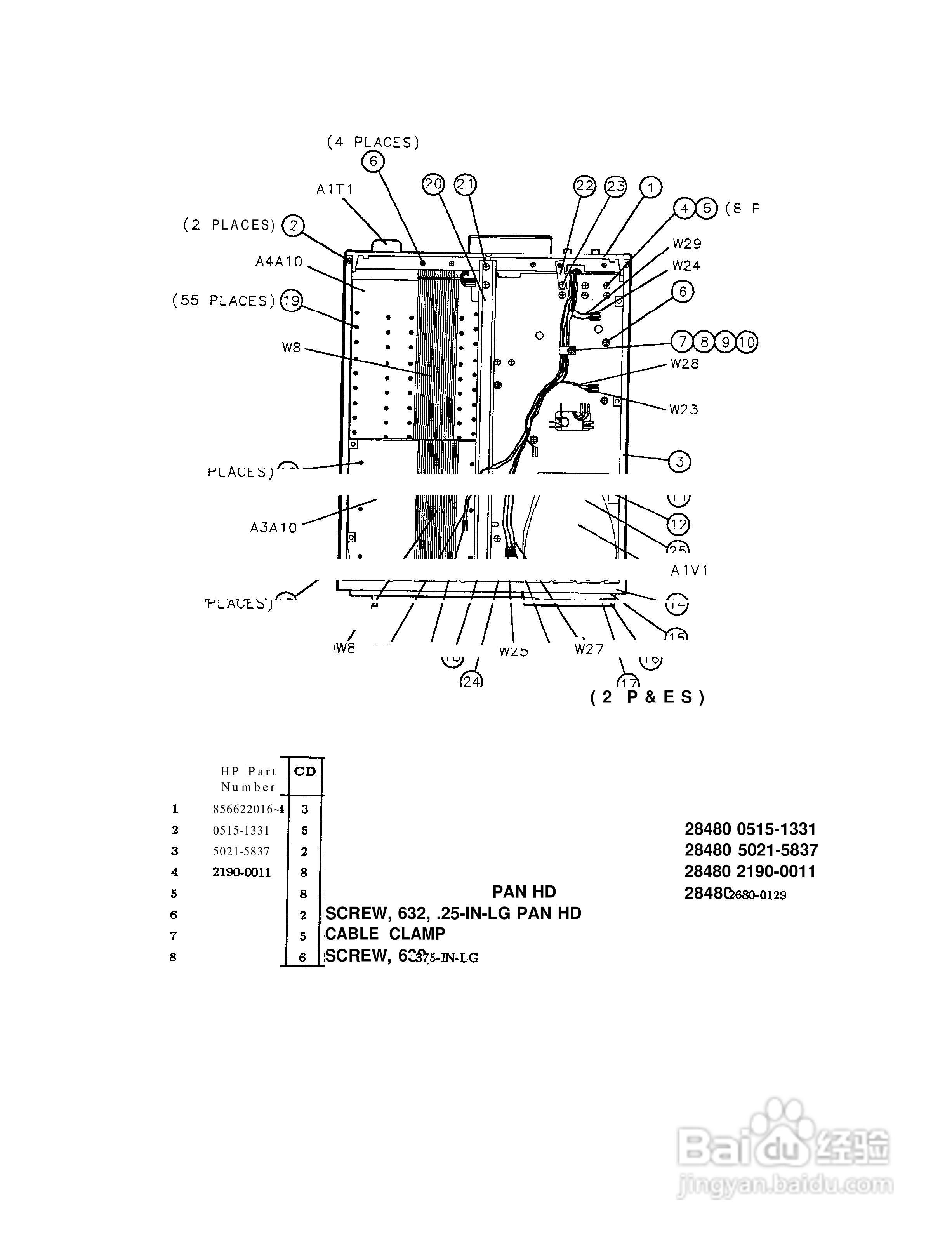
HP 85662A频谱分析仪使用说明书:[59]
2026-01-20 16:34:45
本篇为《HP 85662A频谱分析仪使用说明书》,主要介绍该产品的使用方法以及常见故障解决方案。
(共篇)
上一篇:
|
下一篇:
声明:
本网站引用、摘录或转载内容仅供网站访问者交流或参考,不代表本站立场,如存在版权或非法内容,请联系站长删除,联系邮箱:site.kefu@qq.com。
相关推荐
HP 85662A频谱分析仪使用说明书:[60]
阅读量:165
HP 85662A频谱分析仪使用说明书:[33]
阅读量:23
HP 85662A频谱分析仪使用说明书:[40]
阅读量:21
频谱分析仪维修维护保养的基本方法
阅读量:128
HP 85662A频谱分析仪使用说明书:[42]
阅读量:62
猜你喜欢
汽车香水什么牌子好
堂客是什么意思
钓鱼伞什么牌子好
破天荒是什么意思
hall是什么意思
品位的意思
艾条什么牌子好
ppp是什么意思
years是什么意思
新英雄什么时候出
猜你喜欢
death是什么意思
acg是什么意思
立冬和冬至什么区别
什么星座的男人最好
祖国祝福语
轩辕传奇什么职业厉害
处理照片用什么软件好
nap是什么意思
清白的意思
烟视媚行的意思