指南生活
首页
美食营养
手工爱好
生活家居
返回
指南生活
首页
美食营养
游戏数码
手工爱好
生活家居
健康养生
运动户外
职场理财
情感交际
母婴教育
时尚美容
知识问答
生活知识
生活百科
搜索
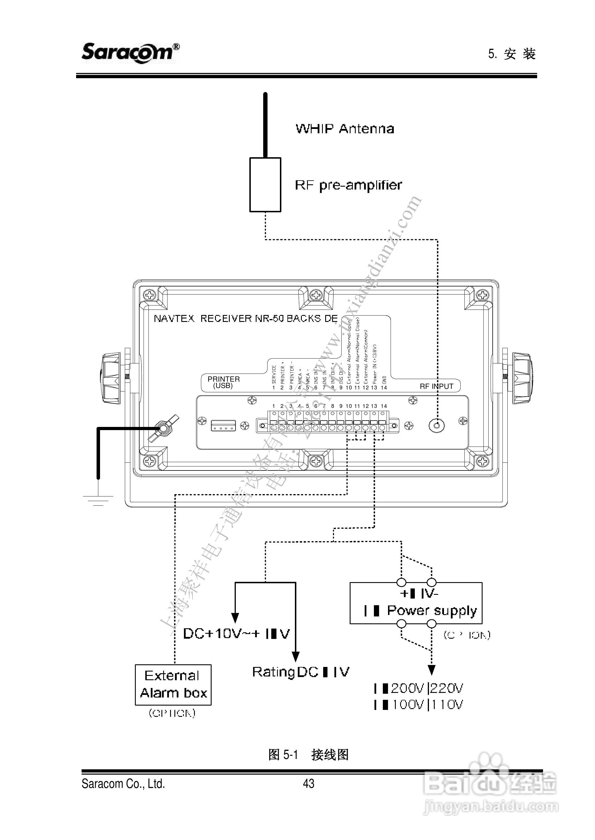
NR50航用警告接收机用户手册:[6]
2026-03-29 02:36:39
本篇为《NR50航用警告接收机用户手册》,主要介绍该产品的使用方法以及常见故障解决方案。
(共篇)
上一篇:
|
下一篇:
声明:
本网站引用、摘录或转载内容仅供网站访问者交流或参考,不代表本站立场,如存在版权或非法内容,请联系站长删除,联系邮箱:site.kefu@qq.com。
相关推荐
NR50航用警告接收机用户手册:[5]
阅读量:172
如何使用GPS接收机
阅读量:27
NR50航用警告接收机用户手册:[7]
阅读量:82
Saracom 航行警告接收机 (NR-50C V1.11中文版) 用户:[4]
阅读量:156
Saracom 航行警告接收机 (NR-50C V1.11中文版) 用户:[1]
阅读量:53
猜你喜欢
四面弹是什么面料
苗族的传统节日是什么
普洱是什么茶
什么的小路
华侨是什么意思
红色代表什么
int是什么意思
头发少适合什么发型
skr什么意思
guess什么意思
猜你喜欢
雪花像什么的比喻句
陶罐和铁罐告诉我们什么道理
阴囊瘙痒用什么药
3月21日是什么星座
身上长红疙瘩很痒是什么原因
sandro是什么牌子
什么是童话故事
镀金是什么意思
流明是什么意思
同妻是什么意思