指南生活
首页
美食营养
手工爱好
生活家居
返回
指南生活
首页
美食营养
游戏数码
手工爱好
生活家居
健康养生
运动户外
职场理财
情感交际
母婴教育
时尚美容
知识问答
生活知识
生活百科
搜索
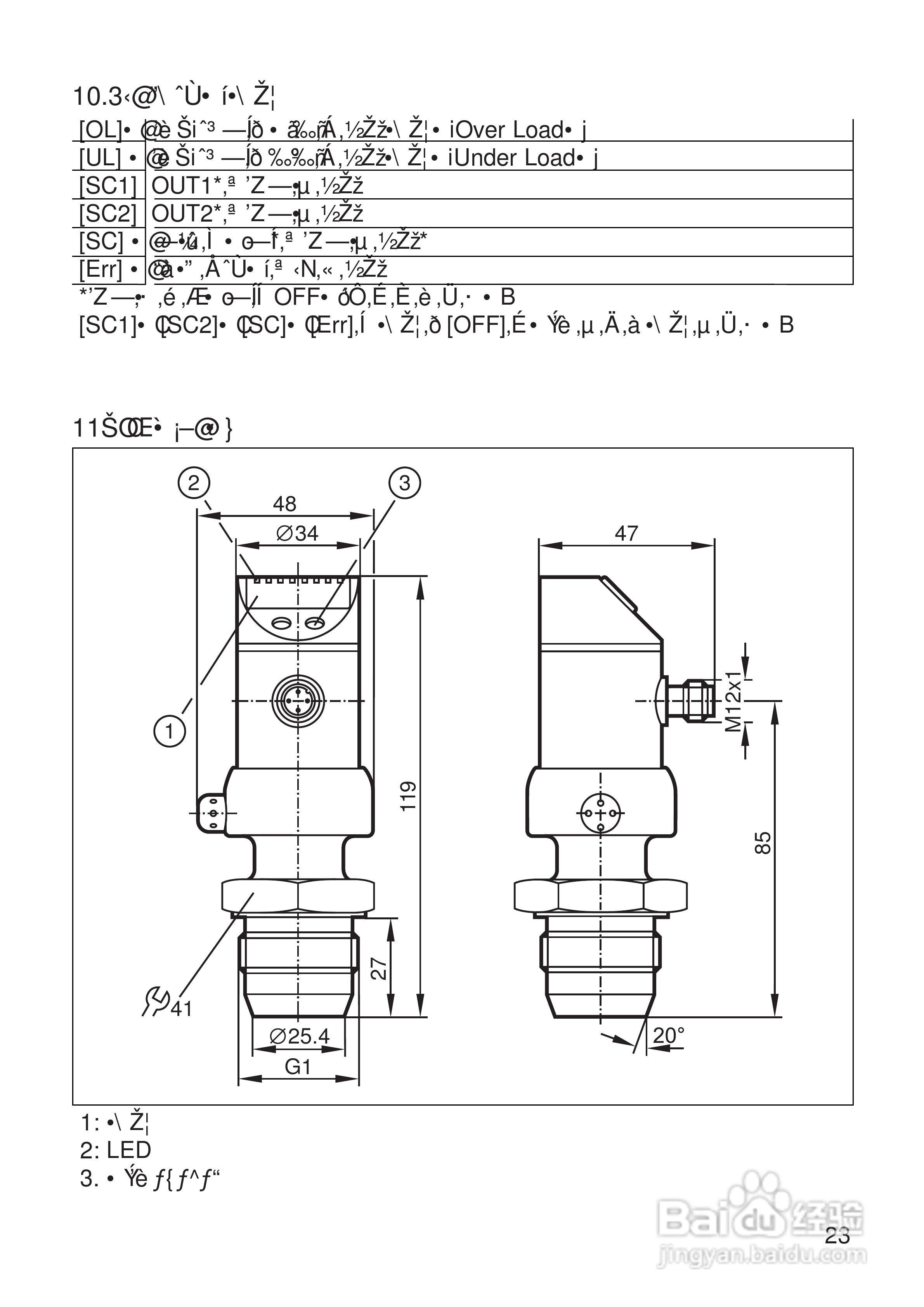
ifm PIM693 PIM694压力传感器说明书:[3]
2026-03-27 04:35:06
本篇为《ifm PIM693 PIM694压力传感器说明书》,主要介绍该产品的使用方法以及常见故障解决方案。
(共篇)
上一篇:
声明:
本网站引用、摘录或转载内容仅供网站访问者交流或参考,不代表本站立场,如存在版权或非法内容,请联系站长删除,联系邮箱:site.kefu@qq.com。
相关推荐
ifm PIM693 PIM694压力传感器说明书:[2]
阅读量:184
ifm PN78压力传感器说明书:[3]
阅读量:60
IFM SM6000 传感器说明书:[3]
阅读量:49
ifm PN78压力传感器说明书:[1]
阅读量:139
压力传感器的仿真
阅读量:40
猜你喜欢
手脱皮最佳治疗方法
怎么删除电脑开机密码
豆腐汤的家常做法
销售方法
辞职原因怎么说合适
我的世界游戏大全
河蚌怎么做好吃
怎么唱情歌歌词
健身用英语怎么说
怎么设置无线网
猜你喜欢
油焖大虾家常做法
怎么腌制白萝卜
dnf炽星魔盒怎么开
发财树的养殖方法和注意事项
风味茄子的家常做法
背书方法
烧饼修改器怎么用
红烧鸡爪的家常做法
二年级古诗大全
好吃的菜谱大全