指南生活
首页
美食营养
手工爱好
生活家居
返回
指南生活
首页
美食营养
游戏数码
手工爱好
生活家居
健康养生
运动户外
职场理财
情感交际
母婴教育
时尚美容
知识问答
生活知识
生活百科
搜索
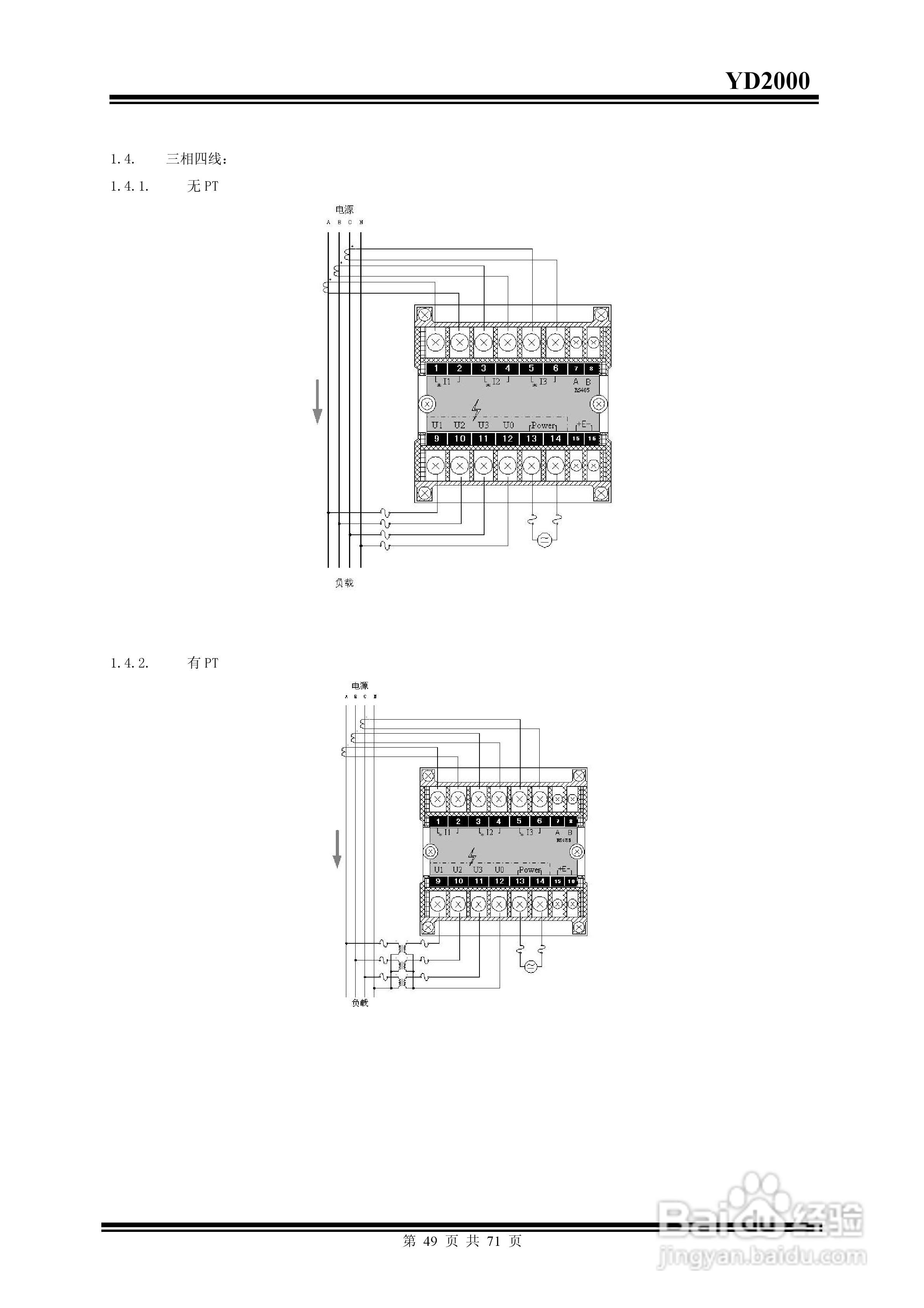
雅达YD2000智能电力监测仪说明书:[5]
2026-05-18 14:25:30
本篇为《雅达YD2000智能电力监测仪说明书》,主要介绍该产品的使用方法以及常见故障解决方案。
(共篇)
上一篇:
|
下一篇:
声明:
本网站引用、摘录或转载内容仅供网站访问者交流或参考,不代表本站立场,如存在版权或非法内容,请联系站长删除,联系邮箱:site.kefu@qq.com。
相关推荐
音叉液位开关接线及安装
阅读量:112
怎样让v3驱动安装在xp系统上
阅读量:188
西门子变频器维修技巧
阅读量:102
EtherCAT主站协议栈
阅读量:169
CCS1316 16端口PS/2 - USB KVM多电脑切换器
阅读量:98
猜你喜欢
电表怎么看度数图解
功能下降怎么办
全景怎么拍
迪卡侬怎么样
怎么发送文件夹
我的世界狗怎么驯服
脑供血不足怎么调理
中国石油大学怎么样
投资回收期怎么算
谢谢日语怎么说
猜你喜欢
上海杉达学院怎么样
pdf文件怎么打印
材料作文怎么写
怎么治痤疮
黑蚂蚁怎么吃
增值业务费怎么取消
怎么压缩照片大小
麦本本笔记本怎么样
影驰固态硬盘怎么样
比亚迪唐怎么样