指南生活
首页
美食营养
手工爱好
生活家居
返回
指南生活
首页
美食营养
游戏数码
手工爱好
生活家居
健康养生
运动户外
职场理财
情感交际
母婴教育
时尚美容
知识问答
生活知识
搜索
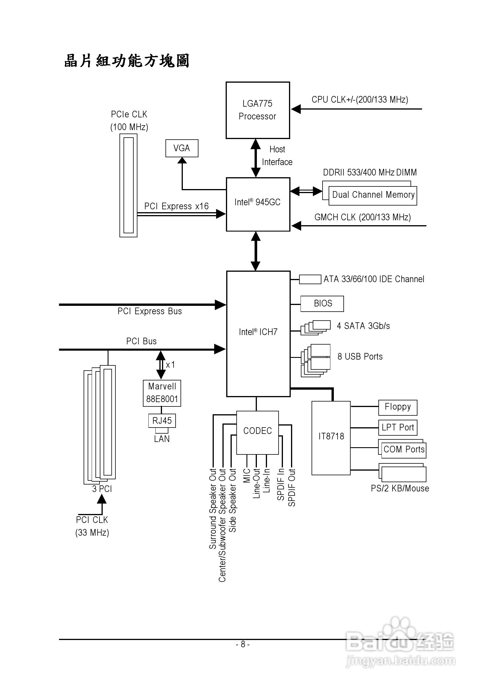
技嘉GA-945GCM-S2 (rev. 2.1)型主板说明书:[1]
2026-01-02 05:46:27
本篇为《技嘉GA-945GCM-S2 (rev. 2.1)型主板说明书》,主要介绍该产品的使用方法以及常见故障解决方案。
(共篇)
下一篇:
声明:
本网站引用、摘录或转载内容仅供网站访问者交流或参考,不代表本站立场,如存在版权或非法内容,请联系站长删除,联系邮箱:site.kefu@qq.com。
相关推荐
技嘉GA-945GCM-S2 (rev. 2.1)型主板说明书:[2]
阅读量:161
技嘉GA-945GCM-S2 (rev. 2.1)型主板说明书:[3]
阅读量:186
技嘉GA-945GCM-S2 (rev. 3.x)型主板说明书:[7]
阅读量:143
技嘉主板bios升级教程
阅读量:151
技嘉主板如何设置内存频率
阅读量:104
猜你喜欢
网上如何申请信用卡
公司欠款不还怎么办
95338是什么电话
如何设置屏保密码
如何预防感冒
tnt是什么意思
如何去美国留学
手机死机怎么刷机
w7系统怎么还原
生活中的小事
猜你喜欢
蒙太奇是什么意思
kiwi是什么意思
如何众叛亲离
补丁怎么安装
月经推迟不来什么原因
陕西国际商贸学院怎么样
proposal怎么写
慎终追远的意思是什么
如何恢复删除的文件
原始社会的生活