指南生活
首页
美食营养
手工爱好
生活家居
返回
指南生活
首页
美食营养
游戏数码
手工爱好
生活家居
健康养生
运动户外
职场理财
情感交际
母婴教育
时尚美容
知识问答
生活知识
生活百科
搜索
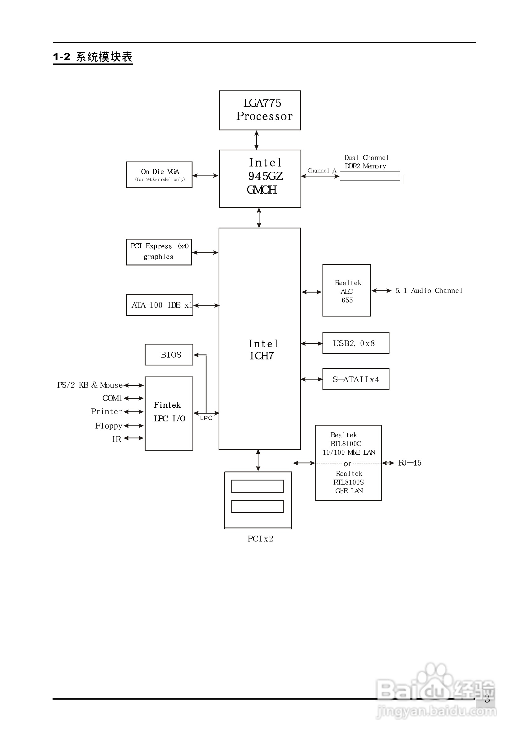
磐正5GZ945-M3型主板说明书:[1]
2026-03-26 12:47:31
本篇为《磐正5GZ945-M3型主板说明书》,主要介绍该产品的使用方法以及常见故障解决方案。
(共篇)
下一篇:
声明:
本网站引用、摘录或转载内容仅供网站访问者交流或参考,不代表本站立场,如存在版权或非法内容,请联系站长删除,联系邮箱:site.kefu@qq.com。
相关推荐
富士康A9DA型主板说明书:[8]
阅读量:30
技嘉GA-P35-DQ6型主板说明书:[6]
阅读量:104
技嘉GA-8I955X Pro型主板说明书:[6]
阅读量:176
华擎ConRoe865PE型主板说明书:[8]
阅读量:79
顶星TM-A9M型主板说明书:[5]
阅读量:177
猜你喜欢
什么是知识分子
罗布麻的功效与作用
肉桂茶的功效与作用
备孕需要检查什么
黑花生的功效与作用
毛冬青的功效与作用
什么是oem
西洋参的作用
通感的作用
灵芝孢子粉的功效与作用
猜你喜欢
红霉素软膏的作用
ko什么意思
23333什么意思
干扰素的作用
什么叫前列腺
黑老虎的功效与作用
清心寡欲什么意思
声卡的作用
龟甲胶的功效与作用
知识产权的概念