指南生活
首页
美食营养
手工爱好
生活家居
返回
指南生活
首页
美食营养
游戏数码
手工爱好
生活家居
健康养生
运动户外
职场理财
情感交际
母婴教育
时尚美容
搜索
AX100无纸记录仪说明书:[24]
2025-10-28 09:46:28
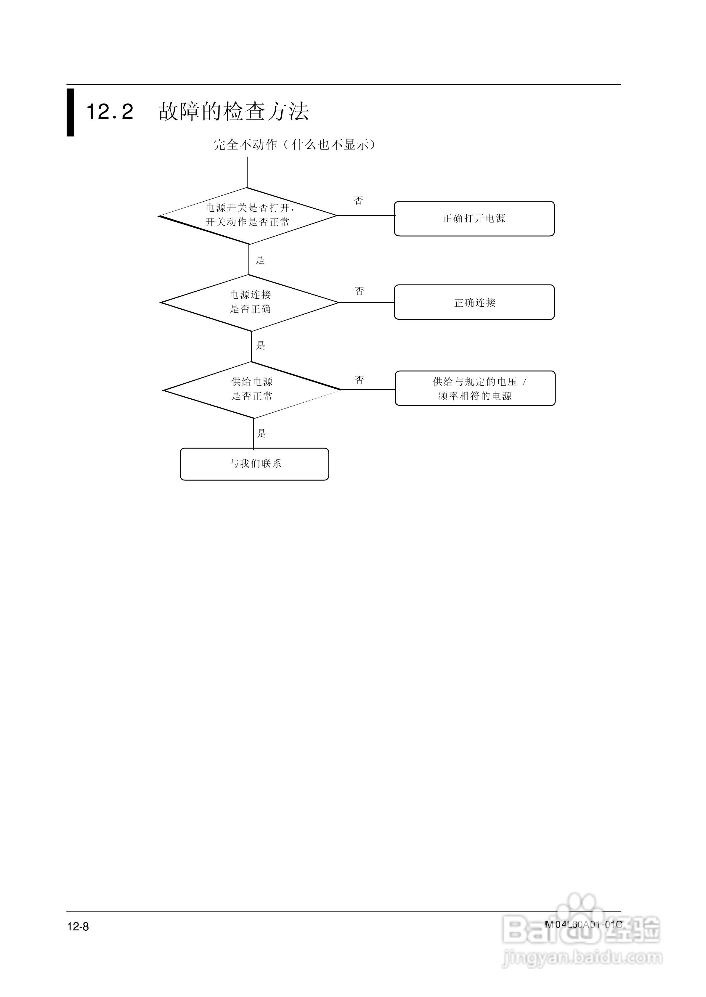
本篇为《AX100无纸记录仪说明书》,主要介绍该产品的使用方法以及常见故障解决方案。
(共篇)
上一篇:
|
下一篇:
声明:
本网站引用、摘录或转载内容仅供网站访问者交流或参考,不代表本站立场,如存在版权或非法内容,请联系站长删除,联系邮箱:site.kefu@qq.com。
相关推荐
AX100无纸记录仪说明书:[20]
阅读量:168
AX100无纸记录仪说明书:[17]
阅读量:168
AX100无纸记录仪说明书:[13]
阅读量:108
AX100无纸记录仪说明书:[18]
阅读量:162
AX100无纸记录仪说明书:[16]
阅读量:95
猜你喜欢
梦见老虎是什么意思
带玉有什么好处
breakdown什么意思
69是什么意思
仙人球的作用
jpeg是什么意思
羌笛何须怨杨柳春风不度玉门关的意思
仲裁是什么意思
什么歌曲最好听
语重心长的意思
猜你喜欢
easy是什么意思
平邮是什么意思
ace是什么意思
commitment什么意思
萦绕的意思
张冠李戴的意思
auto是什么意思车上的
插座开关什么牌子好
沉甸甸的意思
冬虫夏草功效与作用