指南生活
首页
美食营养
手工爱好
生活家居
返回
指南生活
首页
美食营养
游戏数码
手工爱好
生活家居
健康养生
运动户外
职场理财
情感交际
母婴教育
时尚美容
知识问答
生活知识
搜索
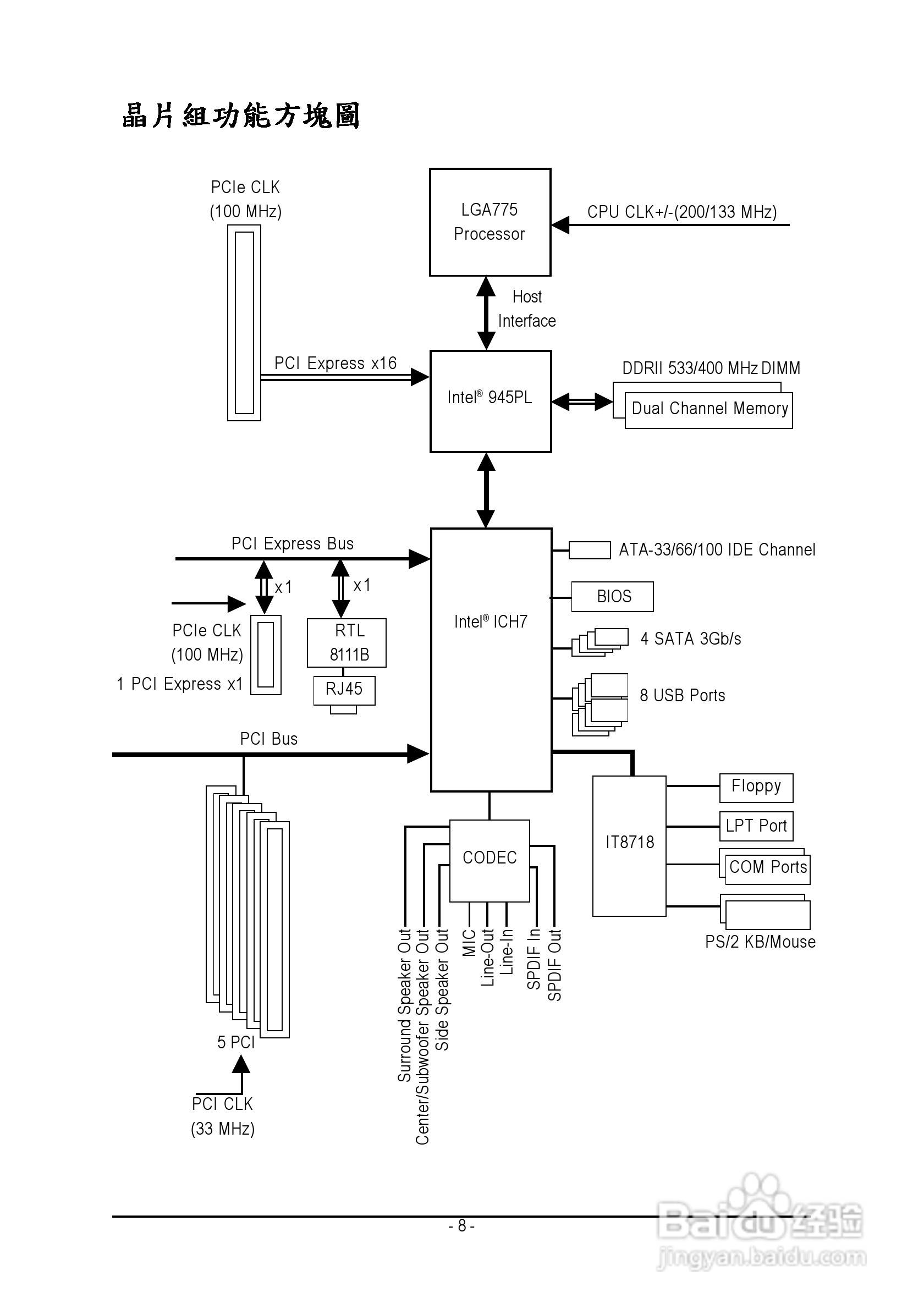
技嘉GA-945PL-S3E型主板说明书:[1]
2025-12-20 10:27:43
本篇为《技嘉GA-945PL-S3E型主板说明书》,主要介绍该产品的使用方法以及常见故障解决方案。
(共篇)
下一篇:
声明:
本网站引用、摘录或转载内容仅供网站访问者交流或参考,不代表本站立场,如存在版权或非法内容,请联系站长删除,联系邮箱:site.kefu@qq.com。
相关推荐
Ghost win7系统下如何解决IP地址冲突
阅读量:25
如何给电脑快速分区
阅读量:139
Win7系统如何更改计算机名?
阅读量:67
win7装系统一键U盘启动盘制作工具
阅读量:61
怎么装双系统?电脑双系统的安装步骤是什么
阅读量:40
猜你喜欢
身份证复印件有什么用
密蒙花的功效与作用
烧水壶什么牌子好
透明质酸钠的作用
时间继电器的作用
have是什么意思
mac地址是什么意思
独树一帜的意思
休憩的意思
梦见鬼是什么意思
猜你喜欢
牛仔外套搭配什么裤子
cvt无级变速是什么意思
预科是什么意思
什么是扁平苔藓
灵芝酒的功效与作用
什么是因特网
安可什么意思
精致的意思
什么叫御姐
t波异常是什么意思