指南生活
首页
美食营养
手工爱好
生活家居
返回
指南生活
首页
美食营养
游戏数码
手工爱好
生活家居
健康养生
运动户外
职场理财
情感交际
母婴教育
时尚美容
知识问答
生活知识
生活百科
搜索
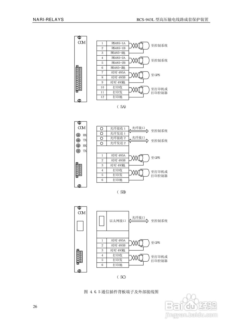
南瑞RCS-943L型高压输电线路成套保护装置技术说明书:[3]
2026-04-27 19:45:04
本篇为《南瑞RCS-943L型高压输电线路成套保护装置技术说明书》,主要介绍该产品的使用方法以及常见故障解决方案。
(共篇)
上一篇:
|
下一篇:
声明:
本网站引用、摘录或转载内容仅供网站访问者交流或参考,不代表本站立场,如存在版权或非法内容,请联系站长删除,联系邮箱:site.kefu@qq.com。
相关推荐
易语言如何高效快速的将超级列表框导出EXCEL
阅读量:108
PE系统分区表重建分区表的教程
阅读量:107
Win8显示IME已禁用
阅读量:195
如何使用XP放大镜功能
阅读量:127
360浏览器如何在收藏栏左侧显示手机收藏夹
阅读量:89
猜你喜欢
什么是体外受精
手机自动关机是什么原因
淘客是什么
排水量是什么意思
什么手什么脚
mature什么意思
什么奶粉好啊
爱情是什么样子的
麻风病是什么
脖子酸痛是什么原因
猜你喜欢
三险一金是什么
wifi是什么意思
sgcc是什么材质
修辞手法是什么意思
石墨烯是什么
724是什么意思
海里有什么
attention什么意思
郁闷是什么意思
pb是什么元素