指南生活
首页
美食营养
手工爱好
生活家居
返回
指南生活
首页
美食营养
游戏数码
手工爱好
生活家居
健康养生
运动户外
职场理财
情感交际
母婴教育
时尚美容
知识问答
生活知识
生活百科
搜索
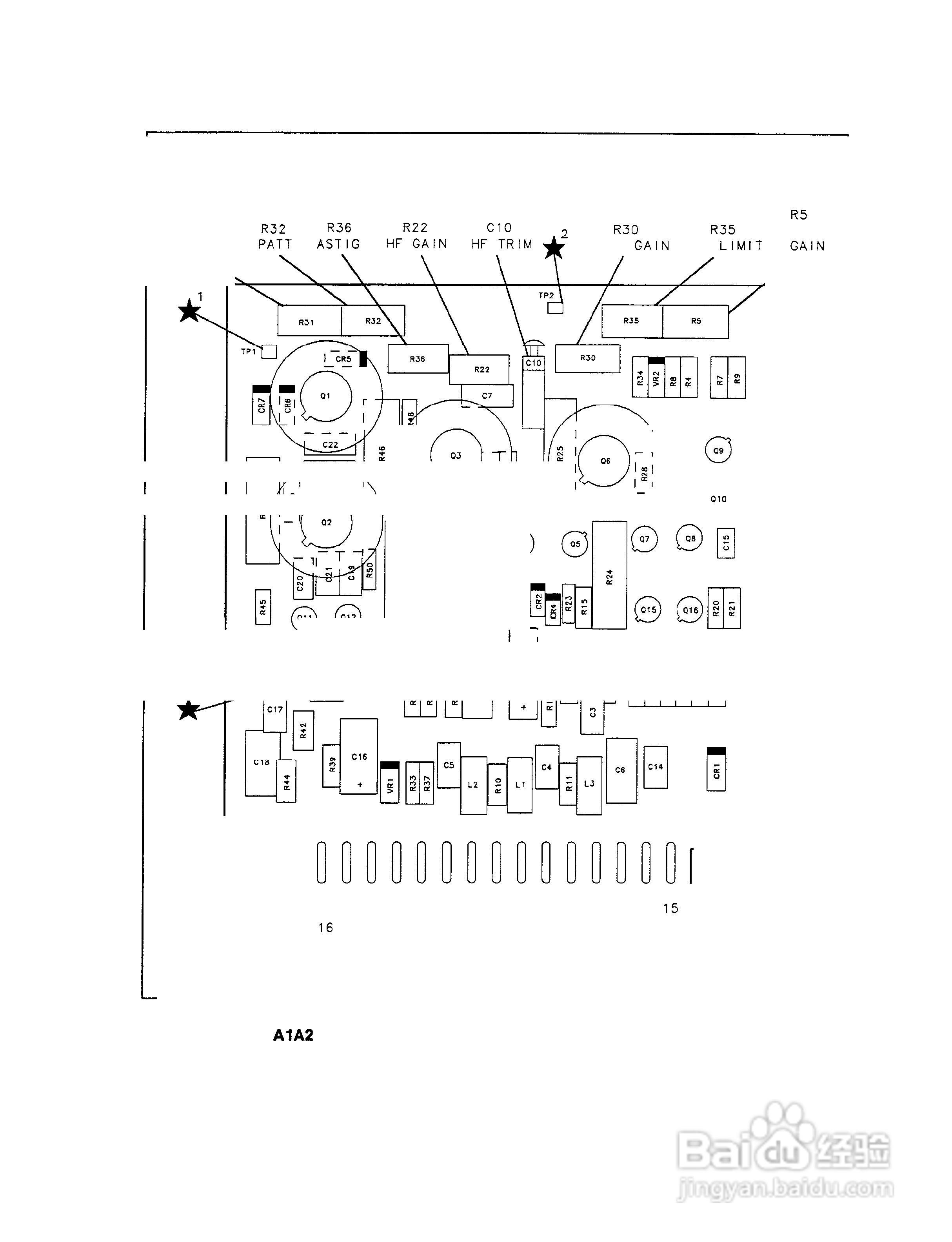
HP 85662A频谱分析仪使用说明书:[5]
2026-04-22 12:32:32
本篇为《HP 85662A频谱分析仪使用说明书》,主要介绍该产品的使用方法以及常见故障解决方案。
(共篇)
上一篇:
|
下一篇:
声明:
本网站引用、摘录或转载内容仅供网站访问者交流或参考,不代表本站立场,如存在版权或非法内容,请联系站长删除,联系邮箱:site.kefu@qq.com。
相关推荐
HP 85662A频谱分析仪使用说明书:[51]
阅读量:105
HP 85662A频谱分析仪使用说明书:[60]
阅读量:79
HP 85662A频谱分析仪使用说明书:[49]
阅读量:166
频谱分析仪维修维护保养的基本方法
阅读量:85
HP 85662A频谱分析仪使用说明书:[42]
阅读量:99
猜你喜欢
spot是什么意思
会计考研考什么
报纸排版用什么软件
什么时候放寒假
补充养老保险是什么
酱萝卜的腌制方法
双归是什么意思
性情什么意思
妙笔生花是什么意思
sns是什么
猜你喜欢
微博是什么意思
truelove什么意思
九月初九是什么节
一次什么的尝试作文
三校生是什么
什么是数控技术
it是什么牌子
虎皮兰的养殖方法
七月七是什么节
运动器材