指南生活
首页
美食营养
手工爱好
生活家居
返回
指南生活
首页
美食营养
游戏数码
手工爱好
生活家居
健康养生
运动户外
职场理财
情感交际
母婴教育
时尚美容
搜索
OAKION pH300/310防水便携式pH/mV/温度仪使用说明书:[3]
2025-10-29 04:25:30
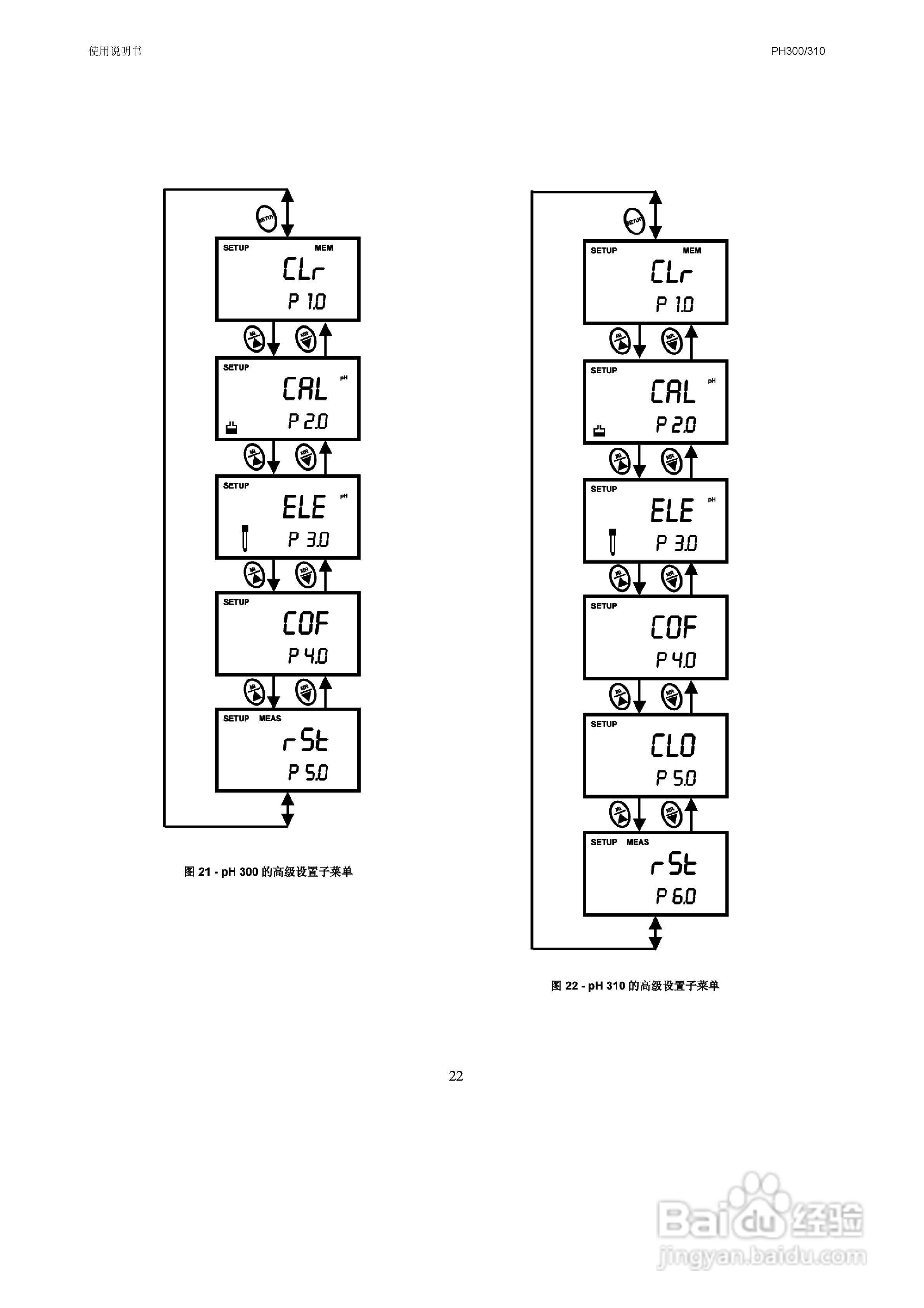
本篇为《OAKION pH300/310防水便携式pH/mV/温度仪使用说明书》,主要介绍该产品的使用方法以及常见故障解决方案。
(共篇)
上一篇:
|
下一篇:
声明:
本网站引用、摘录或转载内容仅供网站访问者交流或参考,不代表本站立场,如存在版权或非法内容,请联系站长删除,联系邮箱:site.kefu@qq.com。
相关推荐
Win7系统如何设置计算机内存,解决内存不足问题
阅读量:124
如何禁用Windows 10的自动更新服务
阅读量:189
Microsoft Office Ultimate 2007激活方法
阅读量:152
WIN7使用攻略:[11]更改用户文档默认存放位置
阅读量:50
如何修改windows缓存位置和清理缓存
阅读量:76
猜你喜欢
wtf什么意思
又什么又什么四字词语
固态硬盘是什么意思
loop是什么意思
洗礼是什么意思
余数是什么
礻字旁的字与什么有关
属马的和什么属相最配
悖论是什么意思
长大以后我只能奔跑是什么歌
猜你喜欢
ic卡是什么
20年是什么婚
花胶是什么东西
六月是什么星座
ip是什么意思
农历七月十四是什么节日
p站是什么意思啊
touch是什么意思
大便干结成颗粒状是什么原因
果胶是什么