经营范围增加怎么办理
1、打开手机上的地图软件,搜索当地的市民中心或者政务服务中心


2、搜索到后亲自前往市民中心或政务服务中心,找到市场监管局窗口,申请办理增加经营范围


3、领取变更经营范围通知书,补齐相关材料,即可增加经营范围

1、打开电脑百度查找国家服务网,登录你的账号,依次选择你所在的省份、市、区,如下图步骤





2、在区一级的行政服务网内,搜索“营业执照变更”


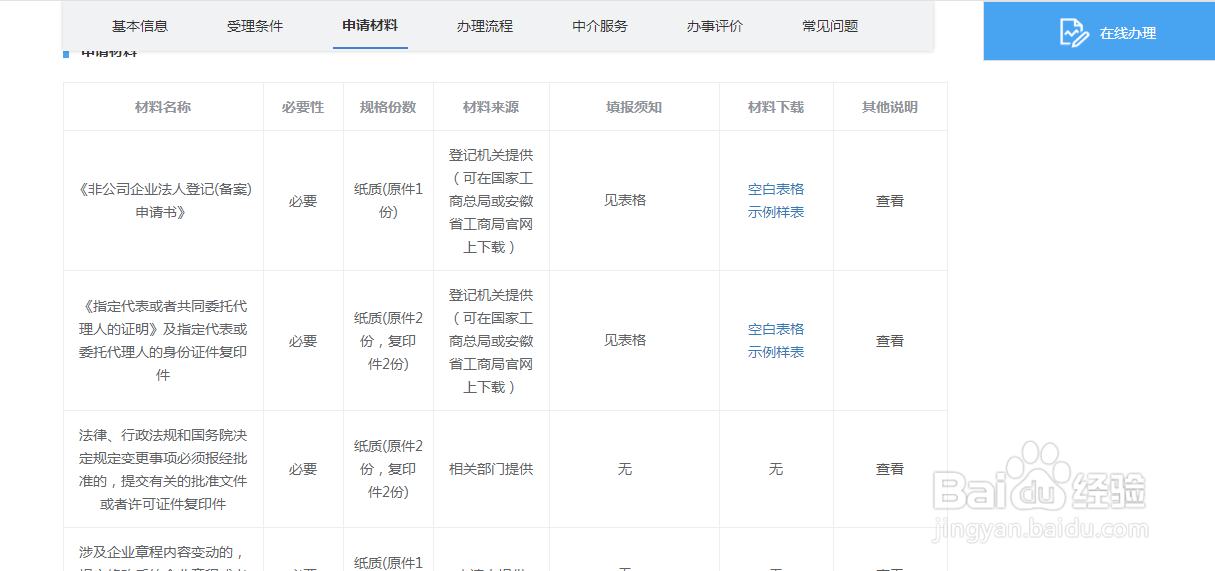
3、点击营业执照变更窗口,查看需要准备的材料。

4、点击右上角的新办

5、在弹出的对话框内输入你的企业的具体信息,随后上传需要准备的材料即可

6、变更好的营业执照会在规定的工作日内寄到或者现场取到你的手中
声明:本网站引用、摘录或转载内容仅供网站访问者交流或参考,不代表本站立场,如存在版权或非法内容,请联系站长删除,联系邮箱:site.kefu@qq.com。