琴行怎么排课
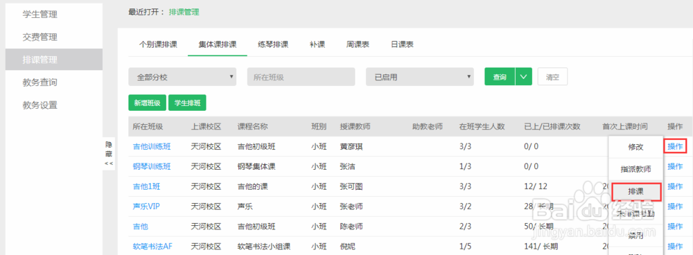
1、进入帮你教管理系统,点击教务-排课管理-集体课排课-新增班级

2、输入班级名称、选择上课分校、课程类别、课程科目、课程名称等,补齐信息后保存即可

3、添加班级学生,选择已购买课程的学生

4、为该班级进行排课操作

5、先选择对应的老师

6、排课,在课程表空白的地方,右击鼠标,点击新增

7、设置排课的要求,课程时间、有效期、周数等

8、确定排课后,在课程表上可以看到该课程(老师和学生都可以看到)

1、进入帮你教管理系统,点击教务-排课管理-个别课排课-选择未排课的学生

2、先给该学生指派老师

3、再为该学生进行排课操作

4、在课程表空白处右击鼠标,选择新增

5、设置课程有效期、周数、上课时间等后点击确定

6、排课成功,课程表上自动显示该课程(老师和学生都可以看到)

声明:本网站引用、摘录或转载内容仅供网站访问者交流或参考,不代表本站立场,如存在版权或非法内容,请联系站长删除,联系邮箱:site.kefu@qq.com。
阅读量:143
阅读量:126
阅读量:29
阅读量:133
阅读量:38