指南生活
首页
美食营养
手工爱好
生活家居
返回
指南生活
首页
美食营养
游戏数码
手工爱好
生活家居
健康养生
运动户外
职场理财
情感交际
母婴教育
时尚美容
知识问答
生活知识
生活百科
搜索
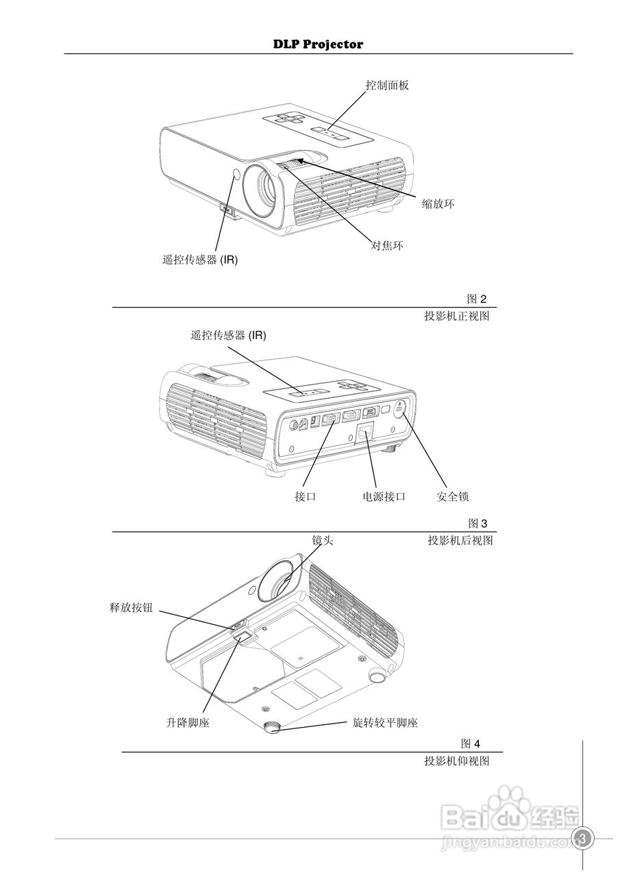
雅图ACTO DX125投影机使用说明书:[1]
2026-04-21 23:21:57
本篇为《雅图ACTO DX125投影机使用说明书》,主要介绍该产品的使用方法以及常见故障解决方案。
(共篇)
下一篇:
声明:
本网站引用、摘录或转载内容仅供网站访问者交流或参考,不代表本站立场,如存在版权或非法内容,请联系站长删除,联系邮箱:site.kefu@qq.com。
相关推荐
雅图ACTO DX125投影机使用说明书:[2]
阅读量:102
雅图ACTO DX125投影机使用说明书:[4]
阅读量:147
雅图ACTO DX128投影机使用说明书:[4]
阅读量:25
雅图ACTO DX123投影机使用说明书:[3]
阅读量:136
投影机的安装与调试
阅读量:192
猜你喜欢
什么是空调病
施保利通片的作用
什么是职务犯罪
运动会宣传
知识产权律师事务所
用盐水洗脸有什么好处
我能为你做些什么
初一英语知识点
知识树模板
松花粉的功效与作用及食用方法
猜你喜欢
attack什么意思
今晚香港开什么码
丁香的功效与作用
磨豆腐什么意思
议论文开头的作用
黄山毛峰的功效与作用
人参的作用
安徽有什么旅游景点
酷锐运动分销平台
猫须草的功效与作用