指南生活
首页
美食营养
手工爱好
生活家居
返回
指南生活
首页
美食营养
游戏数码
手工爱好
生活家居
健康养生
运动户外
职场理财
情感交际
母婴教育
时尚美容
知识问答
生活知识
生活百科
搜索
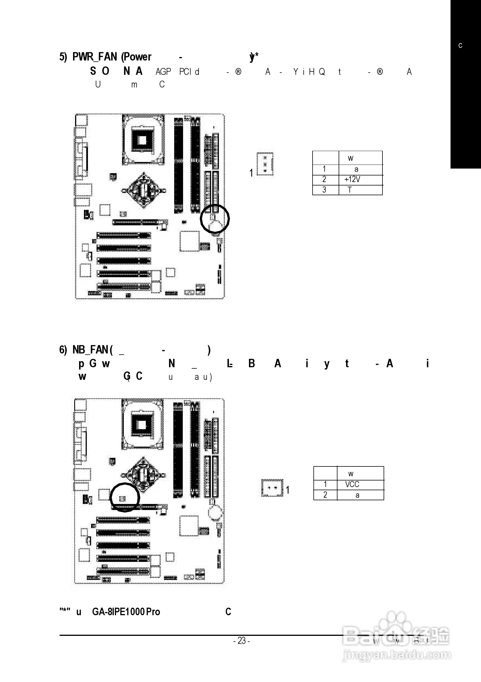
技嘉 GA-8IPE1000 (Rev 1.x)主板说明书:[3]
2026-04-25 09:08:27
本篇为《技嘉 GA-8IPE1000 (Rev 1.x)主板说明书》,主要介绍该产品的使用方法以及常见故障解决方案。
(共篇)
上一篇:
|
下一篇:
声明:
本网站引用、摘录或转载内容仅供网站访问者交流或参考,不代表本站立场,如存在版权或非法内容,请联系站长删除,联系邮箱:site.kefu@qq.com。
相关推荐
技嘉 GA-8IPE1000 (Rev 1.x)主板说明书:[8]
阅读量:183
技嘉 GA-8IPE1000 (Rev 1.x)主板说明书:[5]
阅读量:111
技嘉主板bios设置固态硬盘启动
阅读量:90
技嘉 GA-8IPE1000 (Rev 1.x)主板说明书:[4]
阅读量:96
技嘉 GA-8IPE1000 (Rev 1.x)主板说明书:[11]
阅读量:120
猜你喜欢
压力mpa是什么意思
猴和什么生肖最配
https是什么意思
黄疸是什么意思
看病人送什么花
afford什么意思
宫颈糜烂是什么症状
icu病房是什么意思
李连杰得了什么病
电脑黑屏是什么原因
猜你喜欢
蟹爪兰的养殖方法和注意事项
爱情观是什么
无责任底薪是什么意思
c站是什么
刚怀上几天有什么感觉
不得而知是什么意思
prepare是什么意思
运动会加油稿50字集合
block什么意思
什么是公历