节流阀工作原理
1、性能要求
对节流阀的性能要求是:·流量调节范围大,流量一压差变化平滑;
·内泄漏量小,若有外泄漏油口,外泄漏量也要小;
·调节力矩小,动作灵敏。
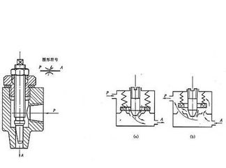
节流阀(Choke valve)的外形结构与截止阀并无区别,只是它们启闭件的形状有所不同。节流阀的启闭件大多为圆锥流线型,通过它改变通道截面积而达到调节流量和压力。节流阀供在压力降极大的情况下作降低介质压力之用。
介质在节流阀瓣和阀座之间流速很大,以致使这些零件表面很快损坏-即所谓气蚀现象。为了尽量减少气蚀影响,阀瓣采用耐气蚀材料(合金钢制造)并制成顶尖角为140~180的流线型圆锥体,这还能使阀瓣能有较大的开启高度,一般不推荐在小缝隙下节流。
节流阀的特点
1、构造较简单,便于制造和维修,成本低。2、调节精度不高,不能作调节使用。
3、密封面易冲蚀,不能作切断介质用。
4、密封性较差。

2、主要分类
节流阀按通道方式可分为直通式和角式两种;按启闭件的形状分,有针形、沟形和窗形三种。
可调节节流阀:阀针和阀芯采用硬质合金制造,产品按API6A标准设计,具有耐磨、耐冲刷性能。主要用于井口采油(气)树设备,
滑套式节流阀:阀芯采用低噪音平衡型结构,开启轻便,产品按API6A标准设计,阀芯表面覆盖碳化钨,适合于有闪蒸、高压差,高压力,空化等条件苛刻的场合,使用寿命长,流量调节精度大大提高。适用于石油,天然气,化工,炼油,水电等行业。


3、安装维护
节流阀的安装与维护应注意以下事项:
该阀经常需要操作,因此应安装在易于方便操作的位置上。
安装时要注意介质方向与阀体所标箭头方向保持一致。

4、节流口堵塞原因:
1、油液中的机械杂质或因氧化析出的胶质、沥青、碳渣等污物堆积在节流缝隙处。
2、由于油液老化或受到挤压后产生带电的极化分子,而节流缝隙的金属表面上存在电位差,故极化分子被吸附到缝隙表面,形成牢固的边界吸附层,吸附层厚度一般为5~8微米,因而影响了节流缝隙的大小。以上堆积、吸附物增长到一定厚度时,会被液流冲刷掉,随后又重新附在阀口上。这样周而复始,就形成了流量的脉动。
3、阀口压差较大时,因阀口温度高,液体受挤压的程度增强,金属表面也更易受摩擦作用而形成电位差,因此压差大时容易产生堵塞现象。

5、防范措施
1、选择水力半径大的薄刃节流口。
2、精密过滤并定期更换油液。
3、适当减小节流口前后的压差。
4、采用电位差较小的金属材料、选用抗氧化稳定性好的油液、减小节流口表面粗糙度。

6、应用领域
由于节流阀的流量不仅取决于节流口面积的大小,还与节流口前后的压差有关,阀的刚度小,故只适用于执行元件负载变化很小且速度稳定性要求不高的场合。
对于执行元件负载变化大及对速度稳定性要求高的节流调速系统,必须对节流阀进行压力补偿来保持节流阀前后压差不变,从而达到流量稳定
