指南生活
首页
美食营养
手工爱好
生活家居
返回
指南生活
首页
美食营养
游戏数码
手工爱好
生活家居
健康养生
运动户外
职场理财
情感交际
母婴教育
时尚美容
知识问答
生活知识
生活百科
搜索
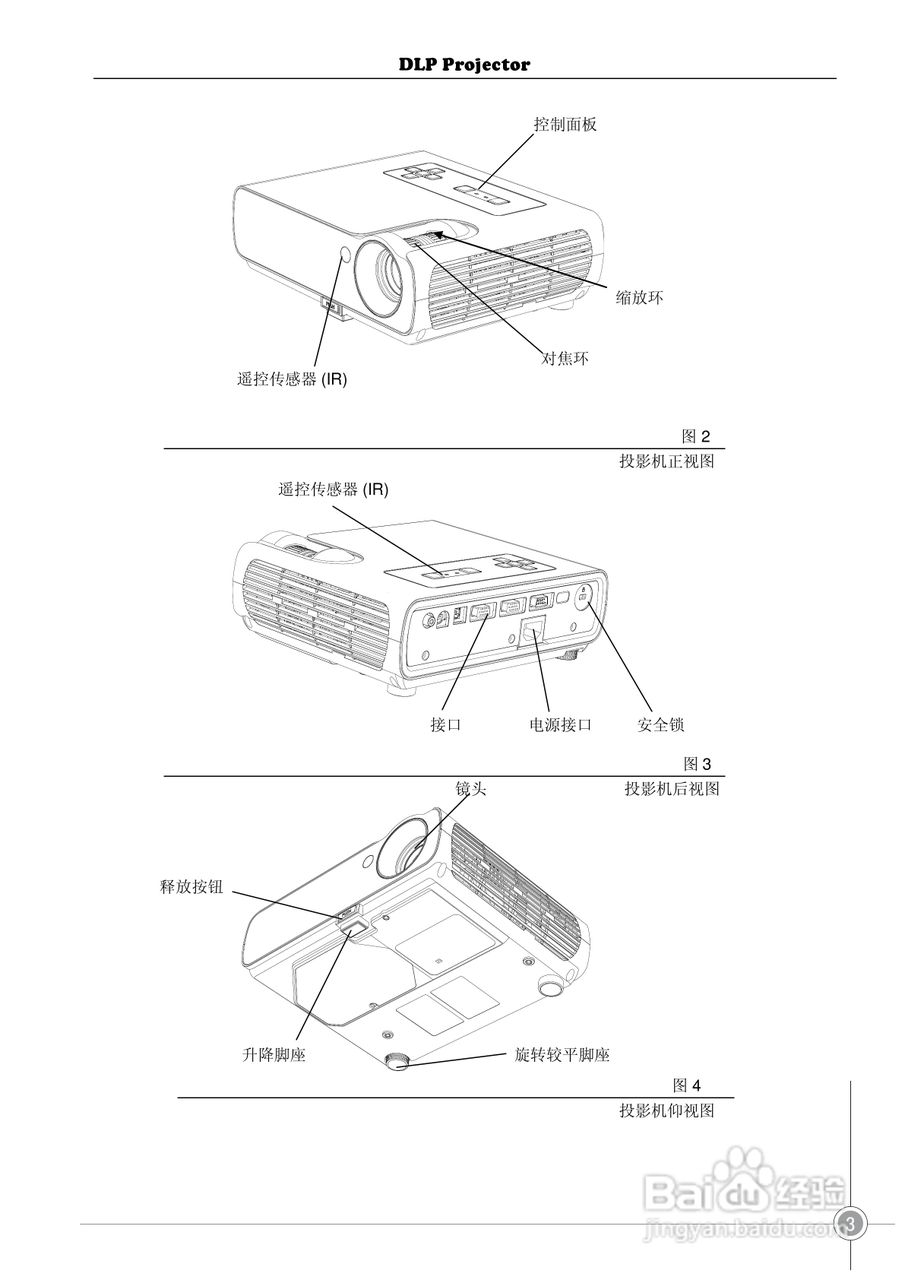
雅图ACTO DX120投影机使用说明书:[1]
2026-04-15 14:06:52
本篇为《雅图ACTO DX120投影机使用说明书》,主要介绍该产品的使用方法以及常见故障解决方案。
(共篇)
下一篇:
声明:
本网站引用、摘录或转载内容仅供网站访问者交流或参考,不代表本站立场,如存在版权或非法内容,请联系站长删除,联系邮箱:site.kefu@qq.com。
相关推荐
超市防盗门禁灵敏度调节方法
阅读量:156
三招测试方法区分18650电池的好坏
阅读量:32
双开怎么接线呢?
阅读量:122
洗衣机排水牵引器怎么安装
阅读量:62
怎么在小度商城获取新人优惠券?
阅读量:72
猜你喜欢
感冒怎么办
手相怎么看
小米粥怎么煮
骉怎么读
书签怎么做
勺子用英语怎么说
science怎么读
凉拌茄子的家常做法
海子为什么卧轨
为什么 歌词
猜你喜欢
陕西肉夹馍的做法
韭菜盒子的做法
乳头为什么是黑色的
芒果果冻的做法
马为什么站着睡觉
白萝卜怎么做好吃
carrot怎么读
加油站为什么不能打手机
鲍鱼怎么做好吃
眩晕症是怎么引起的