指南生活
首页
美食营养
手工爱好
生活家居
返回
指南生活
首页
美食营养
游戏数码
手工爱好
生活家居
健康养生
运动户外
职场理财
情感交际
母婴教育
时尚美容
知识问答
生活知识
搜索
索尼CCD-TRV312模拟摄像机说明书:[8]
2025-12-18 06:44:58
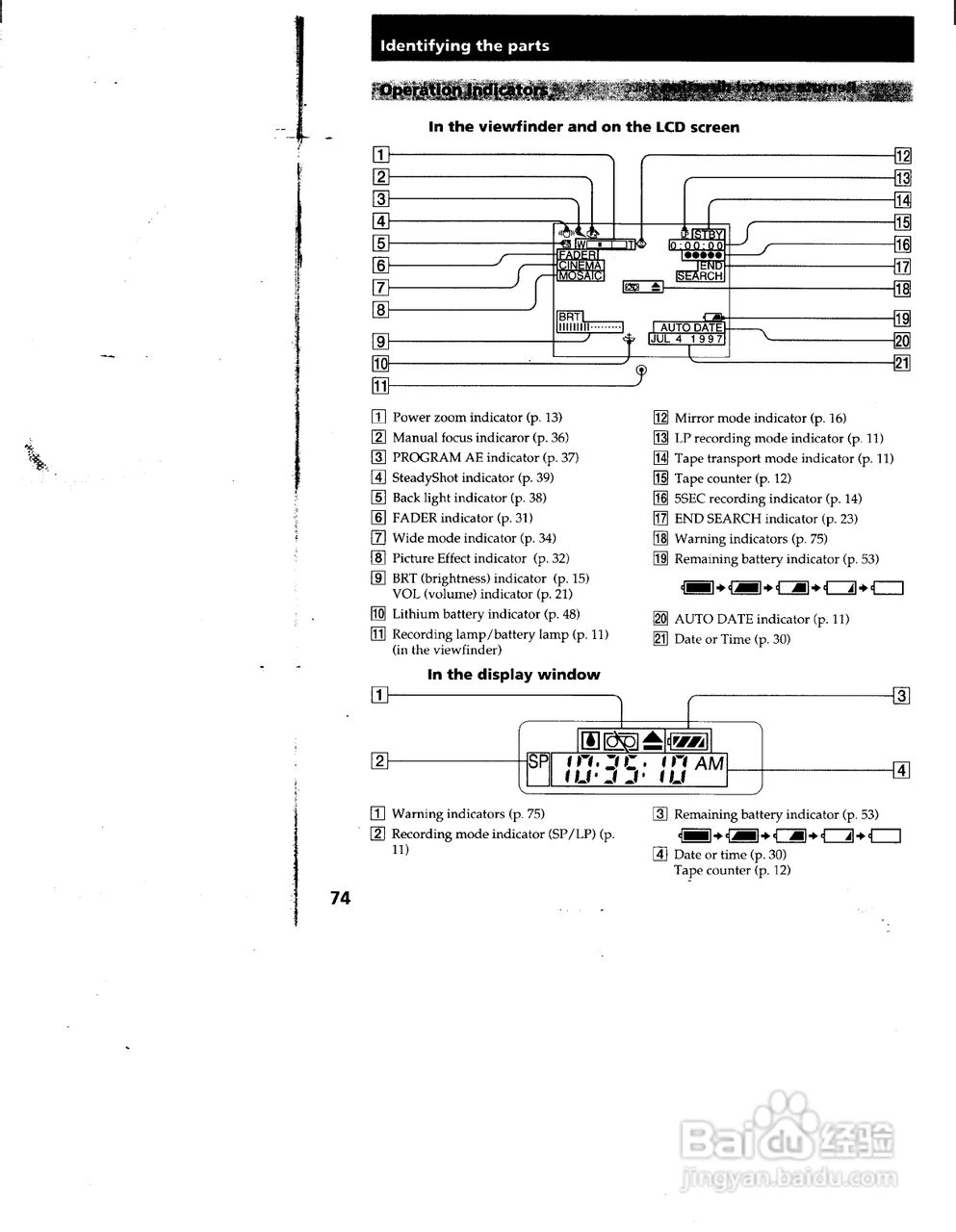
本篇为《索尼CCD-TRV312模拟摄像机说明书》,主要介绍该产品的使用方法以及常见故障解决方案。
(共篇)
上一篇:
声明:
本网站引用、摘录或转载内容仅供网站访问者交流或参考,不代表本站立场,如存在版权或非法内容,请联系站长删除,联系邮箱:site.kefu@qq.com。
相关推荐
索尼CCD-TRV312模拟摄像机说明书:[3]
阅读量:52
索尼CCD-TRV315模拟摄像机说明书:[8]
阅读量:106
索尼CCD-TRV315模拟摄像机说明书:[3]
阅读量:156
索尼CCD-TRV315模拟摄像机说明书:[6]
阅读量:192
模拟摄像机和网络监控摄像机画面嵌入网页直播
阅读量:64
猜你喜欢
墙上挂画怎么安装
如何判断怀孕
褒义词和贬义词是什么意思
电脑音响没声音怎么办
小腹隐隐作痛是什么原因女性
如何选车牌号
怎么美白脸
职业年金如何发放
奥杜尔老一怎么单刷
done是什么意思
猜你喜欢
如何添加网络打印机
孕妇睡不着觉怎么办
感性是什么意思
如何查找文件
壁虎在家里是什么征兆
外贸开发信怎么写
如果我忘了怎么爱你是什么歌
从深圳怎么去澳门
生活是多么广阔
如何怀上孕