指南生活
首页
美食营养
手工爱好
生活家居
返回
指南生活
首页
美食营养
游戏数码
手工爱好
生活家居
健康养生
运动户外
职场理财
情感交际
母婴教育
时尚美容
知识问答
生活知识
生活百科
搜索
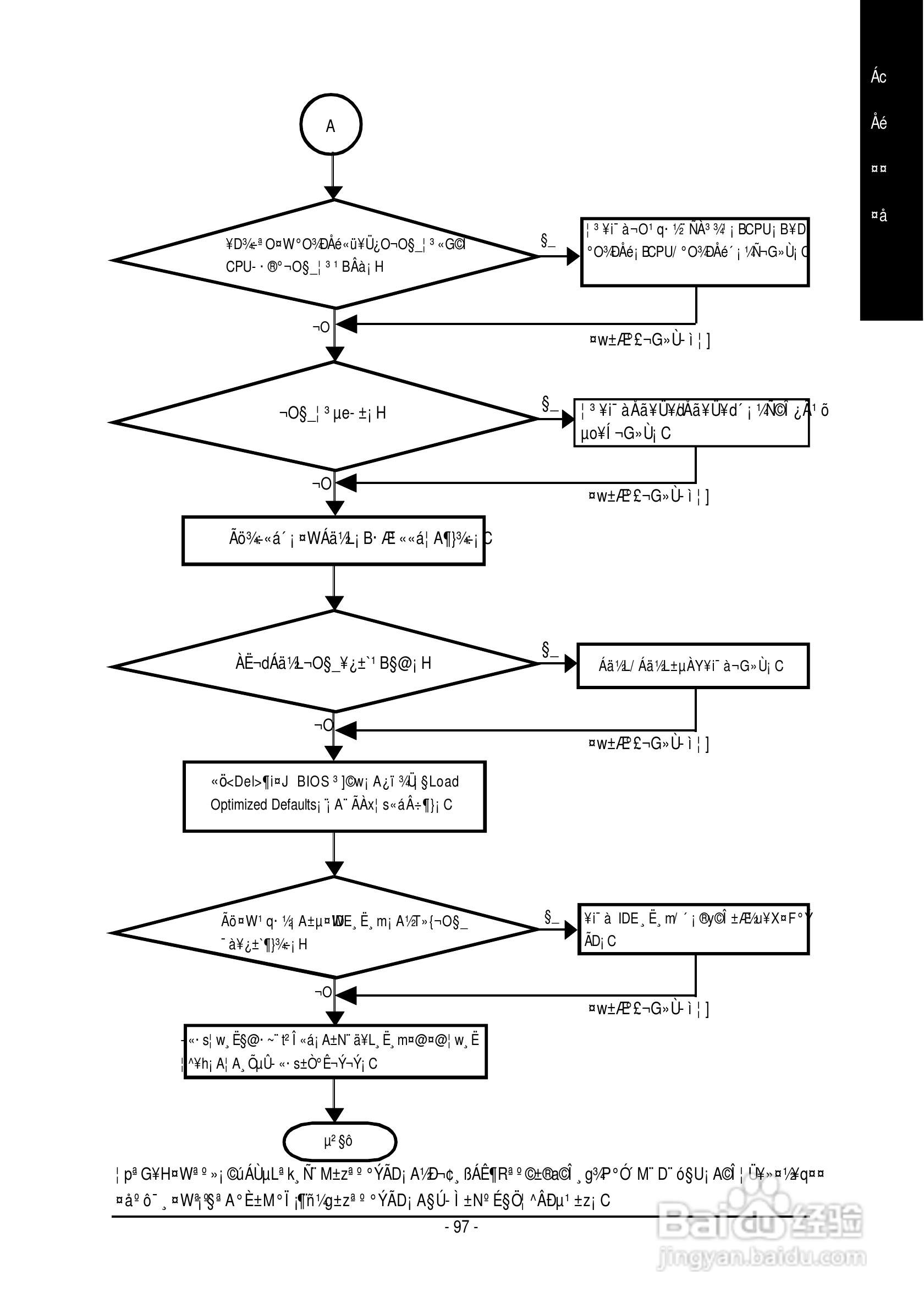
技嘉 GA-8I865GVMK主板说明书:[11]
2026-03-31 01:57:38
本篇为《技嘉 GA-8I865GVMK主板说明书》,主要介绍该产品的使用方法以及常见故障解决方案。
(共篇)
上一篇:
|
下一篇:
声明:
本网站引用、摘录或转载内容仅供网站访问者交流或参考,不代表本站立场,如存在版权或非法内容,请联系站长删除,联系邮箱:site.kefu@qq.com。
相关推荐
技嘉 GA-8I865GVMK主板说明书:[8]
阅读量:50
技嘉 GA-8I865GVMK主板说明书:[7]
阅读量:20
技嘉主板bios升级教程
阅读量:29
技嘉主板怎么进bios
阅读量:144
技嘉主板bios设置固态硬盘启动
阅读量:45
猜你喜欢
致1500米运动员加油稿
少年先锋队知识
凤尾草的功效与作用
三白汤的功效与作用
防煤气中毒安全知识
木薯的功效与作用
绿色和什么颜色搭配
生姜水的功效与作用
点睛之笔的意思什么
沟通的作用
猜你喜欢
庆余年第二季什么时候播出
氨糖的功效与作用
桑寄生的功效与作用
雷贝拉唑钠肠溶胶囊的功效与作用
冰心原名什么
生姜的作用
十滴水的功效与作用
运动摄像机
做寿司用什么米
碘酊的作用