指南生活
首页
美食营养
手工爱好
生活家居
返回
指南生活
首页
美食营养
游戏数码
手工爱好
生活家居
健康养生
运动户外
职场理财
情感交际
母婴教育
时尚美容
知识问答
生活知识
生活百科
搜索
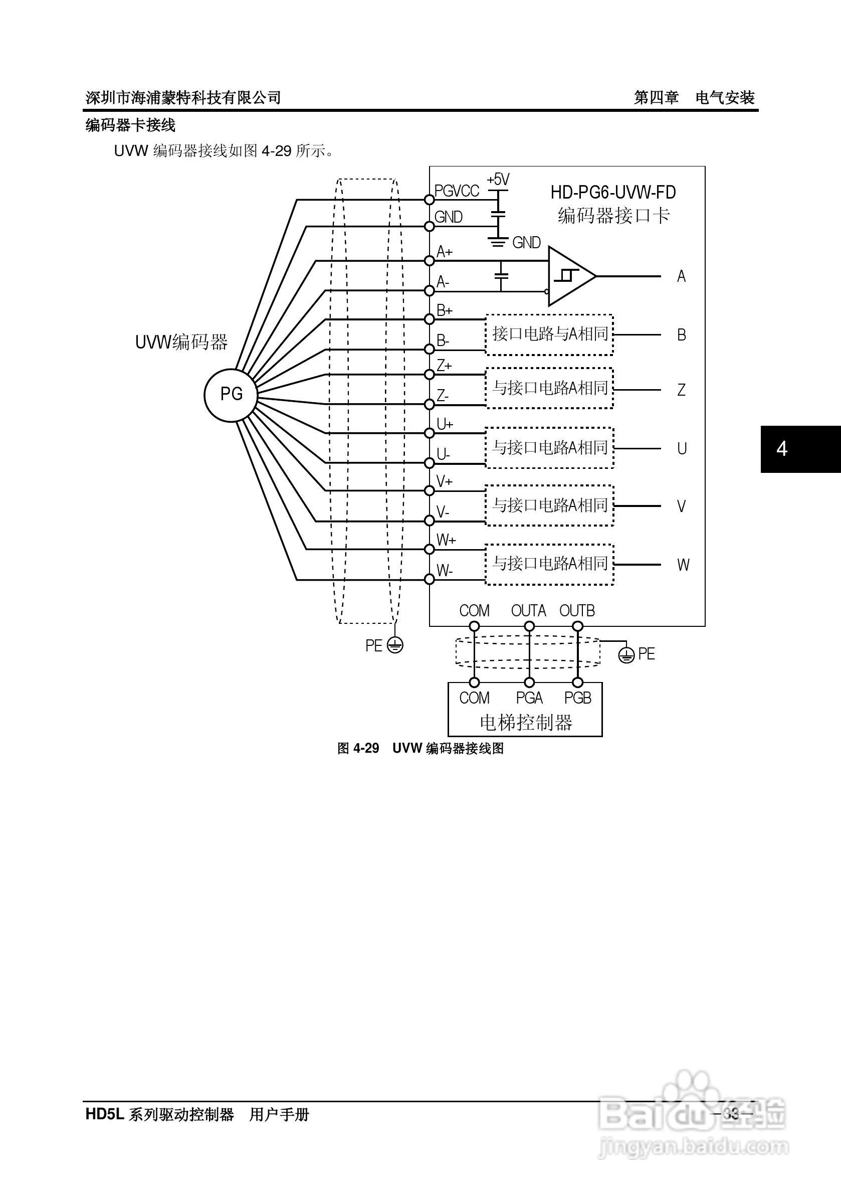
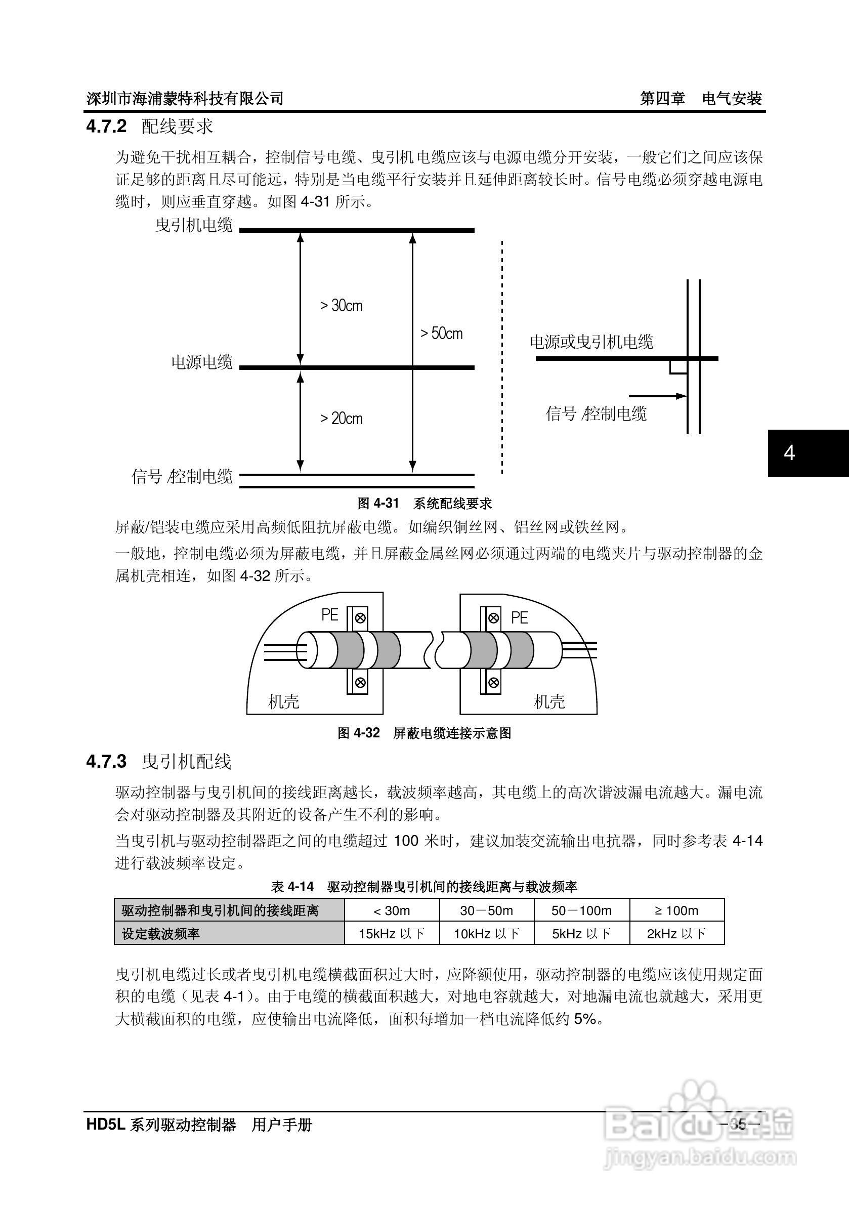
海浦蒙特HD5L-4T045电梯专用驱动控制器用户手册:[5]
2026-06-01 04:47:44
本篇为《海浦蒙特HD5L-4T045电梯专用驱动控制器用户手册》,主要介绍该产品的使用方法以及常见故障解决方案。
(共篇)
上一篇:
|
下一篇:
声明:
本网站引用、摘录或转载内容仅供网站访问者交流或参考,不代表本站立场,如存在版权或非法内容,请联系站长删除,联系邮箱:site.kefu@qq.com。
相关推荐
海浦蒙特HD5L-4T045电梯专用驱动控制器用户手册:[14]
阅读量:41
海浦蒙特HD5E-4T037扶梯专用驱动控制器用户手册:[5]
阅读量:124
海浦蒙特HD5E-4T037扶梯专用驱动控制器用户手册:[2]
阅读量:137
海浦蒙特HD5E-4T037扶梯专用驱动控制器用户手册:[1]
阅读量:174
控制器暂停功能的实现步骤
阅读量:157
猜你喜欢
饺子怎么包
熊掌的做法
麻豆腐的做法
工作单位怎么填
炖鸽子汤的做法大全
火山小视频怎么赚钱
肾囊肿是怎么回事
我的世界怎么玩
鸡肝怎么做好吃
明太鱼炖豆腐的做法
猜你喜欢
second怎么读
找不到工作怎么办
五香酱牛肉的做法
带鱼怎么做好吃又简单
酱牛肉的做法大全
苹果手机怎么下载视频
怎么进入路由器设置界面
炖猪蹄的做法大全
买股票怎么开户
小孩咳嗽怎么治最有效