指南生活
首页
美食营养
手工爱好
生活家居
返回
指南生活
首页
美食营养
游戏数码
手工爱好
生活家居
健康养生
运动户外
职场理财
情感交际
母婴教育
时尚美容
知识问答
生活知识
生活百科
搜索
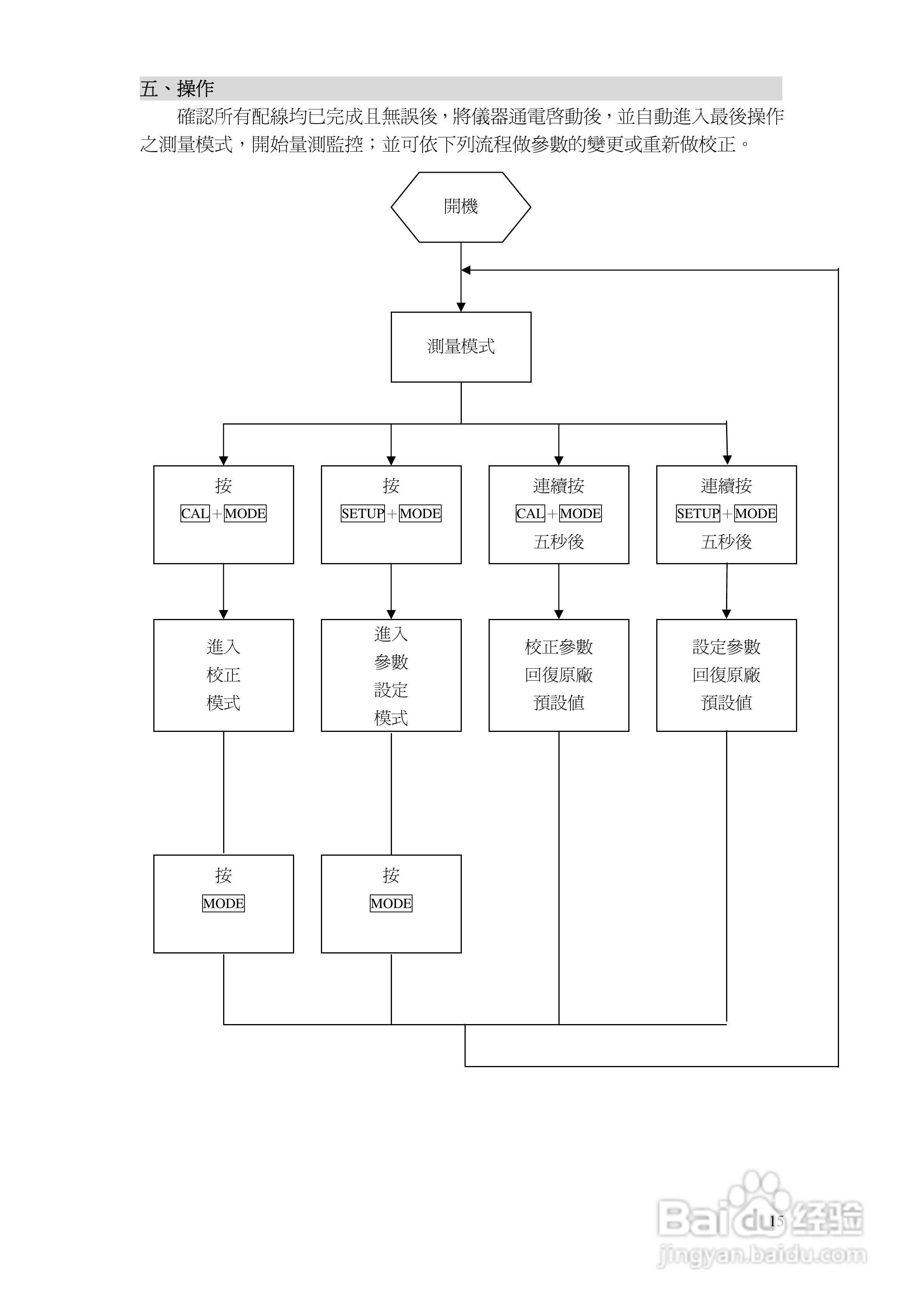
上泰PC100/110微电脑pHORP监示器操作手册:[2]
2026-05-08 22:33:25
本篇为《上泰PC100/110微电脑pHORP监示器操作手册》,主要介绍该产品的使用方法以及常见故障解决方案。
(共篇)
上一篇:
|
下一篇:
声明:
本网站引用、摘录或转载内容仅供网站访问者交流或参考,不代表本站立场,如存在版权或非法内容,请联系站长删除,联系邮箱:site.kefu@qq.com。
相关推荐
象棋技巧之卧马摇铃(车马篇)
阅读量:117
微信小游戏中国象棋残局三国演义第340关攻略
阅读量:110
天天象棋:三国演义338关智取三城怎么过
阅读量:160
象棋解残局第三十九关过关攻略
阅读量:76
博雅象棋残局攻略:渐入佳境第三十八关解法
阅读量:30
猜你喜欢
什么茶叶好喝
温水煮青蛙是什么意思
什么是头寸
pu什么意思
我行我素是什么意思
ss14是什么二极管
快要gc前是什么感觉
ah是什么意思
大便干结是什么原因
gms是什么意思
猜你喜欢
material什么意思
林蛙养殖
一件什么的事作文
tokyo是什么意思
猝不及防是什么意思
大学运动会通讯稿
动车是什么意思
什么是微博
汽车mt是什么意思
石榴花什么时候开