指南生活
首页
美食营养
手工爱好
生活家居
返回
指南生活
首页
美食营养
游戏数码
手工爱好
生活家居
健康养生
运动户外
职场理财
情感交际
母婴教育
时尚美容
知识问答
生活知识
搜索
技嘉 GA-8IG1000 Pro-G主板说明书:[3]
2025-12-30 20:24:58
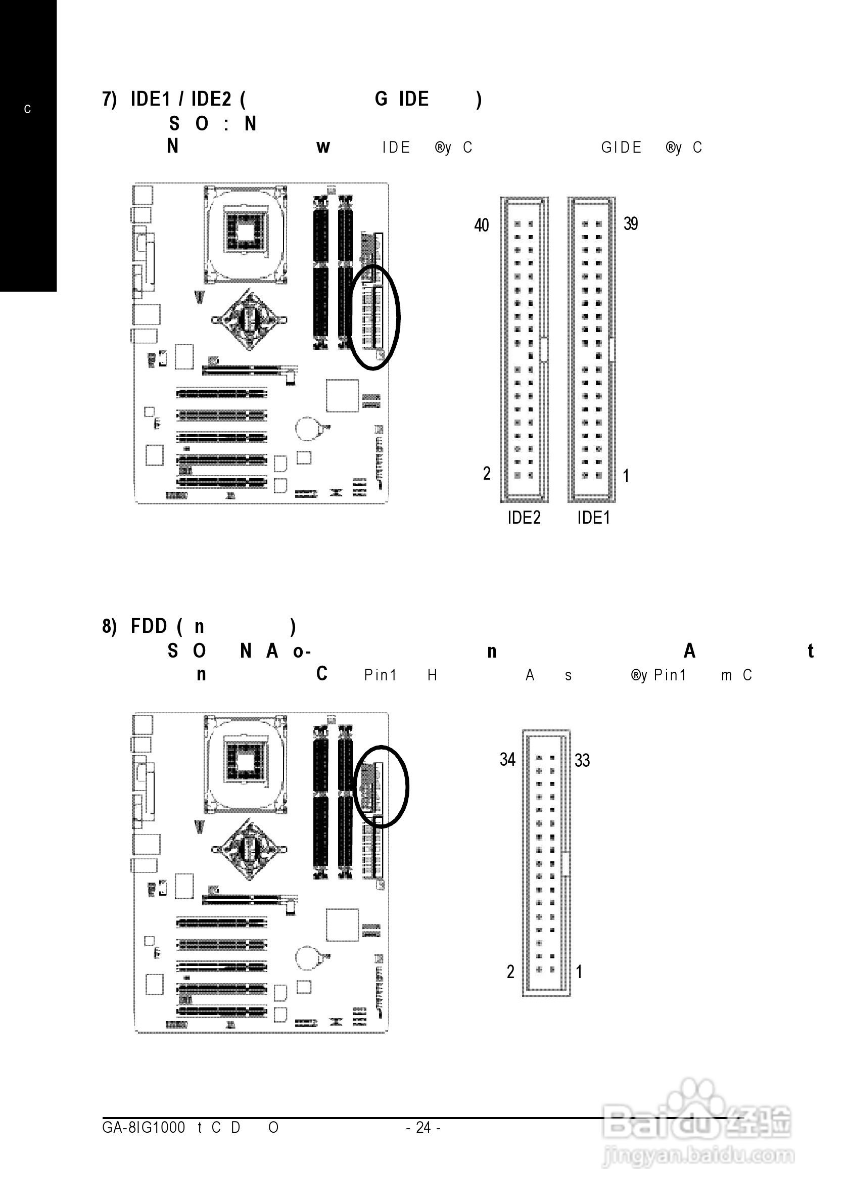
本篇为《技嘉 GA-8IG1000 Pro-G主板说明书》,主要介绍该产品的使用方法以及常见故障解决方案。
(共篇)
上一篇:
|
下一篇:
声明:
本网站引用、摘录或转载内容仅供网站访问者交流或参考,不代表本站立场,如存在版权或非法内容,请联系站长删除,联系邮箱:site.kefu@qq.com。
相关推荐
技嘉 GA-8IG1000 Pro-G主板说明书:[8]
阅读量:41
技嘉 GA-8IG1000 Pro-G主板说明书:[10]
阅读量:139
技嘉主板bios升级教程
阅读量:53
技嘉主板如何设置内存频率
阅读量:89
技嘉主板怎么进bios
阅读量:69
猜你喜欢
违章扣12分怎么处理
面包虫怎么繁殖
网上写小说怎么赚钱
网盘怎么用
一字眉怎么画
尿道炎怎么治
痤疮是怎么引起的
通心粉怎么做
怎么断奶既快又不涨
华为手机截图怎么截
猜你喜欢
宝宝不吃奶粉怎么办
苹果笔记本系统怎么用
苹果手机怎么设置来电视频
萝卜丸子怎么做
电脑无法开机怎么办
守望先锋怎么下载
东北电力大学怎么样
怎么延长性生活时间
腐乳肉怎么做
华泰证券怎么样