指南生活
首页
美食营养
手工爱好
生活家居
返回
指南生活
首页
美食营养
游戏数码
手工爱好
生活家居
健康养生
运动户外
职场理财
情感交际
母婴教育
时尚美容
知识问答
生活知识
搜索
DeviceNet Z906安全网络控制器操作手册(中文):[6]
2025-12-30 16:29:35
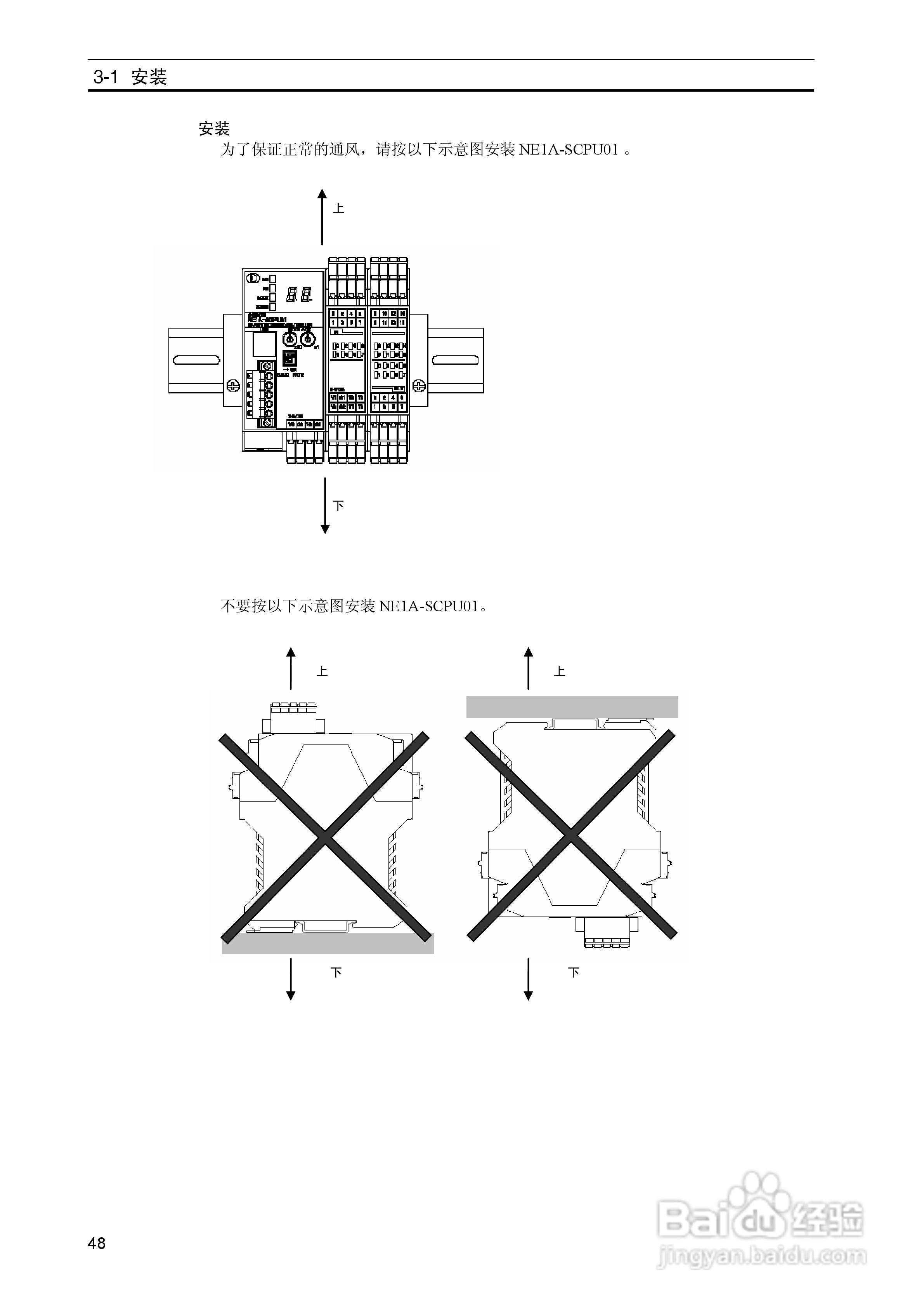
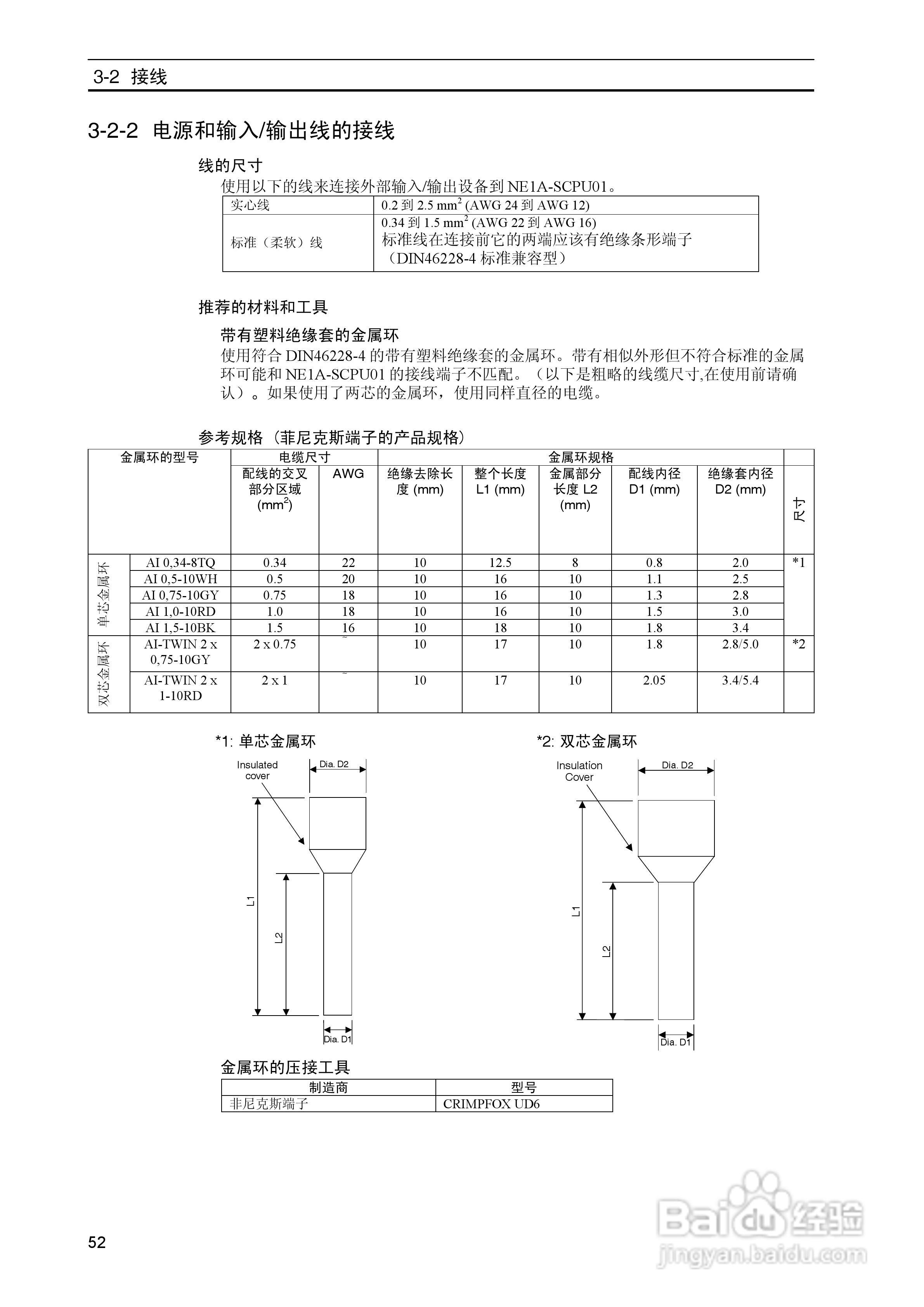
本篇为《DeviceNet Z906安全网络控制器操作手册(中文)》,主要介绍该产品的使用方法以及常见故障解决方案。
(共篇)
上一篇:
|
下一篇:
声明:
本网站引用、摘录或转载内容仅供网站访问者交流或参考,不代表本站立场,如存在版权或非法内容,请联系站长删除,联系邮箱:site.kefu@qq.com。
相关推荐
DeviceNet Z906安全网络控制器操作手册(中文):[10]
阅读量:105
DeviceNet Z906安全网络控制器操作手册(中文):[17]
阅读量:153
网络控制器更新驱动程序
阅读量:188
实现PROFIENT 与DeviceNet 网关配置步骤
阅读量:65
DeviceNet Z906安全网络控制器操作手册(中文):[13]
阅读量:153
猜你喜欢
儿歌大全
退烧的方法
隐藏文件怎么找出来
怎么样才能让月经快点来
建议书怎么写
怎么画粽子
停牌的股票怎么办
干香菇怎么泡
申论怎么复习
眉毛少怎么办
猜你喜欢
怎样煲鸡汤好吃
蝴蝶兰的养殖方法和注意事项
vocabulary怎么读
田园诗词大全100首
teamviewer怎么用
痛经怎么解决
社会研究方法
营销方案怎么写
胎儿脐带绕颈一周怎么办
网上赚钱方法