指南生活
首页
美食营养
手工爱好
生活家居
返回
指南生活
首页
美食营养
游戏数码
手工爱好
生活家居
健康养生
运动户外
职场理财
情感交际
母婴教育
时尚美容
知识问答
生活知识
生活百科
搜索
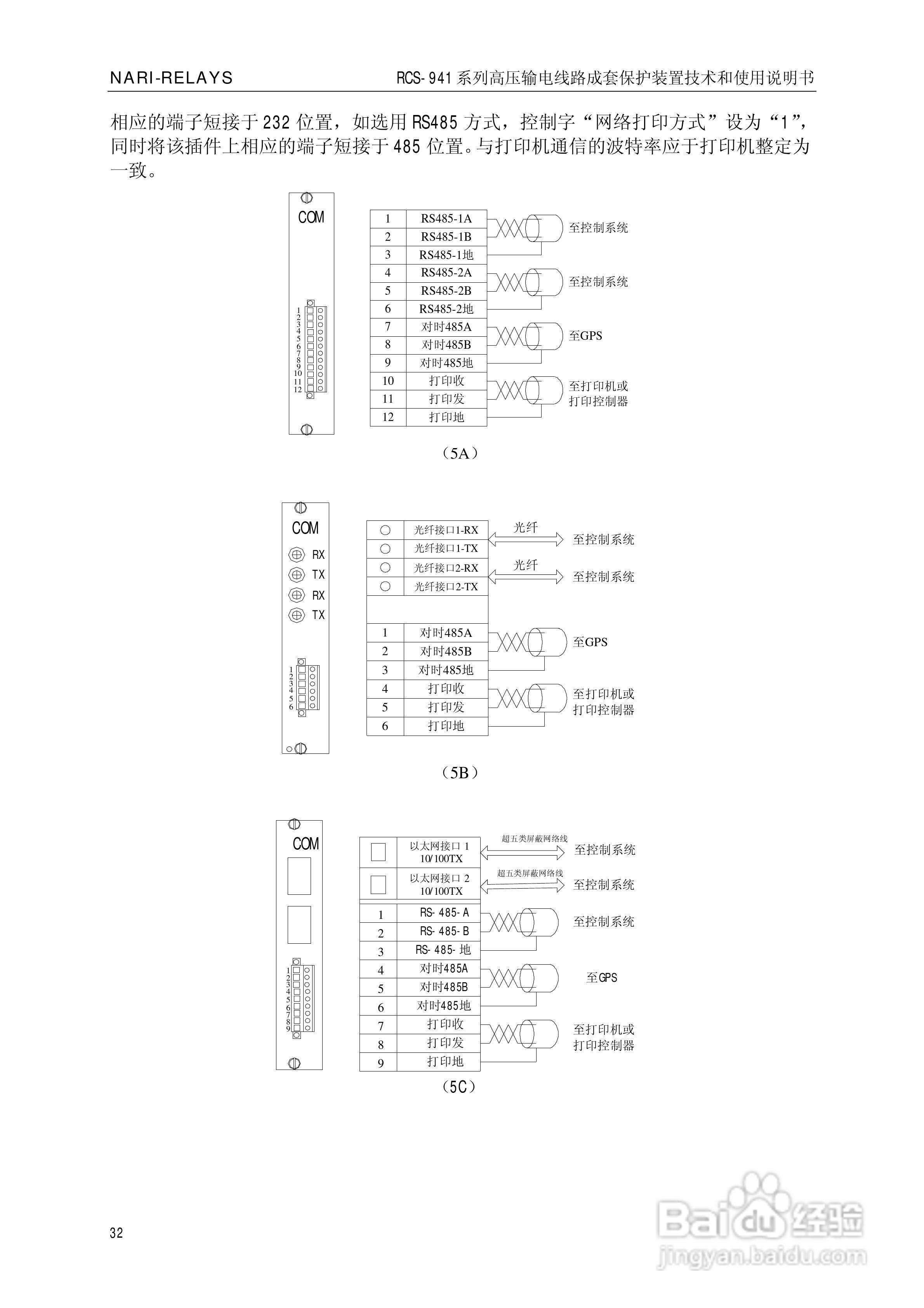
南瑞RCS-941AZ高压输电线路成套保护装置使用说明书:[4]
2026-03-28 06:54:19
本篇为《南瑞RCS-941AZ高压输电线路成套保护装置使用说明书》,主要介绍该产品的使用方法以及常见故障解决方案。
(共篇)
上一篇:
|
下一篇:
声明:
本网站引用、摘录或转载内容仅供网站访问者交流或参考,不代表本站立场,如存在版权或非法内容,请联系站长删除,联系邮箱:site.kefu@qq.com。
相关推荐
南瑞RCS-941AZ高压输电线路成套保护装置使用说明书:[2]
阅读量:117
南瑞RCS-941AZ高压输电线路成套保护装置使用说明书:[6]
阅读量:22
南瑞RCS-943L型高压输电线路成套保护装置技术说明书:[4]
阅读量:186
南瑞RCS-931EN超高压线路成套保护装置使用说明书:[1]
阅读量:146
南瑞RCS-943L型高压输电线路成套保护装置技术说明书:[3]
阅读量:66
猜你喜欢
干鳗鱼怎么做好吃
芦荟的养殖方法
治脚气的方法
吉祥物图片大全
脸上痤疮的治疗方法
家族群名称大全
体癣最好的治疗方法
南天竹的养殖方法
海尔燃气热水器怎么样
诗歌大全100首
猜你喜欢
鸡杂怎么做好吃
炒莲藕怎么做好吃
短发怎么打理好看
说明文方法及作用
平菇怎么做好吃
去眼袋的方法
怎么制作名片
aabc式的词语大全
天龙八部视角怎么调远
调节情绪的方法