指南生活
首页
美食营养
手工爱好
生活家居
返回
指南生活
首页
美食营养
游戏数码
手工爱好
生活家居
健康养生
运动户外
职场理财
情感交际
母婴教育
时尚美容
知识问答
生活知识
搜索
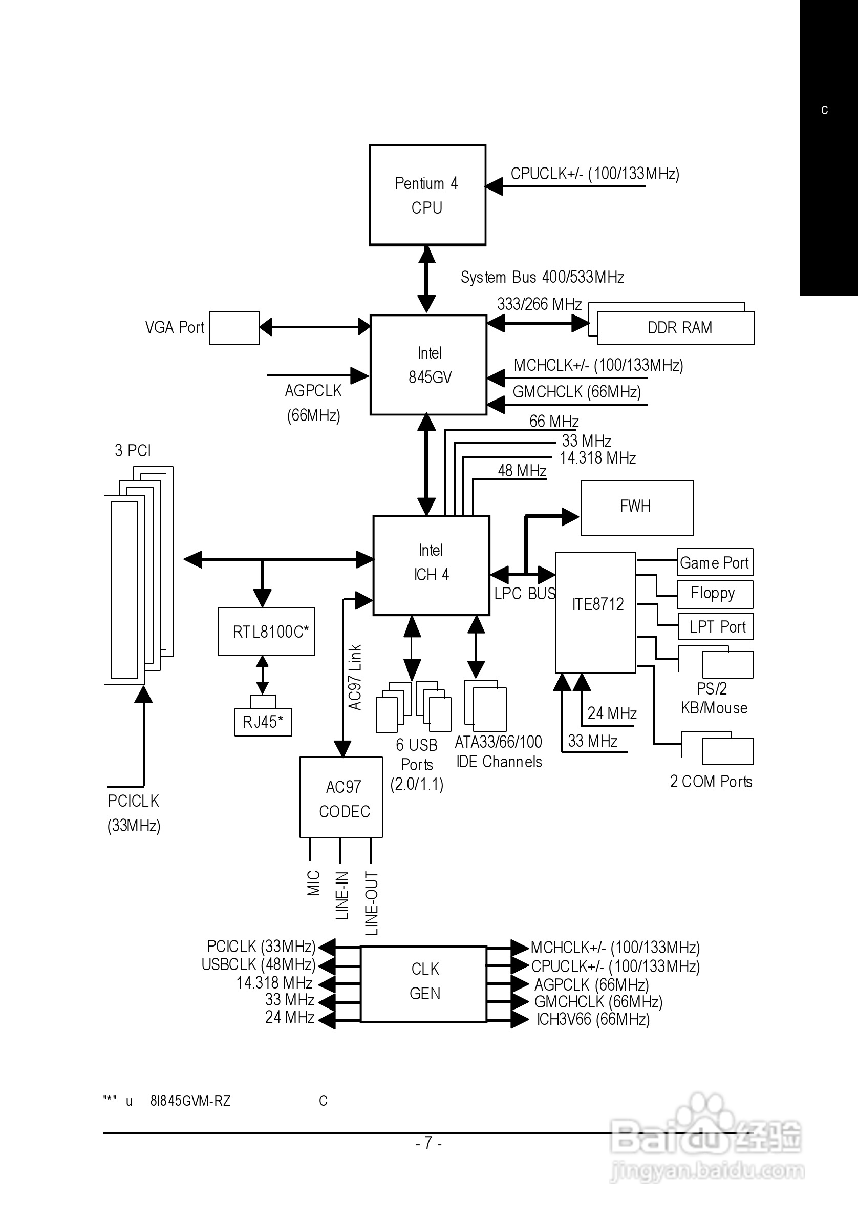
技嘉 8I845GVM-RZ-C主板说明书:[1]
2025-12-20 16:00:02
本篇为《技嘉 8I845GVM-RZ-C主板说明书》,主要介绍该产品的使用方法以及常见故障解决方案。
(共篇)
下一篇:
声明:
本网站引用、摘录或转载内容仅供网站访问者交流或参考,不代表本站立场,如存在版权或非法内容,请联系站长删除,联系邮箱:site.kefu@qq.com。
相关推荐
技嘉 8I845GVM-RZ-C主板说明书:[2]
阅读量:162
技嘉 8I845GVM-RZC主板说明书:[1]
阅读量:144
技嘉 GA-8I845GVM-775主板说明书:[7]
阅读量:181
技嘉 8S648-RZ-C主板说明书:[1]
阅读量:52
技嘉 8S661FXMP-RZ主板说明书:[1]
阅读量:73
猜你喜欢
白芨的功效与作用
酸枣的功效与作用
冬瓜皮的功效与作用
有什么电视剧好看
xps用什么软件打开
香椿的功效与作用
加油站安全知识
西瓜子的功效与作用
长宽高用什么字母表示
爱问知识人共享资料
猜你喜欢
confirm什么意思
薄荷的功效与作用
杏仁有什么作用和功效
新生儿喝什么奶粉好
有眼袋由什么引起的
代赭石的功效与作用
白木耳的功效与作用
女生大专学什么专业好
血三七的功效与作用
白水晶的功效与作用